青岛大学是一所很特殊的学校,在这所学校集齐了医学、师范等热门学科。
为什么?
青岛大学是1993年由原青岛大学、山东纺织工学院、青岛医学院、青岛师范专科学校等合并组建而成。
因此学校有集合了医学、师范等等热门学科专业。
最重要的这几年青岛大学的录取分数也是一直在上涨:
比如河南省的录取分数已经连续四年上升。
到底是什么让青岛大学录取分数节节攀升,到底是是地方好,还是实力强?
青岛市,山东省经济最强,总是被调侃为山东省的省会。
青岛,虽不是山东的省会城市,但知名度在国内旅游城市排行中遥遥领先。
它是国际性港口城市、是中国帆船之都、是亚洲最佳航海城、是世界啤酒之城、是联合国“电影之都” 、是东北亚国际航运枢纽、是海上体育运动基地,数不清的美誉与名誉,令青岛先后荣获“中国十大美好生活城市”、“2020中国最具幸福感城市”。
新一线城市研究所发布《2022城市商业魅力排行榜》,2022年新一线城市依次是:成都、重庆、杭州、西安、武汉、苏州、郑州、南京、天津、长沙、东莞、宁波、佛山、合肥和青岛。
由此可见,青岛市这的是不可多得好地方呀!
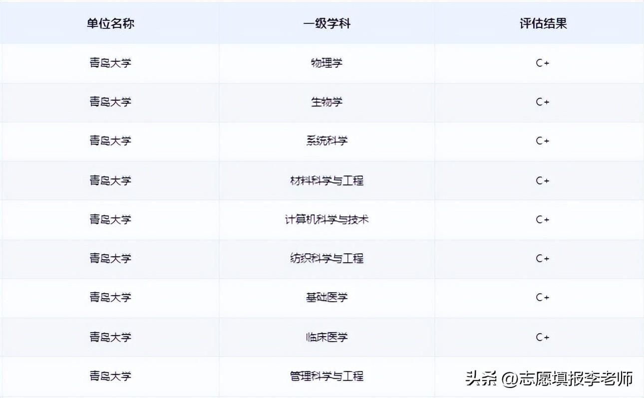
青岛大学的学科实力在教育部第四轮学科评估中可见一斑:虽然单科不突出,但是上榜学科多!
青岛大学师范类专业:物理、化学
青岛大学医学类专业:基础医学、临床医学
青岛大学工科类专业:计算机科学与技术
等等专业都教育部C+学科。
这样的学科实力,也是厉害了吧!
同时,青岛大学拥有国家重点学科2个:眼科学、生理学(培育);山东省重点学科20个,山东省一流学科8个。
综合来看,青岛大学的地方非常好,学科实力也不错!
不过,我们也要看到,最近几年在山东省强省会政策下青岛市是有些吃亏的,不过,这种政策能持续多久呢?
目前来说,青岛大学也是山东省除了985和211之后分数最高的学校。
不过,我所了解到的情况,青岛大学这两年的发展确实有所滞后,学生评价也不怎么高,在网上吐槽的学生也是一波接一波。
不过,对于外省人来说,可能也关注不到这些一手信息了。
这样的青岛大学,
明年分数会不会继续上涨呢?
版权声明:我们致力于保护作者版权,注重分享,被刊用文章【青岛大学国际学院(青岛大学)】因无法核实真实出处,未能及时与作者取得联系,或有版权异议的,请联系管理员,我们会立即处理! 部分文章是来自自研大数据AI进行生成,内容摘自(百度百科,百度知道,头条百科,中国民法典,刑法,牛津词典,新华词典,汉语词典,国家院校,科普平台)等数据,内容仅供学习参考,不准确地方联系删除处理!;
工作时间:8:00-18:00
客服电话
电子邮件
beimuxi@protonmail.com
扫码二维码
获取最新动态
