2021年,对于国内很多高校来说,都是收获之年。
几乎所有的本科院校,都收获了新一轮的一流本科专业建设点;还有部分高校奋斗多年,终于如愿以偿成为博士学位授权单位,还有的在原有基础上新增多个博士点。至于科研评比、学生竞赛,更是喜讯频传,佳音不断。
小编认为,在所有的高校中,杭州电子科技大学属于收获最为丰厚的那一类。获批集成电路科学与工程、数学、信息与通信工程三个一级学科博士授权点,其中的集成电路科学与工程是18个全国首批集成电路科学与工程一级学科博士学位授权点之一。如果大家看一下新增“集成电路科学与技术”一级学科博士学位授权点名单,就会明白对于杭州电子科技大学来说,这是多么巨大的殊荣。
杭州电子科技大学是一所什么样的高校,居然能够与北大、清华这样的名校,以及北京邮电大学、南京邮电大学、电子科技大学、西安电子科技大学这样的老牌专业院校一道,成为集成电路博士点为全国首批“十八罗汉”之一?
每个高校,对于自己都有一个定位。
就杭州电子科技大学来说,官网给出的定位是:一所电子信息特色突出,经管学科优势明显,工、理、经、管、文、法、艺等多学科相互渗透的教学研究型大学。这样的定位,当然不是学校凭空说说就是了,而是有着雄厚的实力和长期的积淀。
说到实力的话,杭州电子科技大学是浙江省首批重点建设的5所高校之一,是省属高校中唯一拥有国防特色重点专业的高校,入选国家“111计划”,设下沙、文一、东岳、下沙东及青山湖等5个校区,占地面积2500余亩;教职工2400余人,专任教师1700余人,正高职称350余人,具有博士学位教师1300余人。其中院士3人;设有9个一级学科博士点,4个博士后科研流动站,19个一级学科硕士点,18个专业学位硕士点,具有硕士推免权和雅思考点;获国家科技进步二等奖4项、国家发明二等奖2项、国家自然科学奖二等奖1项。
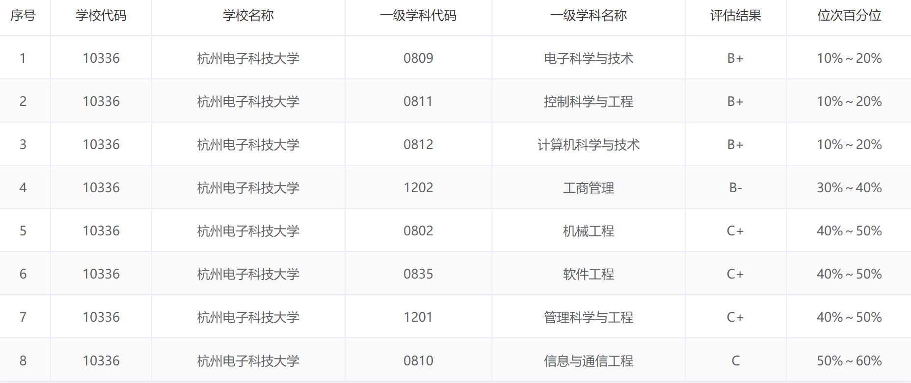
特别是在第四轮学科评估中,该校电子科学与技术、控制科学与工程、计算机科学与技术3个学科获得B+,位居全国高校前20%。前20%自然不难,内地的一些矿业院校的安全类学科,甚至能走得更远。但是,电子科学与技术、控制科学与工程、计算机科学与技术属于常见和热门学科,对于一所“双非”院校来说,想要获得前20%的成绩,似乎没有那么容易。君若不信,可以看看进入前20%的都是一些什么样的高校,大家可能就会明白一二。
取得这样的成绩,当然与杭州互联网经济发达有关,但也有历史积淀的因素。杭州电子科技大学走过了一条不同寻常的发展之路,隶属关系、所属行业都在不断变化,最终才成为一所电子信息类高校。
杭州电子科技大学之所以在工学之外,强调经管学科优势明显,那是因为1956年成立之初该校就名为杭州航空工业财经学校,而后历经杭州航空工业学校、浙江电机专科学校、浙江机械工业学校、杭州无线电工业管理学校、杭州无线电工业学校等时期,1980年才正式改建升格为杭州电子工业学院。20多年后,也就是2003年原杭州出版学校整体并入,此后一年即2004年更名为杭州电子科技大学。更名大学之后,曾隶属于第二机械工业部、第四机械工业部、电子工业部、信息产业部,2000年实行浙江省与信息产业部共建、以浙江省管理为主的办学管理体制,2007年成为省部共建高校,2015年被列为浙江省重点建设高校。
对于准本科生朋友来说,对这些可能并不看重。
因为就知道这个“双一流”她又不在其列,其他方面不甚了解,特别想知道就业和毕业生收入情况。不要急,接下来我们就要说毕业生就业和升学的话题了。
首先说明一点,以下所说的数据和有关提法,都来自于杭州电子科技大学的2021年度毕业生就业质量报告,以及2020—2021学年本科教学质量报告。
我们先来看一下学校对于自己毕业生就业情况的总体看法,根据杭州电子科技大学2021年度毕业生就业质量报告有关内容。该校众多校友成为阿里巴巴、中芯国际、京东方、中电熊猫、海信、创维、厦门宏发、北信源等国内电子企业的领军人物,据统计全国 IT 百强企业中有近三分之一的掌门人为该校校友,据第三方调查显示,该校毕业生的起薪率、职业稳定性、国内外升学率、对母校的忠诚度等方面指标均处于省内领先地位,被誉为“IT 企业家摇篮”和“卓越会计师沃土”。至于大家更为关心的毕业生初次就业率和考取研究生的比例在浙江省属高校中一直名列前茅,是“全国普通高等学校毕业生就业工作先进集体”“全国毕业生就业典型经验高校”。
具体到2021届本科毕业生,毕业生 3927 人,男生共计 3543 人,女生共计 1745 人,男女性别比约为 2.03:1。截止到 2021 年, 2021届本科毕业生毕业去向落实率为 95.03%,毕业生最多以“签就业协议”、“升学”两种形式实现就业。从专业角度讲,该校2021届本科毕业生分布在 61 个专业,其中传播学、工业设计、信息安全、社会学等 16个专业的毕业去向落实率达到 100%,实现完全就业。各专业具体情况,详见下图。
就业是一回事,就业后的薪资,作为一般人的我们更为关注。杭州电子科技大学对此进行了调研,该校2020届本科毕业生平均薪酬水平为 7178.32 元/月,比全省本科毕业生平均薪酬(5887.17 元/月)高 1291.15 元/月;分专业来看,生物医学工程和信息工程两个专业并列居于榜首,均为 9500 元/月。每个专业的薪资情况,小编也贴在下面,有兴趣的朋友可以认真研究研究。
从毕业去向率和2020届薪资平均水平来看,杭州电子科技大学毕业生就业情况的确不错。同时,还要看到该校毕业生主要在浙江本省工作,2021年继续位居“杭州市接收高校毕业生量第一高校”。
考研升学方面,杭州电子科技大学2021届本科毕业生中,共有 1299 人选择升学(含出国出境),升学率为 33.08%。其中,“本校”升学占比为 44.34%,升入“双一流院校”占比为 36.34%。据该校调研统计,本科选择升学的毕业生较多,近三届毕业生深造比例呈现上升态势,说明大家并没有因为就业好而躺平,仍然希望继续深造提升自己的竞争力。
有了这么好的就业情况,专业大部分也属于热门专业,录取分数自然低不了,杭州电子科技大学在全国30个省市区招生分数位居同类院校前列。我们以2021 年为例,来看看杭州电子科技大学的生源有多好。2021年,该校共录取普通本科新生 5188 人,生源质量稳中有升:浙江省的首段录取最低分和名次号名列省属同类高校第一,在 80%的省(市、区)投档线超过当地批次线 70 分以上,其中在辽宁、湖北 2 个省的投档分数线超过当地批次线 200 分以上;在浙江、安徽、山东、湖北、陕西等 17 个省(市)的投档分数线超过当地批次线 100 分以上。我校在浙江、河北、山西、辽宁、黑龙江、安徽、福建、江西、河南、湖北、湖南、广东、广西、海南、四川、陕西、甘肃 、青海、宁夏等 19 个省(市)的理科(含物理等选考科目类)招生专业首轮投档最低分位居省属同类高校第一,在河北、广东、福建、江苏、湖北、湖南、重庆、辽宁等 8 个省(市)首次进行新高考招生录取,取得较好成绩,录取分数在省属高校位居前列。
即使是很多人不愿意上的中外合作办学,录取情况似乎也不错:在浙江省的录取最低分达到 601 分,录取最低分位居省属高校的中外合作办学同类专业第一。在河南、山东、湖北、四川、辽宁、湖南、黑龙江等 13 个省(市)的投档线均超过当地批次线 70 分(含)以上。
对于学校来说是生源质量优异,对于考生来说就是要有个好成绩。例如,2021年高招,在浙江普通类最低需要602分,最低位次39890;中外合作办学只比普通类低1分达到601分,最低位次41435。
这都还是最低分和最低位次,可见上一个杭州电子科技大学真的没有那么容易,所以一定要把专业给选好了。
该校现有45个本科招生专业,18个专业入选国家级一流本科专业建设点,19个专业入选省级一流本科专业建设点,拥有2个国家级综合改革试点专业、6个教育部“卓越工程师教育培养计划”试点专业、7个国家级特色专业建设点、2个国防特色重点专业,是省属高校中唯一拥有国防特色重点专业的高校,8个专业通过工程教育专业认证。小编把每个专业的基本情况以图片形式放在下面,有兴趣的考生和家长朋友,可以对比毕业去向率、平均薪资那两张图片好好研究一下,为自己或者自己的孩子选择一个合适的专业。
小编要推荐的,依然是老规矩,即37个一流本科专业建设点相关专业。其中的18个国家级一流本科专业建设点专业是:机械设计制造及其自动化、测控技术与仪器、电子信息工程、通信工程、自动化、软件工程、网络工程、信息安全、信息管理与信息系统、会计学、信息与计算科学、车辆工程、电气工程及其自动化、电子科学与技术、集成电路设计与集成系统、计算机科学与技术、工商管理、财务管理。这18个专业,基本上都属于电子信息类专业和经管专业,可以说是该校专业中的精华,成绩好的考生最好从中选择自己喜欢的专业。
除此之外,还有19个省级一流本科专业建设点,值得考生和家长关注,分别是:金融学、统计学、信息对抗技术、法学、传播学、环境工程、英语、数学与应用数学、材料科学与工程、工业工程、产品设计、光电信息科学与工程、国际经济与贸易、社会学、医学信息工程、数字媒体技术、智能科学与技术、网络空间安全、数字媒体艺术。这18个专业相对就要杂一些,可以作为成绩中上等的考生重点考虑专业。
新一轮“双一流”名单已经公布,杭州电子科技大学依然不在此列。但是,小编相信未来几年,电子信息产业和互联网行业会继续快速发展,杭州电子科技大学毕业生就业和招生都不会受到太大影响。
有兴趣的考生,如果有足够出众的成绩,可以重点考虑一下这所特色显著的地方“双非”高校。
版权声明:我们致力于保护作者版权,注重分享,被刊用文章【杭州电子信息职业学校(杭州电子科技大学)】因无法核实真实出处,未能及时与作者取得联系,或有版权异议的,请联系管理员,我们会立即处理! 部分文章是来自自研大数据AI进行生成,内容摘自(百度百科,百度知道,头条百科,中国民法典,刑法,牛津词典,新华词典,汉语词典,国家院校,科普平台)等数据,内容仅供学习参考,不准确地方联系删除处理!;
工作时间:8:00-18:00
客服电话
电子邮件
beimuxi@protonmail.com
扫码二维码
获取最新动态
