银外外观
银川外国语实验学校坐落在银川中心城区,地处银川市的中轴线上(正源南街),邻银川宝湖文化公园。占地165亩,建筑总面积4500平方米。学校现有63个教学班,学生4520人,教职工226人,是银川市基础教育阶段规模最大的学校。
银川外国语学校常年与银川一中共建共营,2014年6月学校加入了银川一中教育发展合作共同体,双方共同签订了第二个十年合作发展协议,十五年的办学实践,学校积累了丰富的教育教学管理经验,实施专家治校和人文化管理,科学定位发展,瞄准“做强初中,做优高中”的目标,坚持走文化立校、特色兴校、质量强校发展之路。以 “创造适合学生的教育、为成功人生做准备”的办学理念为宗旨,努力提升教育品质,学校教学质量连年保持优异成绩,学校各项事业健康、持续的向前发展,形成具有一定特色的教育品牌。
学校性质:全日制民办
创办时间:2004年
学校面积:占地165亩,建筑总面积4500平方米
办学规模:63个班,约4520人
收费标准:学费4400元/学期, 住宿费1000元/学期(自选)。
学校校训:超越
联系电话:0951-862313
学校地址:宁夏回族自治区银川市金凤区宝湖西路50号
主要荣誉:
全国百强民办学校
全国百佳基础教育示范学校
自治区A级办学单位
自治区优秀家长学校
银川市文明单位
作为银川本地最好的民办初中,银川外国语实验学校是每年银川小升初最为炙手可热的学校,也是每年小升初竞争最为激烈的学校。
从近两年看,每年报考银外的学术数量成递增趋势,而每年录取数量相对固定,这就意味着接下来进入银外学习的难度会逐年增加,整个银外小升初竞争呈现愈发激烈的态势。录取率基本会在30%左右。
面试:
题目数量:8组谈话题目,每位学生只能抽1组
题目类型:每组题目包含语文、数学2道题,不考察英语
面试时长:每位面谈学生的时间控制在8分钟左右
考核标准:面谈现场实行打分制,分为A、B、C、D四个等次,每个等次还分为三个等级,语文题比较活,如果回答数学问题时,答案错误将直接进入C、D等次,且没有再面谈的机会。
纸笔情况:也会为学生提供笔,写问答提纲或填字、画图。
2017,2016年银外面试真题实例(私聊可获取哦)
分班:平行分班,无重点班
从面试题型来看,银外的语文面试题目主要考察孩子语言组织与表达,题目比较活,但本质是对句的考察。
重数学,且数学带有奥数思维(后期我会定期上传思维训练试题哦,记得关注我)。
虽然是平行分班,但成绩会有排名,排名靠前的学生老师的关注度更高
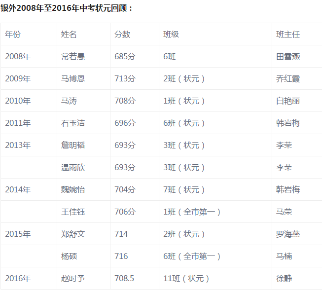
银外连续八年获得宁夏中考状元中高分最多、文化课平均分最高成绩,获得考上一、二、九、唐高中就学学生人数最多等成绩;连续八年重点高中录取率为平均94%(各班90%以上的学生均考入银川重点高中);连续八年数理化英语竞赛获得一、二、三等奖的人数超过2100人,获奖等次名列宁夏首位。2016年,中考前10名中银外占9名,600分以上学员共735人,达到自治区示范性高中录取线比例为85.8%,达到银川市普通高中录控线的比例为92.1%。更进一步的研究可以发现,银外的毕业生中,考入清华北大的占全宁夏被录取学生的50%,这在一定程度上也很能说明该校学生的实力。
银外历年中考佳绩
最后,还是感谢各位读者的关注,后续我会持续上传银川本地的升学政策以及各类考试详情解析,还有就是小学各年级数学思维训练的讲解,大家一定记得关注我哦……如果大家有银川本地学校的各类信息也欢迎私信投稿哦
版权声明:我们致力于保护作者版权,注重分享,被刊用文章【银川外国语学校(升学早知道)】因无法核实真实出处,未能及时与作者取得联系,或有版权异议的,请联系管理员,我们会立即处理! 部分文章是来自自研大数据AI进行生成,内容摘自(百度百科,百度知道,头条百科,中国民法典,刑法,牛津词典,新华词典,汉语词典,国家院校,科普平台)等数据,内容仅供学习参考,不准确地方联系删除处理!;
工作时间:8:00-18:00
客服电话
电子邮件
beimuxi@protonmail.com
扫码二维码
获取最新动态
