目 录
第一章 建筑给排水工程的概况
第二章 建筑给排水工程监理依据
第三章 给排水工程监理工作范围及目标
(一)、监理工作的范围
(二)、监理工作目标
第四章 建筑给排水工程监理重难点分析
(一)、建筑给排水工程难点分析
(二)、建筑给排水工程重点分析
第五章 建筑给排水工程监理工作流程
(一)、监理工作总流程
(二)、图纸会审及设计交底程序
(三)、施工组织设计审查程序
(四)、原材料质量控制程序框图
(五)、工序质量控制程序框图
(六)、分部工程质量控制程序框图
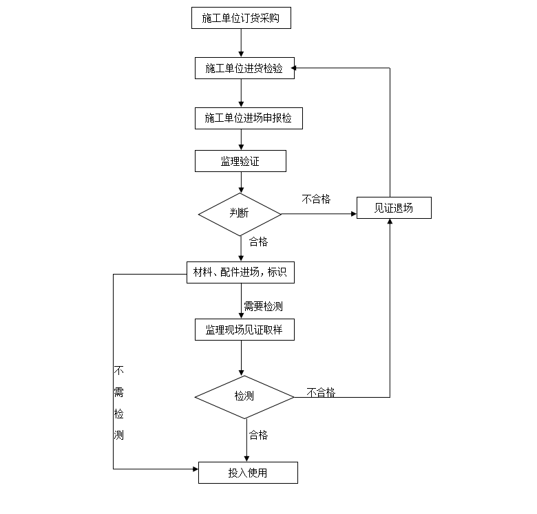
(七)、成品、半成品构配件及设备质量控制程序框图
(八)、设备安装工程监理工作程序
第六章 建筑给排水工程监理质量控制
(一)、 监理工作的方法及措施
(二)、 监理工作的控制要点及目标值
(三)、 给排水及水消防系统与各专业接口关系
(五)、 各关键分部分项样板段工程
第七章 建筑给排水工程监理进度控制
第八章 建筑给排水工程监理投资控制
第九章 建筑给排水工程监理安全管理
第十章 建筑给排水工程监理信息管理与协调
(一)、建筑给排水工程监理中的信息管理
(二)、建筑给排水工程监理中的现场协调
第十一章 监理人员组织架构
酒店项目位于虹桥天街项目南区,地处虹桥开发区域核心区域,东边比邻虹桥火车站及虹桥机场,均为正常运营当中;酒店西侧为申滨南路,南侧为甬虹路,北面为舟虹路,东侧为申长路;酒店部分地上9层加一个夹层,地下2层,公共绿地为全部为地库,地下2层。 酒店建筑面积:35186㎡;绿地建筑面积:5846㎡;地上建筑面积:18360㎡;地下建筑面积:22672㎡;无人防工程。
(一)、监理工作的范围
本标段监理范围为上海虹桥核心商务区一期05地块南区酒店工程的给排水及水消防水系统安装工程。
(二)、监理工作目标
按照建设单位与施工单位签订的施工合同、建设单位与监理单位签订的监理合同,对工程质量、进度、造价进行控制,做好合同管理和组织协调工作,力争使工程达到合同目标。
(一)、建筑给排水工程难点分析
1、土建施工阶段 钢筋混凝土工程作为高层建筑土建施工中最重要的工程,给排水管件的预埋工作常常被忽视,较易产生预留、预埋不准确或漏留、漏埋问题。建筑层数多、层高高度大,给水系统及热水系统中的静水压力很大,为保证管道及配件免受破坏,必须对给水系统和热水系统进行合理的竖向分区,加设减压设备以及中间和屋顶水箱,使系统运行完好。 2、地下室部分 部分设备一般都设计安装在地下室,设备管线非常多,很易出现矛盾冲突问题,导致设备使用功能受到严重影响,同时也降低了地下室的使用空间,影响使用。酒店工程对防噪声、防震等要求较高,但室内管道及设备种类繁多、管线长、噪声源和震源多,必须考虑管道的防震、防沉降、防噪声、防水锤、防管道伸缩变位、防压力过高等问题。 3、标准层部分 标准层及转换层建筑结构复杂,管道敷设起来较为困难,很容易出现排水管道堵塞、给排水管道漏水等问题,通过强化预留预埋工作,采用上封下开施工方法和分层分区安装,试压及样板层管理办法,可以有效解决上述问题。 4、监理控制方法 4.1、预留预埋 由于高层建筑大多都是框剪结构或筒体结构,预留预埋的套管、孔洞及管井的准确安装是保证施工质量的关键,它直接影响了厨卫管道的安装工作,同时也反应了管理人员的能力水平。因此,需要对施工图纸做到充分理解,熟悉设备、洁具、管道配件等的安装尺寸及安装工艺,综合利弊,对重点部位做专项设计,应对比结构尺寸绘制给排水预埋图和提前形成各楼层预留预埋统计表,每一处预留预埋完毕后对照统计表检查位置及数量,在保证位置准确的情况下,应对预留孔及预留套管周边加强振捣,保证振捣密实,避免套管周围出现孔洞造成绕渗并应在浇铸混凝土时及时纠正预留孔和套管的偏移。
4.2、样板层 做样板层的目的是确认标准层每层的管道安装形式、尺寸、位置和各类管道配件、支托架等得布置形式,卫生间洁具的定位尺寸等。在对样板层进行施工时,要进行合理设计,合理选用管道、支托架、管道配件和洁具等物品。样板层安装完成后应由建设单位、 设计单位、监理单位及其它有关单位共同点评验收。样板层能起到良好的示范效果,以后对其他楼层施工时参照样板层的数据或完全跟样施工,这样便于施工和检查,做到有据可依。
(二)、建筑给排水工程重点分析
1、管道施工 管井垂直管道配管前,进行实地测量,避免标高层楼累积误差,其要点原则是先排水, 后给水,先管井内侧,后管井外侧。 卫生间配管前,先找出面层基准线,洁具定位坐标,给排水管口位置,再进行配管。浴缸,混合器的嵌墙深度一次到位,出墙口及时加堵。对厨房,厕所,浴室等排水管安装前要核对相关图纸,如:施工图、结构图、建施图、厨房设备或洁具安装说明图以及其他有关设备图等,做到有的放矢,明确无误。 给水管安装要掌握吊顶高度,安装后要及时固定,未经试压,不准将嵌管隐蔽。 喷淋管分两次安装,第一次必须在吊顶前将水平横管安装到三通位置。第二次喷淋头配管在装饰吊龙骨安装顶板时穿插进行。 机房、泵房管道安装前详细检查设备本体管道进出口管径、标高、连接方法等情况,经验证无误方可配管。 近年来,给水管材多采用PP-R 管,排水管多采用UPVC 管,以上两种管材与传统金 属管道相比具有自重轻、耐腐蚀、耐压强度高卫生安全、水流阻力小、使用寿命长、安装方便等特点。PP-R 管材有热熔和螺纹连接等连接方式,其中热熔连接最为安全可靠;UPVC 管材应用排水胶粘接,粘接剂使用前需摇匀,粘接时严禁沾水。 2、试压 2.1、单体试压 从分层分区划出安装段的单体,各单体安装完后,按设计要求即时试压把不宜和管道一起试压的配件拆除,换上临时短管,管道的所有开口处都要封闭。用试压气囊从立管上部管口吊入管内,一到位置,充气,使气囊涨开,然后从上管口内充水,检查管道接口,如无渗漏, 管口液不下降为合格。 2.2、系统试压 系统试压应编制试压方案,并检查系统流程情况,单体试压记录等,试压人员分组,各组责任明确。各组人员配备通讯设备,以便联系。系统试压应遵循先总管,后干管,再支管的原则。系统试压时须考虑防患措施,发现异常,应立即中止,并配有及时泄水或排水的方案和设备。实验完成后当场验收办理,记录签字手续。
3、材料、工序质量控制 3.1、施工材料的质量直接影响到施工工程的质量,在进行具体施工操作前应先把好材料质量关,对进场材料进行抽检、试验,严禁不合格的产品进场,另对工人进行岗位技能培训,使工人熟悉关键部位操作方法,提高操作水平。
3.2、对于施工阶段的质量控制,针对工程的具体情况设置相应的质量控制点、停止点,并分清主次,重点控制。
3.3、在施工过程中严格执行隐蔽验收制度、工序验收制度,严格要求施工单位加强“三检”制度。
(一)、监理工作总流程
(二)、图纸会审及设计交底程序
(三)、施工组织设计审查程序
(四)、原材料质量控制程序框图
(五)、工序质量控制程序框图
(六)、分部工程质量控制程序框图
(七)、成品、半成品构配件及设备质量控制程序框图
(八)、设备安装工程监理工作程序
(一)、 监理工作的方法及措施
5.1.1工程质量控制原则
5.1.1.1以工程施工质量验收统一标准及验收规范等为依据,监督承包单位全面实现施工合同约定的质量目标。
5.1.1.2工程项目施工全过程实施质量控制,以质量预控为重点。
5.1.1.3对工程项目的人、机、料、法、环等因素进行全面的质量控制,督促承包单位的质量管理体系、技术管理体系和质量保证体系落实到位。
5.1.1.4严格要求承包单位执行有关材料、设备检验制度,坚持不合格的建筑材料、设备不准在工程上使用。
5.1.1.5坚持本工序质量不合格或未进行验收不予签认,不得进入下道工序施工。
5.1.2工程质量的事前控制
5.1.2.1审查施工单位的资质。开工前,各施工单位将本企业资质证明材料、质量保证体系、持证上岗人员岗位证书(包括管理人员岗位证书、操作人员工种证书等),现场施工作业人员必须进行三级教育。
5.1.2.2参与设计交底,了解建设单位对工程的要求。设计的主导思想,使用的设计规范,给排水设计的主要内容以及对施工的要求。施工单位应认真组织管理人员进行图纸会审,将影响工程质量、与其它专业图纸矛盾之处,尽可能提早发现。将审查的问题以书面形式上报建设单位和监理,设计交底后,施工单位应综合建设单位、监理单位各方意见后及时整改、汇总《设计交底记录》,并经各方会签,作为施工依据。
5.1.2.3施工组织设计或施工方案的审批。施工单位在开工前10天,根据施工总体方案、施工图纸和现场实际情况编写施工组织设计或施工方案,并由施工单位上级负责人审核、签认后报送监理审批,监理重点审查其施工布置是否合理,施工方法是否可行,质量保证体系是否健全,质量保证措施是否可靠,内容是否具有针对性。根据工程实际情况,重点分项,重点部位、关键工序还需编制专项施工方案。施工组织设计或施工方案经监理审查批准后方可实施。对各工序要求施工单位对工人技术交底,技术交底应有记录,并将《技术交底记录》报送监理备案。
5.1.2.4各项目划分要有书面记录。对项目划分的细节,特别是一些交叉点要明确职责范围,避免无人负责的地方出现。甲乙双方订货划分要有划分细目,对当时不能确定的设备,要有造型尺寸,保留预留,预埋的正确,避免事后大量的剔凿。
5.1.2.5对材料、设备严格把关,未报验或报验不合格的不得使用。材料的报验,必须有生产厂家的营业执照(生产许可证),质量监督检验机构的检验报告、材质证明、产品合格证。属于安全认证或强制认证的产品,必须有相应的认证证书。
5.1.2.6对设备生产厂家的资质必须与所订设备类型相符,各方认可后方可订货。
5.1.2.7设备的型号、规格、外观及内在质量必要符合设计及规范要求。
5.1.2.8在工程中使用的新材料、新设备、新产品必须有省部级相应的鉴定资料,并在使用工程中加强跟踪,及时反馈有关信息。
5.1.2.9各专业间要相互进行协调;对管道密集处,如强弱电井、设备区、公共走道等部位进行管路、桥架预排,并画出平面图、剖面图,以便在施工中进行控制。
5.1.2.10施工用设备、仪器、仪表等应满足连续施工或阶段性施工要求,仪器、仪表标志应齐全,并在检验有效期内使用。
5.1.3施工工程中的质量控制
5.1.3.1施工单位要严格按照设计图纸及有关规范施工,不得随意改动设计或降低标准。强制性标准必须执行,没有任何商量余地。施工单位在施工中如发现图纸错、漏、碰或按图施工困难,要及时建设单位或监理单位,商定处理意见并办理《设计变更、洽商记录》后方可继续施工。设计变更、洽商要按程序进行,,其内容必须符合有关规范、规程和技术标准。必须经设计、建设、监理签认后方可执行。
5.1.3.2施工单位必须健全内部质量检查制度,必须坚持“三检”制度,即对每一道工序实行“自检、互检、专检”,并有“三检”记录,上道工序不合格,不得进行下道工序施工。
5.1.3.3结构施工阶段,专业安装工程应紧密配合土建施工,服从整体施工进度安排,做好预埋,不得事后剔凿,不宜预埋的应预留孔洞或沟槽。
5.1.3.4核查工程预检。对工程预检,施工单位填写预检工程检查记录,报监理核查。监理对预检工程检查记录的内容到现场进行检查,对不合格的内容通知施工单位整改,并跟踪复查。
5.1.3.5隐蔽工程项目,凡敷设在现浇砼楼板、墙板、梁、柱、地面层内、吊顶 、轻质隔墙内等部位的部分,应按照图纸、规范要求进行检查,施工单位经检查合格后必须办理隐检手续,在三检的基础上向监理单位申报复验。经监理检查合格方可隐蔽
5.1.3.6给排水,卫生洁具安装、消火栓等系统,其技术要求、作法、数量等均进行核对,并与施工图纸相符合。
5.1.3.7经常对施工现场巡视检查,特别是对关键工序、重点部位加强巡视检查。如发现问题可口头通知施工单位进行整改或签发《监理通知单》,《监理通知单》的内容施工单位应及时处理,并用《监理通知回复单》书面回复整改情况。
5.1.3.8凡是需要监理单位核查,验收的工作,如材料、设备复验,检查工作预检,验收隐蔽工程,分项、分部工程验收,施工单位必须在检验前24小时之内以报验形式通知监理单位。施工核查、验收是施工阶段质量管理的重要组成部分,施工单位的施工负责人、质量检查员必须到现场并携带相关技术资料和必要的检验工具。对验收不合格工序、分项工程或进场物资,施工单位应及时处理,监理将视现场具体情况签发《不合格项处置记录》。不合格物资应清退进场,不合格的工序、分项工程承包单位必须整改,整改后经监理检查合格后方可进行下一道工序的施工。
(二)、 监理工作的控制要点及目标值
监理人员在施工阶段采取巡视、旁站、并通过事前控制、平行检查、工序报验等方式对各分项工程施工质量进行有效控制。
5.2.1主要工艺流程
(1)给水系统
(2)排水系统
5.2.2给水管安装施工质量控制要点:
本工程采用生活与消防独立的给水系统。室内生产、生活给水管采用钢塑管,卡箍连接,消防管采用热镀锌管,管径小于或等于50时,采用丝扣连接,管径大于50时,卡箍连接,室外埋地给水管采用球墨铸铁橡胶圈口。钢塑复合管、热镀锌管卡箍连接管件主要工艺流程如下:
(1)放线
①施工前检验材料、阀门、管材和管件均应符合施工设计图要求和国家现行有关标准的规定,并应有出厂合格证。
②严格按施工设计图要求进行放线。
(2)管道安装
①管子的压制
A、用切管机将管子按所需长度切割,切口应平整,端面应垂直于管轴线,误差不应超过外径的1.0%,且最大不超过2mm。
B、将需加工沟槽的管子水平架设在滚槽机和尾托架上;
C、将管子端面与滚槽机止推面贴紧,管轴线与滚槽机止推面呈90度。
D、启动滚槽机电机,同时缓慢压液压手柄,利用上、下压轮缓缓压出沟槽;
E、停止电机,用游标卡尺量测沟槽的深度和宽度,若不符合规范则重复步骤4~5,直至符合沟槽规范;
F、当沟槽的深度和宽度符合要求时,滚槽机卸荷,取出管子;
G、在滚槽机滚压沟槽过程中,严禁管子移位(纵向或角向移位)。
② 安装过程
卡箍连接管道安装图
A、将橡胶密封圈套上接口部位的一端端部;
B、将接口部位的另一端的管子、配件或附件靠近已套上橡胶密封圈的一端,两端的端部应留有间隙,间隙应符合标准要求;
C、移动橡胶密封圈,使橡胶密封圈位于接口中间部位;
D、校直管道中轴线;
E、在橡胶密封圈上涂抹润滑剂(润滑剂可采用对橡胶无影响的肥皂水或洗洁剂。)
F、在接口位置的橡胶密封圈的外侧安放沟槽式接头,确保接头内缘卡进沟槽内,并置于沟槽中间位置。
G、用手力压紧卡箍的耳部;
H、在卡箍螺孔位置,穿上螺栓,并均匀轮换拧紧螺母。
③机械三通或机械四通制作
A、管子的开孔
a.将开孔机固定在管子预定开孔处;
b.开启开孔机;
c.操作开孔机旁边的杠杆,缓慢压下,并适时、适量向钻头添加润滑剂直至钻头在管子上钻完孔洞;
d.开孔完毕,抬起杠杆,使开孔器复位;
e.清理开孔部位的钻落金属块和残渣;
f.孔洞处有毛刺时,应用砂轮机或锉刀打磨光滑。
④管道支架、吊架、防晃支架的安装
A、管道固定牢固,水平管道支架或吊架之间的距离不大于以下规定:
B、防晃支架的安装按以下规定进行:
a.配水管须在中点设1 个防晃支架(管径≤50mm 以下可不设);
b.配水管(含干管、支管)的长度超过15m 时,须设不少于1 个防晃支架(包括DN50 管);
c.管径>50mm 的管道拐弯处(包括三通及四通的位置),须设置1 个防晃支架。
d.管道支架、吊架、防晃支架的型式、材质、加工尺寸及焊接质量等应符合设计施工图要求和国家现行有关标准的规定。
C、竖直安装的配水干管应在其始端和终端设防晃支架或采用管卡固定,其安装位置距地在或楼面的距离为1.5~1.8m。
⑤管道穿过建筑物的变形缝时,设置柔性接头。穿过墙体或楼板时加设套管,套管长度不得小于墙体厚度,或应高出楼面或地面50mm;管道的接缝不得位于套管内。套管与管道的间隙间采用石棉绳、水泥材料填塞密实。(详见大样图)
管道穿墙安装图 管道穿楼板安装图
⑥管道横向安装宜设0.002~0.005 的坡度,且应坡向排水管。
(3)阀门安装:
①阀门安装前作耐压强度及严密性试验,其试验结果应符合设计要求和规范中规定,试验从每批(同牌号、同规格、同型号)数量中抽查10%,且不少于1 个,如有漏裂等不合格的应再抽查20%;仍有不合格则必须逐个试验,对于安装在主干管起切管作用的闭路阀门,应逐个作强度和严密试验;
②阀门安装位置、进出口方向应正确,连接牢固、紧密,启闭灵活、朝向合理,阀门表面应洁净,阀门操作手柄应便于操作;
③阀门安装法兰应对接平行、紧密,与管道中心垂直,螺母在同一侧、螺杆露出螺母长度一致、且不大于螺杆直径的1/2,衬垫材质应符合设计要求和施工规范规定。
(4)支、吊架管道的刷油漆,支、吊架在地面加工好后,应马上采用钢丝刷除锈,刷二遍红丹防锈漆,待用。管道应在每批材料进库检验合格后,也应马上在地面用钢丝刷除锈,并刷二遍红丹防锈漆,待用。所有支架及管道镀锌层在安装过程中的破损处要及时补刷防锈漆,并在试压合格及设备安装合格后,表面统一刷二遍调合漆。
5.2.3室外给水管施工质量控制要点:
室外给水管采用球墨铸铁管,胶圈接口,铸铁管埋地施工流程见图
1、管沟开挖
(1)、定位放线
给水管放线,设中心桩,必要时应设控制桩,开工前,根据设计图纸和基本水准点放设监时水准点,临时水准点应设置在不受影响的固定构筑物上,并应妥善保护。
(2)、沟槽开挖
1沟槽开挖宜分段快速施工,敞沟时间不宜长,管道安装完毕及时验收,合格后立即回填。挖好的沟槽应保证管道安装扣的中心线、和坡度均能符合设计要求,沟底应平整,沟边不坍塌,沟槽应有足够的宽度。沟槽断面形式:直槽、梯形槽。
管道沟槽底部的开槽B=D1+2(B1+B2)
B——沟槽底宽(mm)
D1——管道结构的外缘宽度(mm)
B1——管道一侧的工作面宽度(mm)
B2——管道一侧的支撑宽度,一般可取150~200mm
2一般沟槽均采用梯形断面,在无地下水天然湿润的土中开挖沟槽可采用
不支撑直立沟槽断面。
3为了保持梯形槽沟槽槽壁的稳定,槽壁应作成一定的坡度,加支撑的槽壁最陡坡度一般为1:0.33~1:0.67。
4沟槽开挖方式有两种:即机械开挖与人工开挖。
A、机械开挖:本工程考虑机械开挖配合人工修整进行,应注意以下事项:
机械开挖前严格控制标高,为防止超挖或扰动槽底员,槽底应留0.2~0.3m 厚的土层暂不挖,待临铺管前用人工清理挖至标高,并同时修整槽底。
沟槽开挖需要支撑时,挖土应与支撑互相配合,机械挖土后及时支撑,以免槽壁失稳导致坍塌。
B、人工开挖:在工作量不大、地面狭窄、地下有障碍物、或无机械施工条件下,采用人工挖土;开挖沟槽,应集中人力、机械尽快挖成,转入下道工序施工,开挖时应注意以下事项:沟槽应分段开挖,因有纵向坡度,应由低向高处开挖,当接近地下水时,应先开挖最低和土方,以便在最低处排水。在开挖过程中和敞沟期间应保持沟壁完整,防止坍塌,必要时应支撑保护。开挖的沟槽如不能立即铺管,应在沟底留0.15~0.2m 的土层暂不挖除,待铺管时再挖至设计标高。沟槽底不得超挖如有局部超挖,应用相同的土填补,并夯至接近天然密度。槽底遇有不易清除的大块石,应将其凿至沟底以下不小于0.15m。
C、沟槽支撑:
a.若沟槽土质较差、深度较大又挖成直槽状,或地下水位高、砂性土质时,均应设置构槽临时支撑。
b.支撑材料选用木材,采用横撑形式,即槽壁上水平排列撑板,然后每间隔1.0~1.5m 设竖向立柱,用横撑对顶立柱,撑板一般选用5cm、400cm 长木板,立柱选用10×10 方木,横撑为50×100 方木。
c.沟槽支撑应注意以下事项:
撑板必须随挖土深度及时安装,雨季施工不允许空槽过夜。撑板应均匀地与槽壁紧贴,当有空隙时用土填实。撑板必须牢固可靠,并应经常检查,发现松动及时加固。在不稳定土层中采用撑板支撑时,开始支撑的开挖沟槽深度不得超过1.0m,以后,挖深与支撑交替进行,每次交替的深度为0.4~0.8m。采用木材料支撑是,横撑应在垂直垫板上,横撑端下方应钉木托。上下沟槽应设安全梯严禁攀登横撑。
D、沟槽排水:
在管道工程施工时,要重视地面水的浸入和地下水的排除,特别是多雨时节、汛期。遇有沟槽出现地下水时,沿沟槽底开挖排水沟,顺槽底坡降方向将地下水引到沟槽低洼处的集水坑,用污水泵及时排除。
(3)管道铺设
1、管道铺设安装前按照施工图对已开挖的沟槽、管道基础进行检查,检查平面位置、标高和管道基础尺寸是否符和设计及施工要求,并同时检查槽壁土质及边坡支撑情况。
2、管道吊装采用两面兜身吊法进行,为防止起吊时两段钢丝绳和中心位移,采用自制的钢扁担进行,管道安装采用吊车进行安装,一节一节地放入管槽内,并安排人员及时地将管子调整到符合要求的位置(中心线、标高),管道连接采用橡胶圈柔性接口。
(4)井室砌筑
A、一般要求
砖的品种,强度等级必须符合设计要求并应规格一致。砂浆要严格按照配合比进行施工,以保证其强度能达到设计要求。
检查井基础混凝土结合管沟槽开挖一次到位,与管道基础混凝土同时浇筑。
检查井砌筑前先打扫冲洗基础表面、清除杂物,砖材进行浇水湿润,水泥砂浆使用机械拌和,搅拌时间满足1~1.5分钟,砌砖做到墙面平直,边角整齐宽度一致,砖缝中砂浆饱满,不得有通缝,砖墙砌筑至一定高度时,采用1:2水泥砂浆进行墙体内外防水抹面,采用三层做法,厚度为20mm,抹面高度符合设计要求,粉刷前先将墙面洒水湿润,抹面后做好养护、防止起壳、裂缝等现象。检查井流槽用砖砌,然后用1:2水泥砂浆抹面。
管道穿过砖砌检查井壁,必须严密、不渗漏,并采取措施,保证管道和井壁之间能适应不均匀的沉陷,其具体措施为:
①管径大于300mm的墙洞周围应设环形砖券,砖券高度在管径≤1.0m时为120mm,管径≥1.0m时为240mm;
②检查井基础与管道基础混凝土整体浇筑;
③管沟槽超挖部分要用砂石或低标号混凝土回填夯实;
④接入检查井的混凝土管道端口外壁要凿毛处理;
B、材料要求
①砌井用砖的强度等级不得低于MU10,吸水率不得大于20%;
②砌井前应先用水浸砖,浸透砖的2/3即可;
③砌井一般用中砂,使用前过筛,含泥量不得大于5%。
④砂浆应根据图纸要求进行配比;
⑤结合使用要求,每次拌合量在正常温度下应1小时内用完。
C、砌井方法
①砌井前应检查基础尺寸及高程是否符合设计要求;
②用水冲净基础后,先铺一层砂浆,厚1cm,再压砖砌筑,必须做到满铺满挤,砖与砖间灰缝保持1cm;
③圆形井采用丁砖砌法。外缝应用砖渣嵌平。平整大面向外,砌完一层后,再灌一次砂浆,使缝隙内砂浆饱满,然后再铺浆砌筑上一层砖,上下两层砖之间竖缝错开。
④砌至井身上部收口时,应按坡度将砖头打成坡茬,以便于井里顺坡抹面;
⑤井内壁砖缝应采用缩口灰,井身砌完后,应将表面浮灰残渣扫净;
⑥井壁与混凝土管接触部分,必须坐满砂浆,砖面与管外壁留缝1~1.5cm,用砂浆堵严,并在井壁外抹箍,以防漏水,管外壁抹箍处应提前洗刷干净;
⑦支管或预埋管按设计高程、位置、坡度随砌井随即安好,做法与上条同,管口与井内壁取齐,预埋管应在还土前用干砖封堵抹面,不得漏水;
⑧护底、溜槽应与井壁同时砌筑;
⑨井身砌完后,外壁应用砂浆搓缝,使所有外缝严密饱满,然后用扫帚将灰渣清扫干净。
D、防水抹面
①井内抹面是防止内外渗漏的主要措施,必须认真操作;
②抹面前先用水浇湿砖面,然后采用三遍法抹面;
③如分段抹面时,接缝要分层压茬,精心操作;
④抹面完成后,井顶应覆盖草袋,防止干裂;
⑤砌井抹面达到要求强度后方可还土,严禁先还土后抹面;
⑥为了保证抹面分层砂浆整体性,因此分层时间最好在定浆后,随即抹下一层,更不得过夜,如间隔时间过长,应刷素浆一道,以保证接茬质量。
E、安装井座及井盖
①设计采用球墨铸铁防盗专用井盖。
②在安装和浇筑各类型井圈前,应仔细检查井盖是否符合设计标准,如有无损坏裂纹等;
③测量人员给出自砖面至井盖上面距离以后,先将井框放稳妥,四周用三块半砖头垫稳,里外模均应用钢模,不得用砖代替里外模,然后浇筑混凝土井圈;
④井圈混凝土浇筑后,应覆盖草袋并洒水养护不少于7天;
⑤检查井、溢流井砌完后,应立即安装井盖,防止行人跌入井内,或土块、杂物落入井内,增加清理工作量。
F、质量标准
①井壁砂浆必须饱满,灰缝平整,抹面压光不得有空鼓、缝等现象;
②井内流槽平顺,不得有建筑垃圾等杂物;
③井圈井盖必须完整无损、牢固平稳
④检查井允许偏差见下表。
表:井室施工允许偏差标准
(5)水压及严密性等试验
管道工程连接完毕必须进行压力试验,水压试验的要求除执行各种管道专业设计标准外,应满足下列规定:
①管道试验应逐段进行,分段试压合格后,两段管道的接口,应通入输送介质进行检查,接口不得有任何渗漏方可填土。
②当管基检查合格后,才能铺管,沟槽回填至管顶上方0.5m以后(接口暂时不回填),应进行一次管道强度和严密性试验。
③进行强度试验时,应先加压至强度试验压力,恒压时间不小于10分钟(为保持试验压力,允许向管内补水),若未发现管材接口破坏或漏水(允许表面有湿斑,但不得有水珠流淌现象)即认为合格。
④严密性试验应在强度试验合格后进行,将强度试验压力降至严密性试验压力。严密性试验压力应为工作压力加100KPa。金属管道经二小时不漏水,非金属管道经四小时不漏水,则认为合格,并记录为保持试验压力所补充的水量,在严密性的最终试验中,为保持压力所补充的水量,不应超过先前强度试验时各分段补充水量及先前没有涉及的阀件等渗出量总和。
(6)沟槽覆土
回填土可分两步进行:第一步为管道两侧和管顶以上0.5m以内的回填土,可于管道安装完毕回填,回填用人工从管道两旁同时分层填土夯实,但需留出接口;第二步待水压试验或漏水试验合格后,用机械或人工分层回填夯实。但管顶以上0.5m以内不允许用强力夯实。
管道覆土应保证管顶以上1.95m的防冻深度。
5.2.4波纹伸缩节安装质量控制要点:
(1)波纹伸缩节安装和管道安装同步进行。
(2)安装波纹伸缩节应根据补偿零点温度定位,补偿零部温度就是管道设计考虑达到最高温度和最低温度的中点。
(3)现场测量安装时的环境温度。在环境温度等于补偿零点温度时,松开波纹伸缩节两端调整螺母,使波纹伸缩节处于自由状态,若环境温度高于补偿零点温度,向内拧拉杆调整螺母,预压波纹伸缩节。环境温度低于补偿零点温度时,
预拉波纹伸缩节,拉伸或压缩量根据安装时环境温度与补偿零点温度之差以及波纹伸缩节供应厂家提供的技术参数计算。
(4)波纹伸缩节的预拉或预压,应在平地上进行,作用力应分2-3次逐次增加,尽量保证各波节的圆周面受力均匀,拉伸或压缩量偏差应小于5mm,拉伸或压缩量达到要求时,拧紧拉杆两端调整螺母,立即安装,并安装波纹伸缩节一侧的固定支架,拧紧固定螺栓。
(5)松开波纹伸缩节拉杆调整螺母,使波纹伸缩节处于工作状态。
(6)波纹伸缩节应与管道保持同心,不得偏斜。
5.2.5、生产、生活给水管消毒质量控制要点:
(1)用钢板自制一台2m3敞口水箱,并灌满洁净自来水。
(2)向注满水的水箱内投漂白粉,配制出每升含20~30mg的漂白粉水溶液。
(3)用电动试压泵将漂白粉溶液灌入生活给水管中。
(4)漂白粉水溶液在管路中停放24小时。
(5)用自来水连续冲洗管道。
5.2.6、管道冲洗质量控制要点:
新建给水管道在碰头以前,必须经过管内冲洗,冲洗干净后方可与供水干管或支管连接碰头。
(1)首先检查全系统内各类阀件的关启状态。在关闭系统上的全部阀门,应关紧、关严。并拆下除污器、自动排汽阀。
(2)水平供水干管及总供水立管的冲洗。先将自来水管接进供水水平干管的末端,再将供水总立管进户处接往下水道。打开排水口的控制阀,再开启自来水进口控制阀,进行反复冲洗。依次顺序,对系统的各个分路供水水平干管分别进行冲洗。冲洗结束后,先关闭自来水进口阀,后关闭排水口控制阀门。
(3)系统上立管及回水水平导管冲洗。自来水连通进口可不动,将排水出口连通管改接至回水管总出口外。关上供水总立管上各个分环路的阀门。先打开排水口的总阀门,再打开靠近供水总立管边的第一个立支管上的全部阀门,最后打开自来水入口处阀门进行第一分立支管的冲洗。冲洗结束时,先关闭进水口阀门,再关闭第一分支管上的阀门。按此顺序分别对第二、三等各环路上各根立支管及水平回路的导管进行冲洗。若为同程式系统,则从最远的立支管开始冲洗为好。
(4)冲洗中,当排入下水道的冲洗水为洁净水时可认为合格。全部冲洗后,再以流速1~1.5m/s的速度进行全系统循环,延续20h以上,循环水色透明为合格。
(5)全系统循环正常后,把系统回路按设计要求连接好。
5.2.7、排水泵安装质量控制要点:
消防冲洗水、生产、生活废水、污水主要由排水泵排出。
排水泵安装工艺流程:
开机检验——抽基坑水,清除杂物——浇注水泵基础——藕合器导轨安装——水泵安装、管道安装——控制箱、浮球阀安装接线——单机试运转、调试
(1)会同业主、设备监理、施工单位、供应商开箱检查水泵型号、规格是否符合设计要求,附件及产品资料是否齐全,质量是否合格。
(2)用临时泵抽干基坑积水,清除杂物,检查基坑深度是否符合设计要求。测量定位,预埋水泵安装螺栓,浇筑水泵基础。
(3)基础凝固后,检查其水平度是否符合要求,基础螺栓是否牢固,尺寸是否满足要求。
检查紧固耦合装置联接件螺栓。安装水泵耦合器、导轨。两根导轨应垂直安装并保持互相平行。
(4)起吊水泵,安装导向挂件,注意挂件应以导管为中心均匀放置,反复起吊水泵2—3次,使水泵获得正确的安装位置。
(5)安装水泵出水管、蝶阀、止回阀等附件。
(6)安装电气控制箱、浮球阀、接线。
(7)通电单机试运转。
(8)系统调试。
5.2.8、消火栓箱安装质量控制要点:
(1)会同施工单位、设备监理、业主、供应商开箱检查型号、规格是否符合设计要求,产品合格证、说明书及随机配件是否齐全,并检查其外观质量是否合格。
(2)按每批抽查10%的数量做强度和严密性试验。
(3)检查安装预留孔位置、标高尺寸是否满足安装要求。
(4)用水泥砂浆按箱体底标高找平预留孔下底面。
(5)箱体就位,用线锤找正箱体,箱体上下觚水平位移不得超过2mm。复测箱底标高。
(6)用水泥砂浆稳固箱体,连通支管,安装栓口、卷盘、水带、水枪,栓口中心距地面高度为1.1m。
(7)系统试压、调试。
5.2.9、自动喷水灭火系统施工质量控制要点:
(1)施工前现场检验材料、管材、管件和系统部件
①系统施工使用的材料、管材和管件进行现场检验,均应符合施工设计要求和国家现行有关标准的规定,并应具有出厂合格证。
②系统的管道,采用热镀锌钢管或热镀锌无缝钢管,管件的材质等级,应与所采用的管子一致。管件在安装前,应进行外观检查,并符合以下要求:
A、材质、规格、型号符合设计要求;
B、表面无裂纹、缩孔、夹渣、折迭、重皮等缺陷;
C、尺寸偏差符合现行的国家标准要求;
D、螺纹密封面应完整,无损伤、毛刺等缺陷。
E、各种非金属密封垫片应柔韧,无老化变质或分层现象,表面无折损、皱纹等缺陷。
④对系统部件进行检验
系统的喷头、湿式报警阀、压力开关、水流指示器等主要部件,应检查三证(合格证、生产许可证和国家消防检测中心合格的检测报告)。
A、检验喷头
a.喷头的型号、规格要符合设计要求;
b.喷头的商标、型号、公称动作温度、制造厂及生产年月等标志要齐全,并附有出厂合格证;
c.喷头的外观应无加工缺陷和机械损伤现象;
d.闭式喷头应进行密封性能试验,无渗漏、无损伤为合格。试验数量宜从每批中抽查1%,但不得少于5 只,试验压力应为3.0Mpa,试验时间不得少于3min。当有两只及两只以上不合格时,不得使用该批喷头。当仅有一只不合格,再抽查2%,但不得少于10 只,重新进行密封性能试验,如仍有不合格时,亦不得使用该批喷头。
B、检验湿式报警阀
a.湿式报警阀和水流指示器除有商标、型号、规格等标志外,还应有水流方向的永久性标志;
b.湿式报警阀的阀瓣和操作机构必须动作灵活可靠,无卡涩现象;阀体内应清洁,无异物堵塞;
c.水力警铃的铃锤应转动灵活,手动旋转轻,无阻滞现象
C、检验压力开关、水流指示器
检查压力开关、水流指示器外观有无损伤,规格、型号是否符合设计施工图要求,铭牌是否清晰,水流指示器应有永久性的水流方向,并用万用表打触点检查,其传输信号保证灵敏可靠。
(2)管道安装、支架安装、管道试压、冲洗、刷漆等施工工艺同消火栓灭火系统。
(3)设备安装
检查设备器材的三证(合格证、生产许可证和产品检测报告)是否齐全,外观有无明显的机械损伤,规格、品种、型号是否符合施工图要求,铭牌是否清晰,其内容应符合设计要求。
①喷淋泵安装
A、检查运到安装地点的水泵的轴承油脂是否变色,泵室内有无杂物,手盘动靠背轮能转动,外观是否完好无损,电机和水泵有关参数是否与设计施工图相符,发现异常,应进行清理或通知生产厂家。
B、根据泵房设计图检查泵的基础,其基础应比泵底座宽100~150mm,高出地面一般在100~300mm之间,并检查泵的纵横座标、中心线、标高、基础几何尺寸、地脚螺钉孔预留位置大小、深度是否符合要求。
C、将清理检查验收合格后的消防泵,穿好地脚螺栓吊放在基础上,
调整位置,使其轴中线与基础中心一致。
D、在地脚螺栓附近垫塞楔形垫铁,垫高在20mm 以上时,应加垫平垫铁,进行初步调平,(一组垫铁不能超过三块)。
E、初调后浇固地脚螺栓,栓头露出螺帽1/2 直径,待地脚螺栓混凝土干固后进行精平,拧紧地脚螺栓帽,并用水泥砂浆将基础抹光。
F、根据水泵说明书复查泵轴与电机轴的同心度和两靠背轮的间隙尺寸。
G、整体安装的泵,纵向安装水平偏差不应大于0.10/1000,横向安装水平偏差不应大于0.20/1000,并应在泵的进出口法兰面或其它水平面上进行测量。
H、非整体组装出厂的消防泵安装应先安装好泵体,再安装电动机。(解体安装的泵纵向和横向安装水平偏差均不应大于0.05/1000,并应在水平中分面、轴的外露部份、底座的水平加工面上进行测量)。
J、水泵的吸水喇叭口直径一般为吸水管直径的1.3~1.5 倍,喇叭口应低于水池最低水位不小于0.1~0.5M,一般可按喇叭口直径的0.8 倍,当采用吸水管端有底阀时,则底阀网眼到池底的距离不得小于0.5M;水平管段上有异径管时应采用偏心异径管(上平)。
K、每台泵的进水管上安装闸阀(或蝶阀)、可曲挠橡胶接头,出水管上,应装设压力表,可曲挠橡胶接头,止回阀和明杆闸阀及具有缓闭消声功能的止回阀。
L、泵房内的管道一般为明设;沿地面敷设的管道,在人行通道处应设跨越阶梯,架空管道,应不影响人行交通,并不得架在机组上方,尤其不得设在电机上面;暗敷管不应直埋,应设管沟。泵房内管道外底距地面或管沟底的距离,当管径≤150mm 时,不应小于0.2m;当管径大于等于200mm 时,不应小于0.25m。当管段中有法兰时,应满足拧紧法兰螺栓的要求。
M、喷淋泵应有双回路供电方式,并应有双电源切换装置和良好的应急照明装置。
N、泵试运转前的检查应符合下列要求:
a.驱动机的转向应与泵的转向相符;
b.应查明管道泵和共轴泵的转向;
c.应检查屏蔽泵的转向;
d.各固定连接部位应无松动;
e.各润滑部位加注润滑剂的规格的数量应符合设备技术文件的规定;有预润滑要求的部位应按规定进行预润滑;
f.各指示仪表、安全保护装置及电控装置均应灵敏、准确、可靠;
g.盘车应灵活、无异常现象。
P、泵试压运转时间按出厂说明书要求,试运转后,应保证各固定连接部位应坚固,不得松动;转子及各运行部件运转应正常,不得有异常声响;管道连接应牢回无渗漏;泵的各部分仪表应灵敏正确、可靠;轴承的温度和各润滑点的温度应符合说明书要求。
②喷淋水泵接合器安装
消防水泵接合器的组装应按接口、本体、联接管、止回阀、安全阀、放空管、控制阀的顺序进行。止回阀的安装方向应使消防用水能从消防水泵接合器进入系统。水泵接合器应设置标明防护区名称或编号的永久性标志牌,水泵接合器距人防工程出入口的距离不小于5m,距室外消火栓或消防水池的距离为15~40m。
③湿式报警阀组安装
A、报警阀安装在便于操作的明显位置,距室内地面高度为1.2m;两侧与墙的距离不小于0.6m,正面与墙的距离不小于1.2m。报警阀旁设置标明防护区高区、低区的金属标志牌。
B、压力表安装在报警阀上,表面朝向便于观测的位置。
C、排水管和试验阀安装在便于操作的位置。
D、水源控制阀安装在便于操作的位置,阀上开闭标志明显。
E、过滤器安装在延迟器前。
④水力警铃安装
水力警铃安装在公共通道或值班室附近的外墙上,水力警铃和报警阀的连接管采用镀锌钢管,当镀锌管的公称直径为15mm 时,其长度不大于6m;当镀锌钢管的公称直径为20mm 时,其长度不大于20m;安装后的水力警铃启动压力不小于0.05Mpa。
⑤喷头安装
A、喷头安装在系统管网试压、冲洗合格后进行。(当遇有房间吊顶时,应事先将支连接管下垂引出吊顶层5mm,待吊顶完工后,才能安装喷头),应根据设计要求安装不同温度,不同型号的喷头。安装喷头所需的弯头、三通采用专用管件安装。喷头采用工厂配备的专用扳手。发现喷头的框架、溅水盘变形或释放元件损伤要更换喷头。更换后的喷头与原喷头型号、规格、颜色要相同。
B、喷头与被保护对象的水平距离不小于0.3m;喷头溅水盘与保护对象的最小垂直距离不小于0.45m。
C、当通风管道宽度大于1.2m 时,喷头应在其腹面以下居中布置。
D、安装喷头时,应在喷头连接螺纹处缠适量的密封带,用手将喷头拧入接管螺纹,再用专用扳手卡住喷头框架方头部位施力拧紧,拧紧力矩为10~20N.m。严禁猛力施拧,否则会损坏喷头,在无吊顶处,且采用下垂式喷头时,则在喷头上方安装吸热盘,吸热盘的直径为φ400。
⑥ 水流指示器安装
在管道试压和冲洗合格后竖直安装在水平上侧,同时离开供水立管或弯头换向处至少500mm,其动作方向和水流方向一致,安装后的水流指示器浆片、膜片动作灵活,不与管壁发生碰擦。
⑦安全信号阀安装
信号阀安装在水流指示器前的管道上,与水流指示器之间距离不小于300mm。
⑧自动排气阀安装
安装自动排气阀在系统管网试压和冲洗合格后再进行;排气阀安装在配水干管顶部、配水管的末端。
⑨末端试水装置安装
在系统管网末端或分区管网末端安装。末端试水装置中的压力表应安装在便于观察的位置方位,末端试水装置中的出水方式采取孔口出流的方式排入排水管道。
(4)喷淋系统调试
喷淋系统调试前应检查以下内容:
①水源测试,其容量和消防储水不作它用的技术措施是否符合规范要求。
②消防水泵调试
A、用手动或自动方式启动水泵时,消防水泵应在5min 之内投入正常运行。水泵旁设置标明高、低区的金属标志牌。
B、采用备用电源切换时,消防水泵应在1.5min 之内投入正常运行。
③打开喷淋末端试水阀放水,水流指示器动作,同时准确输出报警信号,报警阀动作后,在5~9 秒内,消防控制室主机上有报警信号和地址编码显示,同时距水力警铃3m 处,测警铃响声不小于70dB,压力开关动作启动消防泵。
⑤关闭水泵和末端试水阀,水流指示器停止动作,报警阀复位,水力警铃停止报警,压力开关停止动作,延迟器自动排水,且排水时间不超过5min。
5.2.10、挂式小便器安装质量控制要点:
(1)对照图纸,依据小便器及水封存水弯管的规格、型号和土建给出的水平标高线及隔墙线,复核小便器排水管甩头及给水管甩头的管径、坐标及标高是否正确,对不合格处进行修整,使之符合要求。
(2)在安装小便器的墙壁上划出符合图纸要求高度与间距的小便器安装中心垂线和安装中心水平线。
(3)将小便器靠放在安装墙壁上,使小便器的中心垂线及中心水平线分别与墙上的安装中心垂线及安装中心水平线对齐,用木钉通过小便器两耳螺丝眼在墙上钉出螺丝眼中心位置,并据中心位置划出螺丝眼中心垂线及中心水平线。
(4)根据螺丝眼中心位置,在墙上凿洞预栽防腐木砖(或预栽M6×70螺栓),木砖面应平整,外表面应与砖墙面平齐(螺栓应与墙面垂直,比装饰后的墙面高出25mm)。且在木砖上的小便器螺丝眼中心处钉上铁钉,铁钉应外露于装饰后的墙面。
(5)待墙壁装饰面做完后,拔下墙壁上安装小便器螺丝眼中心处铁钉,把经外观检查符合设计规格型号且无损坏的小便器靠放在安装处,找平正,核对安装高度无误后用木螺钉垫以铅板把小便器牢固的安装在墙上。
(6)用镀锌短管、镀锌管箍(或弯头)、小便器角型阀连接给水管甩头与小便器进水口,连接后角型阀的冲洗立管应垂直端正,位于小便器进水口中心,各压盖应稳固。
(7)在小便器水封存水弯管上承口周围填以油灰,下插口缠以油灰石棉绳,连接小便器排水口与排水管甩头,连接后反水弯上承口应与小便器排水口吻接严密,下插口与排水管甩头间应用油灰石棉绳填充密实牢固,遇有丝扣连接时,可采用活节固定。
5.2.11、蹲式大便器安装质量控制要点:
(1)确定位置、标高:检查大便器、水封存水弯管是否符合设计及施工规范的质量要求,根据所采用的便器和存水弯管的规格核对排水支管甩头甩口的位置,确定合理的坐标无误后进行下道工序施工。
(2)清扫与划线:清扫安装便器处地面,在安装处划出便器的中心“十”字线和便器排出口的中心“十”字线。
(3)安装水封存水弯管:
a、安装“P”型水封存水弯管,应在而所地面防水前进行,水封存水弯管进口中心对准大便器排出口中心,并接长带有承口的短管至地面上10mm,水封存水弯管出口接入预留的排水支管甩口。临时固定水封存水弯,按要求打口和灌完楼板孔洞后做好而所间的地面防水。
b、安装“N”型水封存水弯,应用水泥砂浆把存水弯管底稳住,使底坐标高控制在基准室内地面的同一高度。水封存水弯承口对准已确定的大便器排出口中心,水封存水 弯的插口插入已预留的排水支管甩头内,插入深度不小于40mm,接口处用油麻、腻子抹平。
(4)大便器安装:将大便器试安装在水封存水弯管上,用红砖在大便器四周临时垫好,核对便器的安装位置,(坐标)、标高符合质量要求后,用水泥砂浆砌好大便器四周经润湿的垫砖,在便器下和水封存水弯管周围添入白灰膏拌制的炉渣。再核对大便器的位置与标高,无误后将便器取下,用油灰腻子做成首尾相连的圆圈放入水封存水弯管或大便器排水短管的承口内,重新把便器安在水封存水弯管上,稳正找平,将便器的排出口均匀压入水封存水弯管的承口内,再将挤出承口的腻子抹实乔平。最后在大便器两侧用楔型砖挤住,用水泥砂浆把便器与砖接角的两侧抹成“八”字形,留出安装胶皮碗的进水口。
(5)成品保护
A、大便器排出口做可靠的临时封堵。
B、便器内用草绳、灰袋纸或其它柔软材料添满并盖好,对仍有大量后序工种作业的房间,大便器应临时做木框罩上。
C、竣工通水前严禁使用大便器。
5.2.12、洗脸盆安装质量控制要点:
(1)对照图纸,洗脸盆及反水弯的型号、规格。土建给出的室内水平标高线及隔墙线,核对排水管甩头及给水管甩头的管径、坐标与标高,对不符合要求的修整到合格。
(2)在安装洗脸盆的墙上划出洗脸盆安装中心垂线和上沿水平线,根据洗脸盆和支架的组装尺寸,量出各支架到洗脸盆垂直中心的尺寸及支架各固定孔到洗脸盆上沿的尺寸。依据量出的尺寸把支架固定孔中心量划到墙上。
(3)根据墙上洗脸盆支架固定孔中心位置,在墙上凿洞,预栽防腐木砖(或把洗脸盆预制支架防腐后直接栽入墙内),预栽的木砖应牢固、表面平整,外表面应比装饰后的墙面低8~10mm并在支架固定孔中心位置钉入铁钉,铁钉应外露于装饰后的墙面。
(4)待墙壁装饰面施工之后,拔下墙上支架固定孔中心铁钉,核对支架安装尺寸调整平正,再把支架手木螺钉垫铅板牢固的安装在墙上,把符合设计要求,外观检验无缺损的洗脸盆放到支架上,支架有卡具的要用卡具把洗脸盆卡紧。使洗脸盆平整、稳固。
(5)用符合设计要求并经外观检查合格、无缺损的水嘴、阀门、镀锌钢管、镀锌三通、镀锌弯头、镀锌活接头及有关辅助材料连接给水管甩头到洗脸盆,连接后的水嘴、阀门朝向应合理、一致,标高准确,管道应正、直,坡度正确,接口严密,有冷、热水的水管在同一平面上下平行设置时,热水管道应在冷水管上侧,竖向设置时,冷水管道应在正向的右侧。
(6)用符合设计并经外观检查合格的排水栓、存水弯管、镀锌管及有关辅助材料连接洗脸盆排水口与排头管甩头,连接后的管道应正、直,坡度正确,接口严密、牢固。
5.2.13、给排水及水消防工程调试方案和措施
1单机设备调试
(1)调试内容
a.区间消防管上的电动蝶阀测试及调试。
b.潜水(排污)泵测试、试运行和其信号线路测试。
c.消防系统的消火栓(箱)的测试。
d.消防泵系统测试。
(2)调试报告格式(调试记录用表)
采用现行机电安装调试统表和地铁工程统表进行记录。
a.《电动机检查试运转记录》统表电施8。
b.《水泵试运转记录》。
(3)调试方案
①电动蝶阀调试
a.对给水和消防引入管上的电动蝶阀,手动开启、关闭应灵活可行。
b.电动蝶阀的电源线路、信号回路进行对线复核后检测,按信号响应动作逐台进行模拟动作试验或真实动作试验。
c.区间消防干管上的电动蝶阀调试同a、b点。
②潜水泵的调试
A、电机运行参数与设计要求和产品参数对照。
a.电机铭牌额定电流抄录,起动电流、运行电流测量。
b.过载保护继电器电流整定值为额定电流的1.1倍。
c.检查电动机在运行中的机体温升、轴承温升。
d.检查缺相保护性能。
e.使用统表-电施8表《电动机试运行检查记录》进行记录。
B、水泵运行参数与设计要求对照。
a.进/出口压力。
b.计算水泵的工作扬程。
c.将扬程值标在水泵的特性曲线图上,找出对应的流量值,以证实水泵的实际工作流量满足设计要求。
d.测试数据使用《水泵试运行记录》表进行记录,配水泵特性曲线图。
C、水泵的开/停信号测试和调定,按集水井图纸要求,调整液位开关的高度。
D、潜水泵的报警信号检测:线路符合设计要求,在车站有监控信号反馈。
③消防系统的消火栓(箱)的测试
a.打开给水消防管道上的各通水蝶阀。
b. 分别测试车站的消火栓用水量按20升/秒计,水枪的充实水柱10米,消防卷盘钢阀开启灵便,水压足够。
c.分别测试区间和出入线段的消火栓用水量按10升/秒计。
④消防水泵调试调试应符合下列要求:
a. 以自动或手动方式启动消防水泵时,消防水泵应在5min内投入正常运行;
b. 以备用电源切换时,消防水泵应在1.5min内投入正常运行;
c. 稳压泵调试时,模拟设计启动条件,稳压泵应立即启动,当达到系统设计压力时,稳压泵应自动停止运行
2系统调试
本系统调试包括:给水系统、排水系统、消火栓系统和冷却循环水系统调试。
(1)本系统调试时的应急措施和安全措施
a.专人看管、负责、调试小组人员用无线对讲机联络。
b.电气开关动作和控制开关动作专人通知。
c. 系统调试重点为潜水泵、电动蝶阀、冷却水泵、冷却塔,运行时应对其运行状态严密监测。
d. 对水专业试验时,因为电动阀开关、潜水泵水位器、系统电气装置联锁,对系统调试影响较大,必要时应对未调试部分进行封闭。
e. 做好设备保护和各方配合,公布通知,(提请甲方)知会相关的消防部门,知会各专业公司教育其职工不能启动和接近,做好防盗工作。
f. 管道清洗药、氯消毒剂充注时注意原液、挥发气体过浓伤害,做好预防、人身防护及通风工作。
g. 给水系统、消火栓系统调试放水时,应使排水泵自动启动状态,或有专人启动排水泵抽排废水。
h. 调试区域严禁动火、严禁吸烟;严禁存放易燃易爆物品;清走原施工用的氧气乙炔。布置适用的手提灭火器材。
(2)调试报告格式(调试记录用表)
采用现行机电安装调试统表进行记录。
a.《管道阀门严密性试验及吹洗记录》统表水施6。
b.《给水通水试验记录》。
c.《水泵试运转记录》。
d.《水池讯号调整记录》。
e.《消防水系统压力整定记录》。
(3)调试方案
①调试前的重要的检查工作项目。
a.各系统的安装工作已全面完工或阶段性完工,功能齐全。
b.排水系统、通风系统已能投入。各机房环境不能过于潮湿。
c.总控室中的土建湿作业、饰面作业已全面完成。门窗已装好,或已经具备完善的封闭保护条件。
d.管道系统已试压冲洗完毕,各水池已经过消除异物和初步清洗。在试压时用于隔离设备的盲板、软接头和其它临时固定物已拆除,已检查了管道系统上的所有阀件方向与位置是否正确,启闭是否灵活,并已纠正完毕。
e.已检查机泵设备的配电容量是否足够,线路的绝缘电阻是否符合规范要求,控制箱经动作试验已满足设备运行要求,并已单机试运正常。
f.已备足如下调试用的计量器具,并保证器具是在有效检定周期内使用。
〖注意:使用摇表时小心一些元件的承受能力!〗
g.上列所有计量仪表均需已检定合格。
h.已备有必须的器具如:对讲机(远距离通信器材)、电筒、钢真尺。
②给水系统调试
A、各用水点的管路通水能力。
a 打开给水管道上各通水蝶阀、闸阀及截止阀。
b 单独和同时开放卫生间、茶水间的洁具冲洗、水龙头等用水点。并检查其水流量、水流速是否足够。
c 单独和同时开放站厅、站台层各冲洗栓,检查其水流量、水流速是否足够。
B、主干管的电动蝶阀及蝶阀应受EMCS监控系统进行监控。并对给水系统与电气系统之间接口进行测试,及水电联动调试。
③排水系统调试
A、各排水点排水
a.按给水系统的配水点同时开放,检查卫生间地漏、站厅层地漏及出入口横戴沟地漏排水是否畅顺流通。
b.检查各压力排水管在潜水泵抽水时,是否畅通和管道是否稳固无变形。
B、潜水(排污)泵测试、试运行与电气系统接口测试、联动调试。
a.电机运行参数与设计要求和产品参数对照。
● 电机铭牌额定电流抄录,起动电流、运行电流测量。
● 过载保护继电器电流整定值为额定电流的1.1倍。
● 检查电动机在运行中的机体温升、轴承温升。
● 检查缺陷保护性能。
b.水泵运行参数与设计要求对照
● 进/出口压力。
● 计算水泵的工作扬程。
● 将扬程值标在水泵的特性曲线图上,找出对应的流量值,以证实水泵的实际工况流量满足设计要求。
● 测试数据使用《水泵试运行记录》表进行记录,配水泵特性曲线图。
c.潜水泵的开/停信号测试和调定,按集水井图纸要求,调整液位开关的高度。
d.潜水泵的报警信号检测:线路符合设计要求,在车站有监控信号反馈,进行水电联调。开/停水泵及水位越线时,监控中心有信号显示。
④消火栓系统调试
A、管道系统压力测定及调整:
按系统最高点处的消火栓满足10米充实水栓的要求,用压力表测定系统压力,应能满足压力要求。
B、系统内消火栓(箱)的测试:
a.打开给水消防管道上的各通水碟阀。
b.分别测试车站的消火栓用水量按20升/秒计,水枪的充实水柱10米,消防卷盘铜阀开启灵便,水压足够。
c.分别测试区间的消火栓用水量按10升/秒计。
d.车站和区间引入管上的电动碟阀及碟阀应受EMCS监控系统进行监控。并对消防系统与电气系统之间接口测试及消防电气联动调试。
C、消防水泵调试调试应符合下列要求:
a. 以自动或手动方式启动消防水泵时,消防水泵应在5min内投入正常运行;
b. 以备用电源切换时,消防水泵应在1.5min内投入正常运行;
c. 稳压泵调试时,模拟设计启动条件,稳压泵应立即启动,当达到系统设计压力时,稳压泵应自动停止运行;
⑤消防系统联动试验
A、全部单项测试完毕,不正常的线路和设备处置完毕,开动泵机运行48小时,让联动柜电脑记忆环境参数。
B、消防系统联动试验,将对每个区的各种信号源(电动碟阀、烟、温感、破玻)均进行一次联动试验,计划分区域、分功能系统进行。
a.试验动作前,派驻人员对各个控制反馈点进行监控,试验动作时,通过对讲机及时报回响应设备的动作情况。
b.进行消防联动时的控制反馈点及人员安排,应合理、职责明确。实施前,按实际情况重新核实编排。
C、进行联动试验时,每一个信号源动作时间为10分钟,每一个控制反馈点的设备动作信息必须在10分钟内报出,记录人员及时进行记录。
D、一个信号源试验完毕,响应设备复位,恢复正常运行时间安排为15分钟,每个控制反馈点须在15分钟内将设备的恢复情况信息报出。
E、一个信号源的试验必须在设备完全恢复正常后进行。
F、试验时使用统表进行记录。
5.2.14、质量通病的预防和纠正措施
1、管道穿墙孔洞封堵不严
本工程管道穿墙孔洞主要有水平孔洞和竖向孔洞,水平孔洞由于施工方便,其封堵基本没有问题,竖向孔洞尤其是在隐蔽地段,往往封堵不严,甚至漏封堵,很难检查到,主要原因是施工管道时没有同步进行,这类孔洞封堵必须与管道施工同时进行,并严格执行检查制度,方能防止封堵不严与漏封堵现象。
2、架空管道弯头松脱
架空管道弯头松脱现象主要表现在铸铁承插管道,必须采取特殊加固措施,在管道弯头两端采用扁钢抱箍,并用丝杆拉紧,同时,丝杆两端采用双螺母紧固。
3、机房积水、排水不畅通
机房往往只有一个地漏,废水需由水沟引入地漏排走,机房积水、排水不畅通,主要原因是水沟沟底低于地漏,且排水沟没有坡度,不易排水。因此,对排水沟要做认真检查,若不符合要求,监理做现状验收并要求装修承包商整改。若机房下层房间有电器设备,排水沟尽量避免在设备垂直上方。
4、预留套管位移
防治措施:安装前找准坐标、标高。安装时要稳定、牢固,砼浇筑时应派专人看管、发现位移及时纠正。
5、钢支架点、气焊开孔
防治措施:暖卫管道安装型钢支架螺栓孔径≤M12时,支架开孔不得使用点、气焊。看孔、切割必须使用台钻、无齿锯等专用工具。螺栓孔径>M12的管道支架如需气焊开孔切割时,必须对开孔及切割处进行处理,支架孔眼及支架边缘要求平整、光滑。孔径不得超出穿孔螺栓或圆钢直径的5mm。
6、管道丝扣连接时,外露丝扣绝扣或丝扣过长
防治措施:套丝时要调整套丝板活动刻度盘使板牙符合需要的距离。套丝时不可一次到位:管径在DN15~DN32之间,分二次套丝;管径在DN40~DN50之间,分三次套丝;管径在DN70以上时必须分3~4次套丝。管道丝扣连接时,缠麻丝要均匀分布,抹厚漆要适量均匀,以保证管道连接牢固,严密不漏。并且保证管螺纹外露1~2扣。
7、立管垂直度达不到要求,排水水平干管坡度或大或小
防治措施:立管安装时用线坠调直,调直一段,安装一段。不得安装完后在进行调直。排水水平干管坡度严禁反坡安装。由于测量仪器和参照物的误差及计算失误等原因可造成坡度不均匀。安装时可选用精密仪器如水平管。细心推算,以保证水平干管坡度符合设计要求。
8、地漏不平,高出地面或低于地面过低
防治措施:地漏安装使用水平尺找平,固定牢固。根据土建提供的地面坡度和1米线(或50线)精确计算以保证地漏低于地面5mm。
9、消防水箱的溢流管,泄水管不得与生产、生活用水的排水管直接相连接,以免产生排水不畅
防治措施:将溢流管、泄水管排出的水先直接排至水箱间地面再通过地面的地漏将水排出,不可用软管一端连接溢水管、泄水管,另一端直接插入地漏。
5.2.15、给排水及水消防工程施工质量控制目标值:通过对上述各分项工程施工质量控制,使各分项工程质量符合《建筑给水排水及采暖工程施工质量验收规范》GB50242-2002的要求。
(三)、 给排水及水消防系统与各专业接口关系
5.3.1给排水及水消防系统与市政给排水的施工接口:
①本工程施工单位负责完成酒店室外水表井(不含水表、水表井内设施及相应配套管件)至酒店内部的给水管的安装。
②排水系统
本工程外压力消能井(含)至酒店内部的压力废水管由施工单位商负责安装。本工程还需负责将室外消能井后的排水管道引入市政排水管网。
5.3.2给排水及水消防系统与其它专业工程的接口:
①与低压配电系统的接口:低压配电系统与潜污泵的接口为潜污泵控制箱的电源接线端子;低压配电系统与电动阀门的接口为阀门电动执行机构的接线端子。
②与通风空调系统的接口:空调水系统的补水由给排水专业提供水源接口。给排水系统负责将供水管接至冷水系统补水箱(膨胀水箱)的补水阀门。
③建筑装修工程的施工接口:公共区消火栓箱门由公共区建筑装修承包商配合墙面设计统一采购制作和安装调试。
(五)、 各关键分部分项样板段工程
按业主要求各关键分部分项工程必须进行样板段施工,组织有关各方进行检查点评通过后,再以样板工程为标准全面展开施工。
6.1工程进度控制的依据是施工合同所约定的工期目标及总包单位总体进度计划,在确保工程质量和安全等原则下,采用动态的方法,对进度进行主动控制。
6.2督促专业施工单位根据业主总进度要求,编制本专业的分部工程的总体季度计划、月度计划、周计划,按时填写《施工进度计划报审表》、《月工、料、机动态表》。施工前应做好施工组织工作,做好机具及劳动力的配备,合理组织工序搭接,尽量利用时间、空间安排主体交叉作业,提前安排设备材料加工订货。每月25日前应上报本月进度完成情况及下月计划。
6.3监理根据工程规模,现场条件,施工队伍情况审查总进度计划的合理性,可行性,并对其进度网络计划的关键线路进行分析,了解主要设备、材料供应的配套安排是否合理,能否满足施工计划的要求,并督促施工单位对甲供设备、材料供货计划按业主要求提前上报建设单位。
6.4监理要对工程实际进度进行监督,根据检查结果作出评判、分析发现进度严重偏离计划时,要进行原因分析,研究措施,并及时向总监反映情况。
7.1工程造价控制的依据是建设工程施工合同中所确定的合同价、单价或协议条款。对工程变更洽商、材料变更、设备变更应严格把关,在保证质量的前提下尽量降低成本。
7.2严格执行工程计量和时限要求,每月计量一次,计量周期为本月1-30日,填报《月完成工作报审表》。
7.3报验资料不全,与合同文件约定不符,未经质量签认合格或有违约的计量,未经监理核实的工作不得结算工程款。
“三杜绝一确保”:杜绝工程特别重大、大事故、险性事故;杜绝责任职工死亡事故;杜绝重大火灾、爆炸事故。贯彻执行国家和省市有关施工安全法律法规条例的有关规定,使安全文明施工规范化、标准化、制度化,确保施工安全。
8.1、认真审查施工单位的施工安全保证体系可操作性,不流于形式并督促检查承包商对安全施工和文明施工措施的落实情况。
8.2、检查进场施工机械的完好性和特殊工种作业人员的操作上岗证,并检查督促施工单位对现场施工作业人员进行三级教育。对未经三级教育、特殊作业人员无上岗证的人员一律不准上岗作业。
8.3、施工现场临时用电设施必须按经审核批准的施工临时用电施工组织设计进行敷设,通过验收后方可投入使用。坚持做到三级配电、两级保护、“一机、一箱、一闸、一漏”制度,配电设施周边应配备绝缘灭火器材或二氧化碳灭火器,对施工现场临时用电经常进行巡视检查,发现安全隐患立即通知施工单位进行整改。
8.4、脚手架及移动式脚手架搭设完毕须经验收合格,确认载重量、使用期限并挂牌后方可使用,在使用期限内任何人未经书面批准均不得拆除或割断,使用班组如需延长使用期需重新申请并由专职安全员更换挂牌。安排持有效上岗证的施工人员进行搭设。脚手架搭设和拆除时,设立警戒标志,派专人现场监护。凡在高处作业时,施工作业人员必须佩戴安全带或安全绳(使用前必须对安全防护设施进行检查),其安全带或安全绳的使用必须遵照高挂低用的原则。凡未使用防护用品用具的不准作业,以防止高处坠落事故的发生。
8.5、设备吊装必须要求施工单位编制吊装起重施工方案选择匹配的起重设备及机具等,吊装前对吊钩承重进行复核,禁止超载吊装。吊车的站位及支脚支撑应严格按施工方案中的计算说明书的规定进行,切勿因站位不正、支撑不足而造成歪拉斜吊,违章作业。设备起吊前应找准吊物的重心和吊点,并对起吊物的捆绑绳索,按要求严格检查,各捆绑点不应有松动、打滑现象。对贵重和精密设备,吊运绳索使用尼龙带或在钢丝绳外面套上胶皮套管,防止损伤设备表面。起重作业的卷扬机在使用时应严格检查刹车装置、联锁装置,并专人操作、专人维护,确保安全可靠。风和雨天等恶劣天气不进行准吊装作业。雨天过后,重新检查并加固地锚、钢丝绳、地基等,保证吊装作业的安全。起吊时起重机臂应先伸至合适位置,角度、回转半径等应符合施工方案及操作规程的要求,严禁超负荷起吊。正式吊装前应先进行试吊装,先将起吊物吊离地面10~15cm,停滞5~10分钟,检查所有捆绑点及吊索具工作状况,确认无误后,进行正式吊装。在吊装区域内应设安全警戒线,非工作人员严禁入内,同时起吊过程应由专人指挥,统一行动。起重臂下严禁站人。
8.6、对“四口、五临边”的防护要尤其重视,要求施工单位采取正确有效防护措施。
为保证防护措施能真正起到应有的防护作用,除在具体实施过程中由监理、项目负责人、安全专职人员对防护设施进行必要的监督制作过程和验收外,还应按规定要求每周进行不少于一次的检查工作,发现问题立即通知施工单位进行整改修复以确保防护设施的完好性,防止坠落事故的发生。
8.7、严格执行相关法律法规的规定,结合施工现场的实际情况展开监理工作。消防工作必须坚持“预防为主,确保重点”和“预防为主,以消为辅”的指导思想,保证工程建设过程的安全。施工现场必须配备足够的消防灭火器材,建立健全消防档案,包括:消防设施平面图;消防设施、设备、器材等维修、保养、更换、验收记录;密目式安全网、围网、保温材料、电气产品的防火性能检测报告、检验验收记录及质量体系认证证书;电气焊人员持证上岗记录及复印件;消防人员工作记录等;施工现场使用的安全网、保温材料,不得使用易燃、可燃材料,并在施工现场设置临时消防车道,其宽度不小于4米,禁止在临时消防通道上堆物、堆料或挤占临时消防通道,保证临时消防通道畅通;施工现场作业面设置临时消防给水设施,消火栓布局合理;经常开展以防火、防爆、防盗为中心的安全大检查,堵塞漏洞,发现隐患,及时向施工单位发“隐患整改通知书”,限期整改。一时整改不了的,采取临时措施,防止发生问题。
(一)、建筑给排水工程监理中的信息管理
施工方要重视施工技术资料,技术资料主要包括:材料/设备进场验收资料、施工过程隐蔽工程隐蔽验收资料、相关试验记录、检验批验收资料、分项工程验收资料、分部工程验收资料、设计变更文件、建设单位指令、施工单位洽商纪要、相关会议纪要等;所有资料都应随施工进度,按照相应的规定和要求内容及时填报,项目齐全,内容真实准确,必须由有关人员签字或盖章,技术资料的复印件需加盖项目部公章。对于监理单位与建设单位和施工单位之间的文件往来,必须做好相应收发文记录,并在监理日志上有所体现。监理部对所有过程资料要求施工单位随着实体进度报审,并进行详细审查、签署意见,并按照档案馆相关要求进行组卷归档。
(二)、建筑给排水工程监理中的现场协调
在给排水工程施工过程中,所涉及到的参建单位和专业较多,现场经常会出现专业交叉施工、由于图纸及变更或建设单位临时指令等原因,需要监理单位进行各方面协调,具体包括现场各施工单位之间的协调、施工单位与建设单位之间的沟通协调、施工单位与设备供应商之间的协调等。为了现场工程施工有序开展,监理单位制定有每周定期召开监理例会、针对专项问题召开专题协调会的制度。对于现场能及时协调解决的问题,监理单位现场召集相关单位及时协调沟通加以解决,在现场无法协调解决的情况下组织召开专题协调会。
版权声明:我们致力于保护作者版权,注重分享,被刊用文章【肉便器学院给学生灌尿(给排水及消防工程监理实施细则)】因无法核实真实出处,未能及时与作者取得联系,或有版权异议的,请联系管理员,我们会立即处理! 部分文章是来自自研大数据AI进行生成,内容摘自(百度百科,百度知道,头条百科,中国民法典,刑法,牛津词典,新华词典,汉语词典,国家院校,科普平台)等数据,内容仅供学习参考,不准确地方联系删除处理!;
工作时间:8:00-18:00
客服电话
电子邮件
beimuxi@protonmail.com
扫码二维码
获取最新动态
