作者:广东省药学会 广州医科大学附属第三医院 主管中药师 高珊珊
7月31日尼日利亚女子短跑运动员布莱辛·奥哈巴雷被检测出人类生长激素成分,判定该运动员丧失比赛资格。
随着检验技术的进步,更多的中药被证实含有违禁成分,运动员是因误服药品、营养品等而导致尿检阳性,从而被取消参赛资格或成绩,严重影响了国家声誉和自己的运动生涯。有部分运动员在比赛或训练期间生病,选择了认为相对安全的中草药或中成药来治疗,但事实上仍有可能会“中招”。
有鉴于中药成分的复杂性,使得一段时间内运动员们生病了也不敢使用中药。
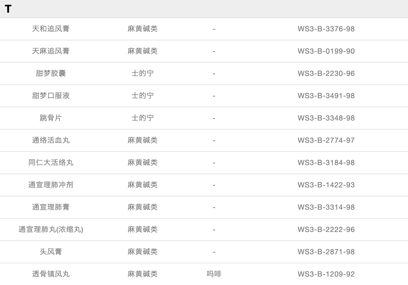
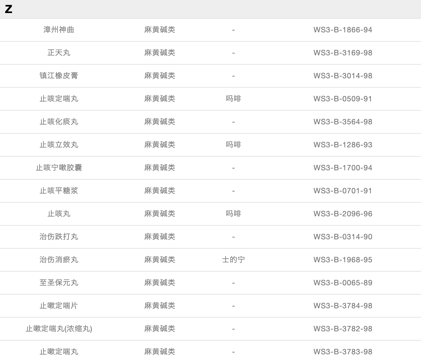
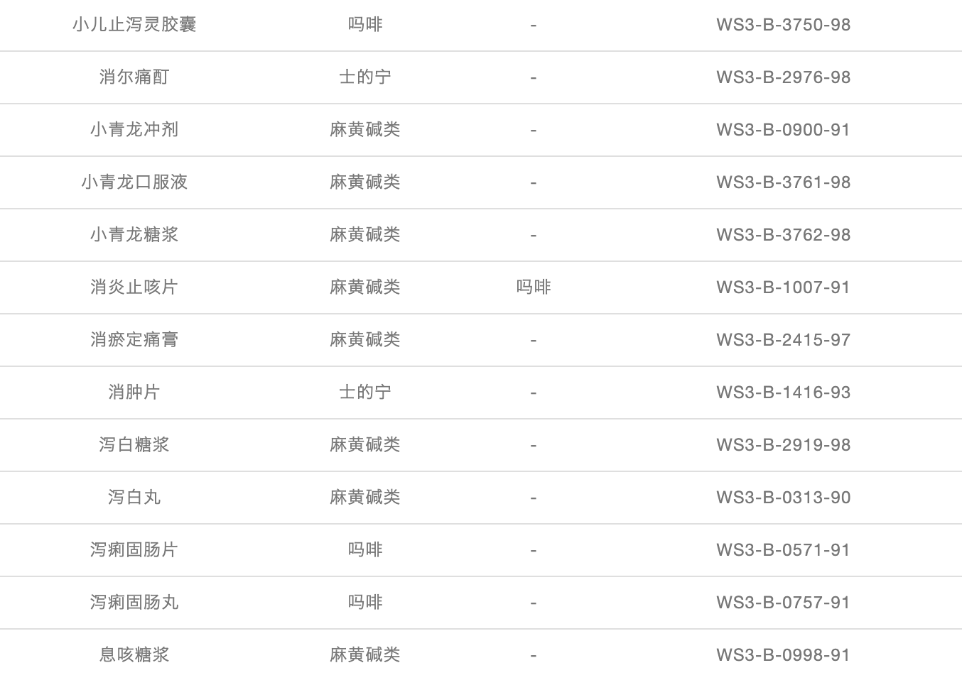
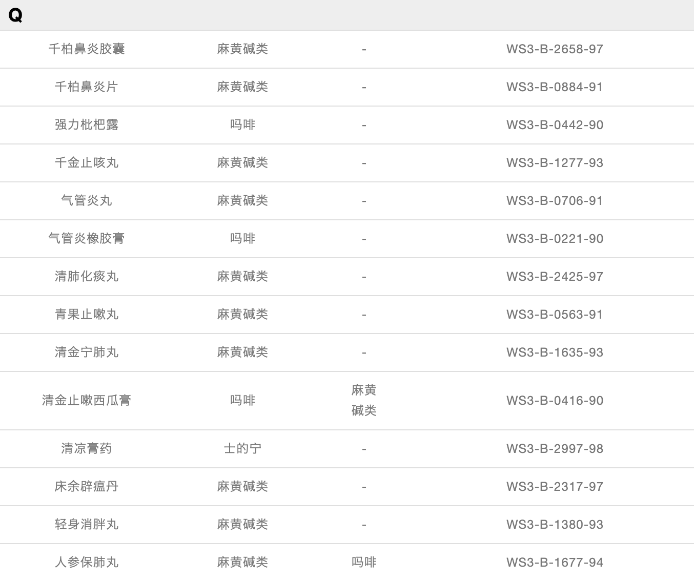
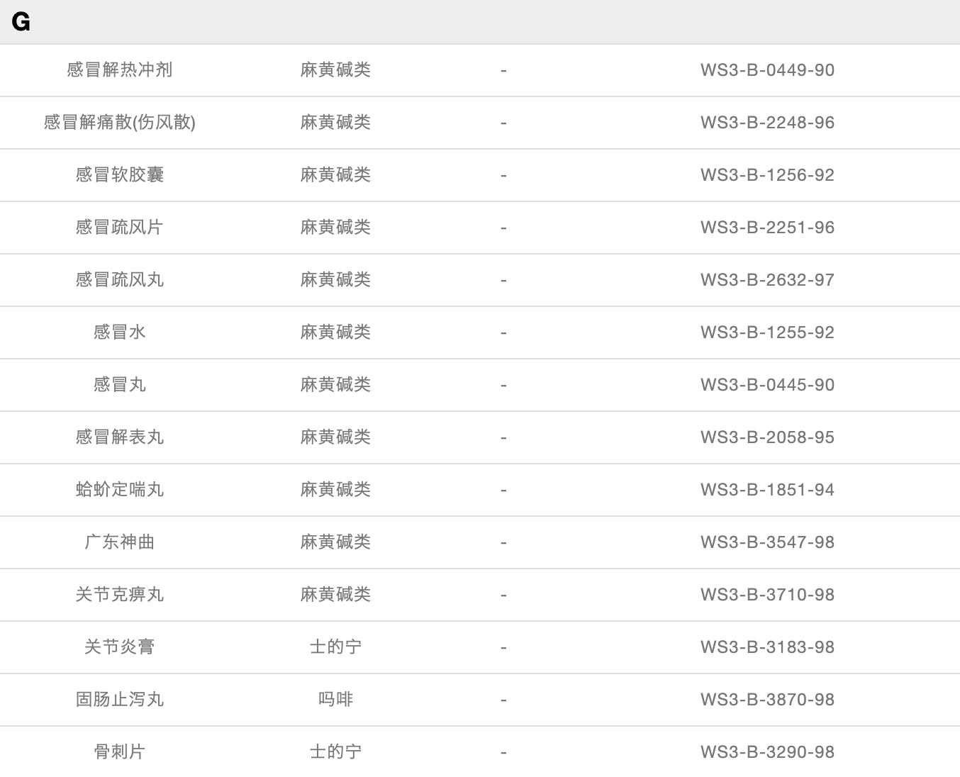
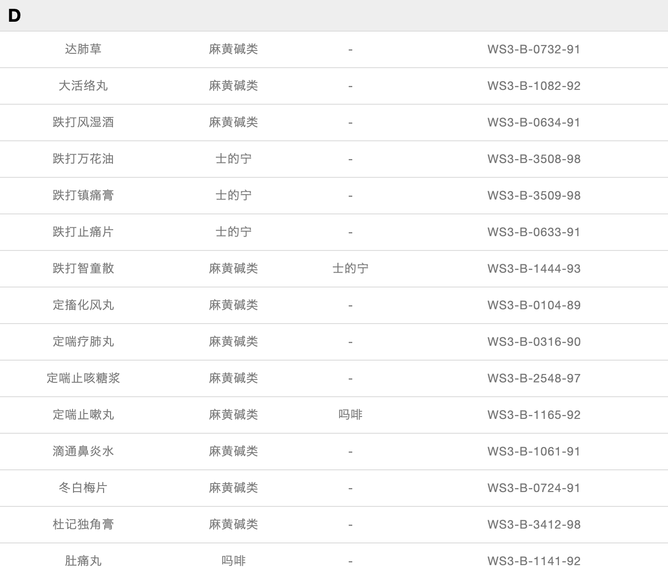
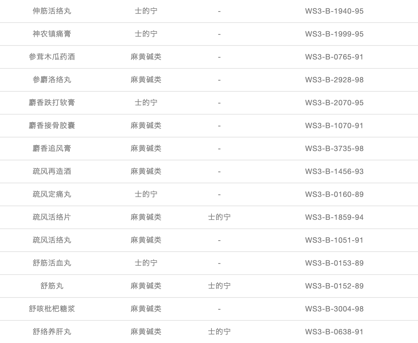
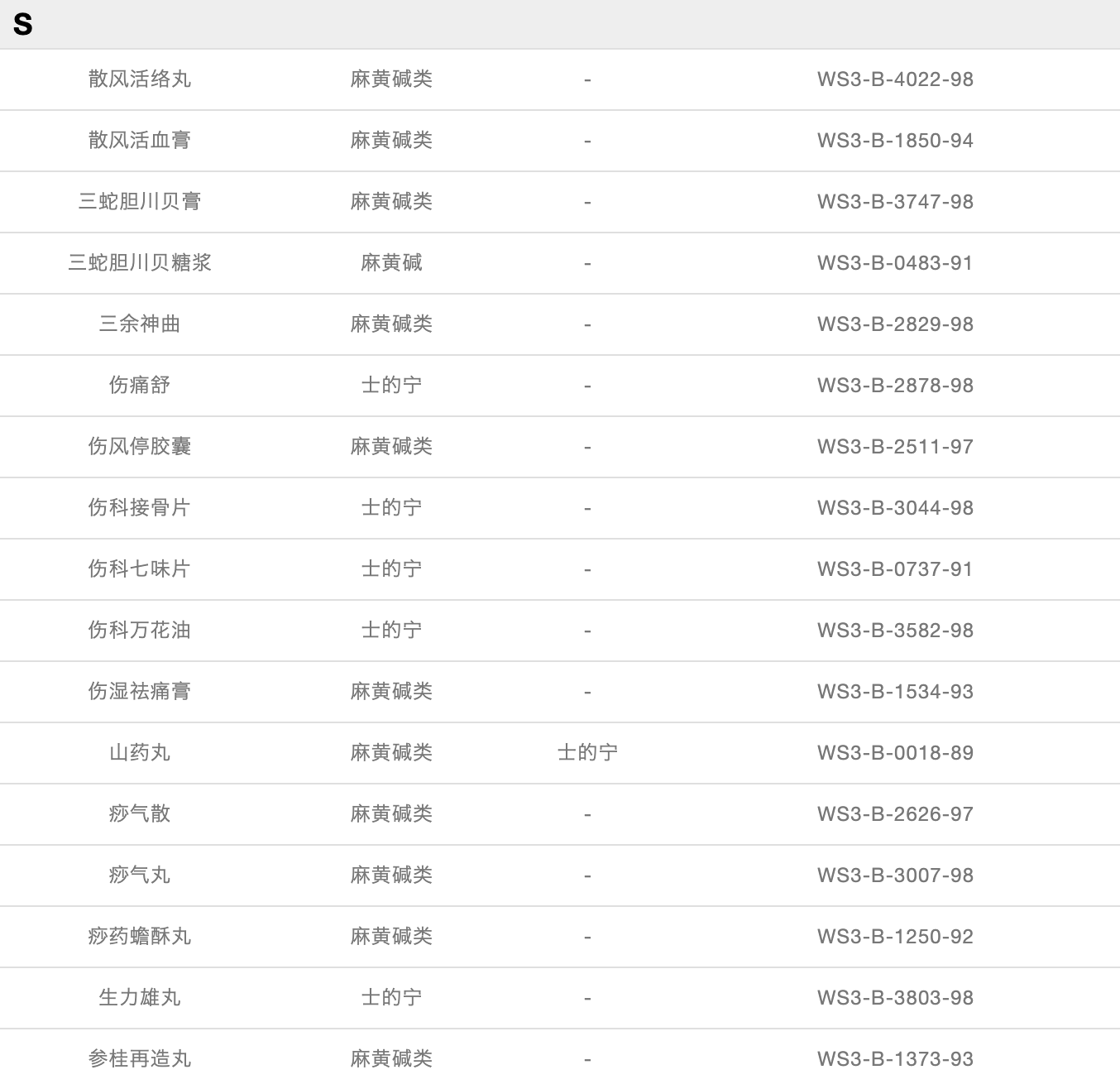
目前国际奥委会(IOC)规定的禁用物质黄碱、伪麻黄碱、去甲麻黄碱、去甲伪麻黄碱、甲基麻黄碱、咖啡因、可卡因、士的宁、吗啡、大麻二酚、大麻酚、四氢大麻酚和甘露醇。2008年03月14日国家食品药品监督管理局发布了含有兴奋剂目录所列物质药品名单的通知,并在国家食品药品监管局公布了名单,其中化学药品及生物制品773种,中成药1231种,占我国现有中成药品种的24%。
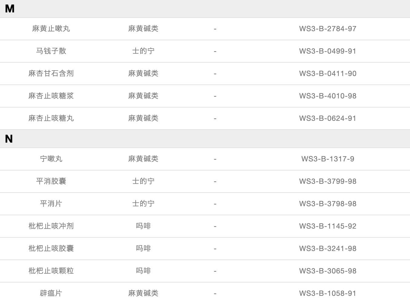
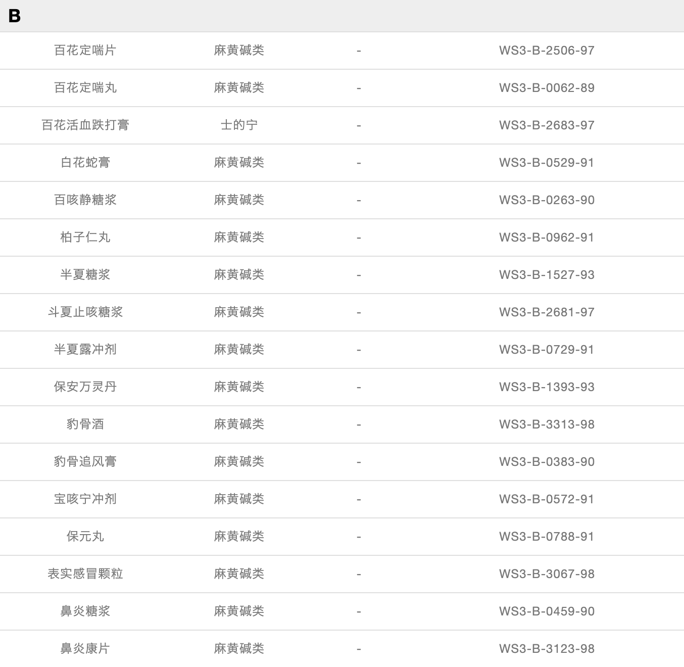
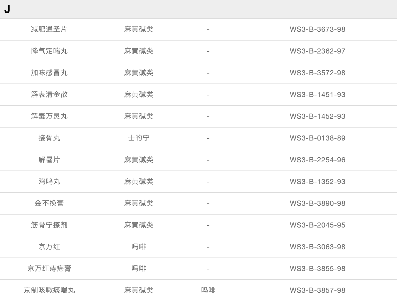
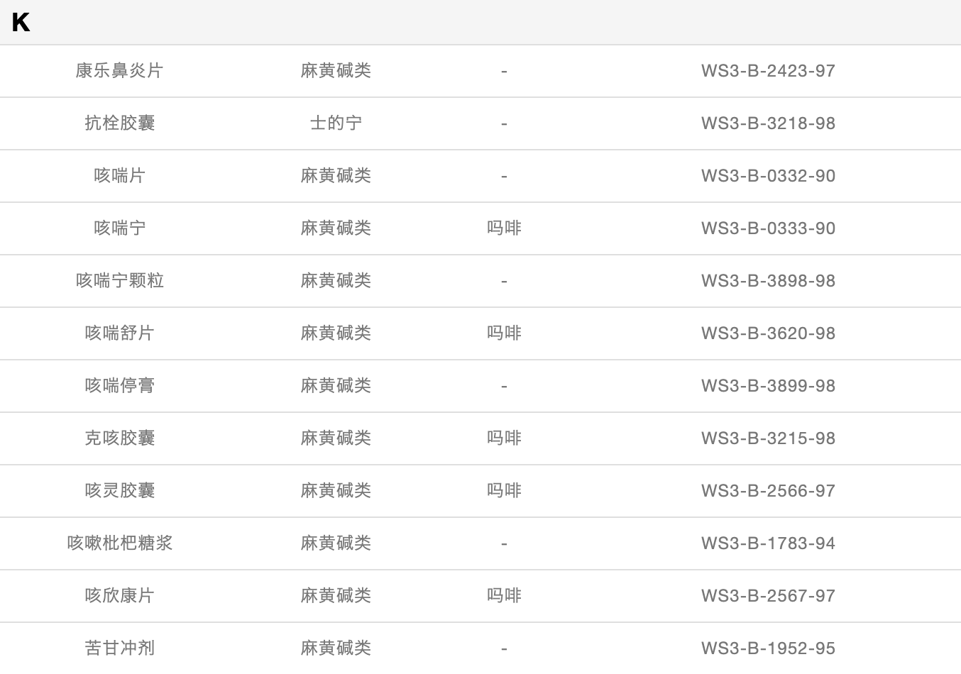
含有违禁成分的中成药名单(仅供参考)
国家体育总局《运动员治疗药物使用指南》(2005年版)
运动员作为特殊人群之一,在符合法律法规的前提下,其用药的安全性、有效性至关重要。中草药/中成药也非违禁成分之净土,运动员用药必须经由专业医生、药师严格把关,运动员自行选择药品时,亦要格外小心。
在此为东京奥运健儿们加油,祝愿中国代表队再创佳绩!
审稿专家:广东省药学会 广州医科大学附属第三医院副主任中药师 袁中文
以上为“药品安全合作联盟”志愿者的原创作品,如若转载请注明作者和来源!
【药盾公益】以中国非处方药物协会、中国药学会,中华医学会等共同发起和成立的公益性组织——PSM药盾公益(公众号:PSMChina),广汇资源,凝聚力量,促进公众用药安全。
版权声明:我们致力于保护作者版权,注重分享,被刊用文章【体育考试吃什么兴奋剂(奥运季)】因无法核实真实出处,未能及时与作者取得联系,或有版权异议的,请联系管理员,我们会立即处理! 部分文章是来自自研大数据AI进行生成,内容摘自(百度百科,百度知道,头条百科,中国民法典,刑法,牛津词典,新华词典,汉语词典,国家院校,科普平台)等数据,内容仅供学习参考,不准确地方联系删除处理!;
工作时间:8:00-18:00
客服电话
电子邮件
beimuxi@protonmail.com
扫码二维码
获取最新动态
