在我们国家,很多家长和考生都非常膜拜,希望成为她的学生家长或者校友,至今还保留着两地办学的模式。
她,就是华北电力大学。
无论实力您是否认可,由于她所属的行业至今依然是朝阳产业,所以几十年来一直被人看好。作为一个行业高校,或者准确说是行业内的龙头高校,“211”“双一流”自然少不了她的,传奇一直是传奇。
不过,对于98%的家长而言,并不了解这所像神一样存在的高校,除了很多人懵懂的“电力”专业,其他还有什么专业不错,恐怕没有多少人能说清楚。
关注华北电力大学的朋友们,最近几年可能会发现这样一个现象:那就是在各种校史介绍中,北京动力经济学院的历史很少有人提了。
只要随便上网一搜索就会看到这样的信息,那就是:1995年7月,华北电力学院与北京动力经济学院合并组建“华北电力大学”,校部设在保定,分设北京部分,撤销华北电力学院和北京动力经济学院的建制。
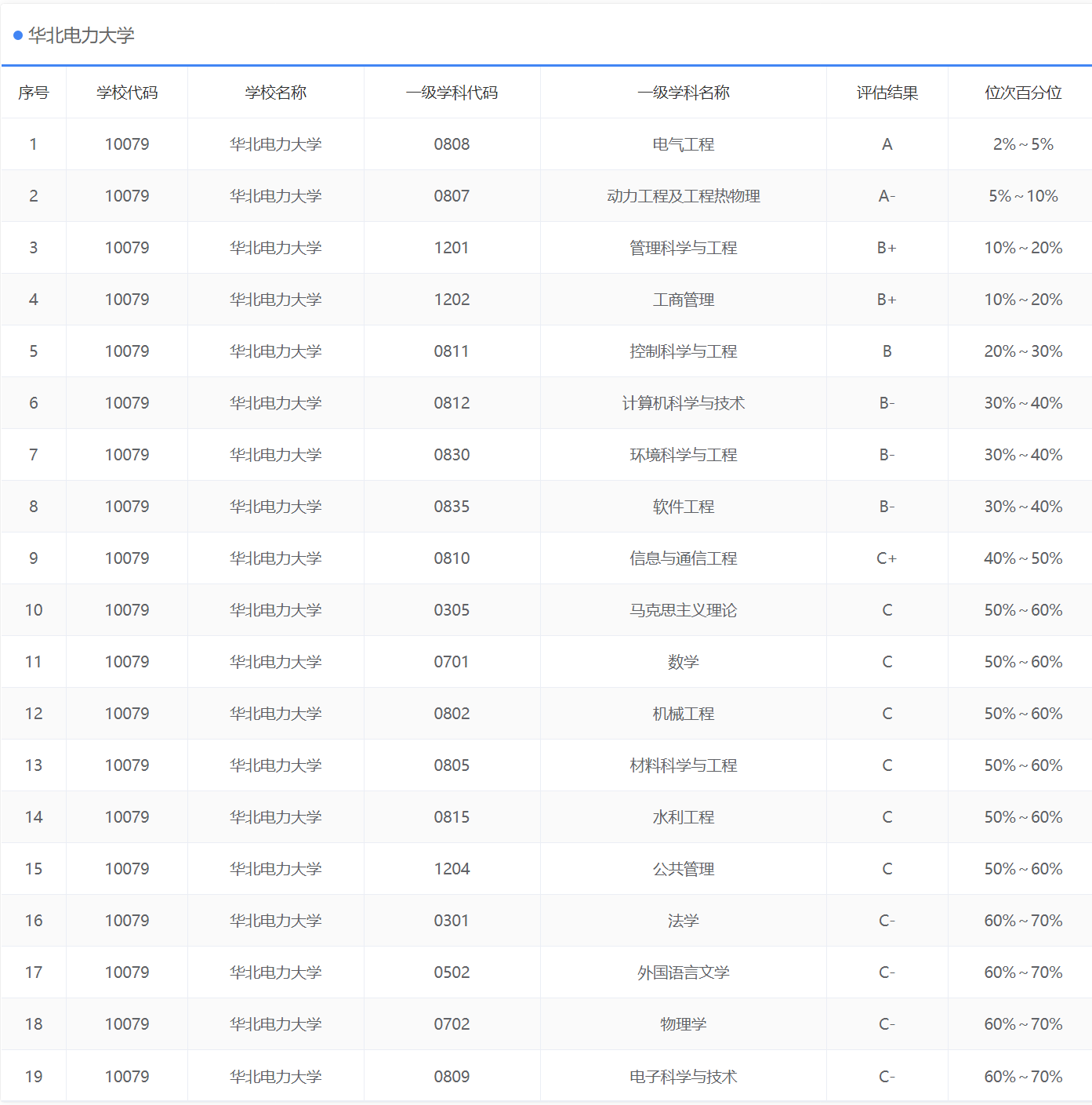
无论愿意不愿意,北京动力经济学院仍然是如今华北电力大学的构成主体,也为华北电力大学拥有电气工程、动力工程及工程热物理两个A类学科奠定了重要基础。
我们看到华北电力大学网站上关于长期隶属于国家电力部门管理,2003年划转教育部管理,现由2家特大型电力集团和中国电力企业联合会组成的理事会与教育部共建,等等这样的内容,予以重点介绍。
但这并不妨碍,明眼人一眼就可以看出来,华北电力大学的王牌院系,还是电气与电子工程学院、能源动力与机械工程学院、控制与计算机工程学院、经济与管理学院,至于新能源学院、核科学与工程学院、环境科学与工程学院、水利与水电工程学院、数理学院、人文与社会科学学院、外国语学院、马克思主义学院、能源互联网学院、人工智能学院等学院,地位看上去要低一些。
为什么会出现这样的局面,说白了还是底子在那摆着,“电力”“动力”“经济”那是传统优势学科专业。
一份就业质量报告,就好比一份绩效评价报告,高校教育教学水平的高低,在这个时候算是水落石出了。还好,每年每个高校都要对外公布自己的就业质量报告,大家一方面审美疲劳,另一方面很多高校遮遮掩掩,很少有人拿来说事。
在小编看来,这个毕业生就业质量报告,最能看出学校的学科专业发展重点是什么,毕业生最想学习的专业是什么。比如,华北电力大学2021年毕业生就业质量年度报告,显示电气工程及其自动化毕业生多达968人,能源与动力工程也超过了600人。
索性,我们把华北电力大学得分专业落实情况贴出来,大家可以从中看到自己最感兴趣的落实率和深造率。其中,落实率就是大家看重的就业率,相关数字包括深造率。深造率吗,就是考研和出国人数的相对比率。
至于大家关心的就业单位,华北电力大学就业质量报告显示,2021年签约本科生超过50%进入了国有企业,这其中到底是电网多,还是发电企业多,或者是研究院、工程建设单位多,学校没有披露更多数字。
由于两地办学,所以有着不同的录取分数线。从 2021 年各省录取的平均情况来看,北京校部理工类(物理类)专业录取最低分排名平均在省内前 10000 名,位列各省前 8%;平均分排名省内前 7000 名,位列各省前 5%;最高分排名省内前3000 名,位列各省前 2%。文史类(历史类)专业录取最低分排名平均在省内前2500 名,位列各省前 3%;平均分排名省内前 2000 名,位列各省前 2.5%;最高分排名省内前 1500 名,位列各省前 1.8%。
相应地,保定校区就差了点:理工类(物理类)专业录取最低分排名平均在省内前 13000 名,位列各省前 10%;平均分排名省内前 9000名,位列各省前 8%;最高分排名省内前 5000 名,位列各省前 3%。文史类(历史类)专业录取最低分排名平均在前 3700 名,位列全省前 5%;平均分排名省内前2500 名,位列各省前 3%;最高分排名省内前 2000 名,位列各省前 2.5%。
但这样的成绩,无论考上哪个校区都算是不低了,说明大家还是很看好这所行业院校的。那么该如何选择专业呢?当然要看一流本科专业和通过认证的专业。截至 2021 年 9 月,华北电力大学的电气工程及其自动化、核工程与核技术、环境工程和自动化 4 个专业通过教育部工程教育专业认证,15 个专业入选国家级一流专业建设点,14 个专业入选省级一流本科专业建设点。
需要各位考生和家长知道的是,华北电力大学现在实施的是大类招生,2021年为24个大类。按选考科目要求共分为3种:必选物理组(电气类等19个类),必选化学组(环境科学与工程类),不限选考科目组(工商管理类、法学类、公共管理类、外国语言文学类)。
所以在报考的时候,一定要看清楚自己要报考的大类都包括什么专业,然后结合自己的兴趣选择大类。为了方便大家报考,小编把两个校区的大类招生计划和北京、河北两地相应的录取分数线贴出来,大家可以参考一下。
那么,考上了某个大类,是不是就能够上某个心仪的专业?答案自然是否定的,根据《华北电力大学本科生转专业和大类专业分流实施细则》,转专业、大类专业分流工作一般在一年级结束后进行,根据学生分流志愿、学分绩排名确定学生分流专业。
对于那些希望能够学习电气工程及其自动化的朋友们来说,到校恐怕不好好学习是不行的了。
版权声明:我们致力于保护作者版权,注重分享,被刊用文章【华北电力大学专业(华北电力大学)】因无法核实真实出处,未能及时与作者取得联系,或有版权异议的,请联系管理员,我们会立即处理! 部分文章是来自自研大数据AI进行生成,内容摘自(百度百科,百度知道,头条百科,中国民法典,刑法,牛津词典,新华词典,汉语词典,国家院校,科普平台)等数据,内容仅供学习参考,不准确地方联系删除处理!;
工作时间:8:00-18:00
客服电话
电子邮件
beimuxi@protonmail.com
扫码二维码
获取最新动态
