今天小编整理了西安交通大学、西北工业大学、西北大学、长安大学、西安科技大学、陕西科技大学、西北政法大学、西安外国语大学、西安理工大学、陕西中医药大学、西安邮电大学、西北农林科技大学、西安工业大学、西安医学院的2019年在陕招生计划以及往年录取分数线供大家参考!
西安交通大学是我国最早兴办、享誉海内外的著名高等学府,是国家教育部直属重点大学。是“七五”“八五”重点建设单位,首批进入国家“211”和“985”工程建设学校。2017年入选国家“双一流”建设名单A类建设高校,8个学科入选一流建设学科。
2019年西安交通大学在陕招生计划

2018年在陕西省录取信息

西北工业大学坐落于陕西西安,是我国唯一一所以同时发展航空、航天、航海(三航)人才培养和科学研究为特色的多科性、研究型、开放式大学,隶属于工业和信息化部。新中国成立以来,西工大一直是国家重点建设的高校,1960年被国务院确定为全国重点大学,“七五”、“八五”均被国务院列为重点建设的全国15所大学之一,是全国首批设立研究生院的22所高校之一,1995年首批进入“211工程”,2001年进入“985工程”,2017年进入国家“一流大学”建设高校(A类),是“卓越大学联盟”成员高校。
2019年西北工业大学在陕招生计划


西北大学简称“西大”,坐落于古都西安,是中华人民共和国教育部与陕西省人民政府共建的综合性全国重点大学,位列首批国家“世界一流学科建设高校”、国家“211工程”重点建设高校。学校现有太白校区、桃园校区、长安校区三个校区,总占地面积2360余亩。现有23个院(系)和研究生院,89个本科专业。学校现有24个博士学位授权一级学科、37个硕士学位授权一级学科、14个专业学位授权类别。
西北大学2019年招生计划
2019年新增知识产权、智能科学与技术、生物医学科学和临床医学等4个本科专业,面向全国招收本科生3300人。



2018年在陕录取情况

长安大学直属国家教育部,是教育部和交通运输部、国土资源部、住房和城乡建设部、陕西省人民政府共建的国家“211工程”重点建设大学,国家“985工程优势学科创新平台”建设高校,国家世界一流学科建设高校。
学校坐落于历史文化名城西安,现有校本部和渭水2个校区、太白山和梁山2个教学实习基地,校园面积3745亩。校本部毗邻西安大雁塔,渭水校区位于国家级西安经济技术开发区。60多年来,长安大学逐步发展成为以工为主,理工结合,人文社会科学与基础学科协调发展,以培养公路交通、国土资源、城乡建设等专业人才为办学特色。

西安科技大学历史悠久,底蕴深厚。学校办学历史可以追溯到1895年成立的北洋大学工学院采矿冶金科,1938年迁并于西北工学院矿冶系,1957年并入西安交通大学,1958年从西安交通大学分出成立独立的西安矿业学院,是当时隶属原煤炭工业部仅有的2所5年制本科院校之一。1998年学校实行“中央与地方共建,以地方管理为主”,划转陕西省。1999年更名为西安科技学院,2003年更名为西安科技大学。
2019年在陕西招生计划




陕西科技大学,位于西安市未央大学园区,是“十二五”期间陕西省重点建设的高水平大学,也是中国西部地区唯一一所以轻工为特色的多科性大学,入选国家“中西部高校基础能力建设工程“和教育部“卓越工程师教育培养计划“,是陕西省人民政府与中国轻工业联合会、中国轻工集团公司共同建设的重点高校。
2019年在陕招生计划汇总

西北政法大学坐落于世界历史文化名城西安,是一所法学特色鲜明,哲学、经济学、管理学、文学等学科相互支撑、协调发展的多科性大学。
学校是西北地区法学教育研究中心和人文社会科学研究的重要基地,是被誉为政法人才培养国家队的“五院四系”之一,是陕西省重点建设的高水平大学、一流学科建设高校,是全国法学高等教育“立格联盟”和西安高水平有特色高校“长安联盟”的成员单位。
西北政法大学2019年招生计划
注:最终计划以教育部审核通过并下达至各省招生管理部门的数据为准。

2018年录取分数线

【关于2019年陕西省考生报考我校公安类专业的说明】
1、公安类专业是指:侦查学、侦查学(经侦)、治安学、刑事科学技术。公安专业志愿属提前录取批次。学制4年,前3个专业授予法学学士学位,刑事科学技术专业授予工学学士学位。
2、无需参加单独的政审、面试、体检,录取以高考报考体检表为准。
3、报考公安类身体条件为:男生身高1.70米、女生身高1.60米以上;双眼裸眼视力达4.70以上,排除其他不适合录取的身体疾病。其他具体要求见教育部高校学生司、司法部法规教育司二〇〇三年三月十一日发布的《中国政法大学、西南政法大学、中南财经政法大学、华东政法学院、西北政法学院和中央司法警官学院提前录取专业招生办法》。
4、高考成绩达到陕西省二批本科线的考生均可报考。
西安外国语大学是新中国最早建立的4所外语院校之一,是西北地区唯一一所主要外语语种齐全的普通高校,是一所以外语教育和人文学科为主体,社会学科、管理学科和理学学科协调发展的多学科外国语大学,国家重要的外语人才培养基地。
截至2019年3月,学校下设21个学院(部),开设56个本科专业,覆盖文学、经济学、管理学、法学、教育学、理学、艺术学7个学科门类。
2019年在陕招生计划

2016-2018年在陕各专业录取分数线

西安理工大学是中央与地方共建,陕西省重点建设的高水平大学,是国家中西部高等教育振兴计划——中西部高校基础能力建设工程实施院校,陕西省“国内一流大学建设高校”。学校是我国西北地区水利水电、装备制造、印刷包装行业高级专门人才的重要培养基地和科研中心之一。
西安理工大学2019年在陕各批次招生计划







陕西中医药大学的前身是陕西唯一一所培养高级中医药人才的普通高等院校,是1978年中共中央56号文件确定的全国8所重点建设的中医院校之一。
经过60多年的建设和发展,陕西中医药大学已成为一所以中医药专业为主体,医、理、工、文、管多学科专业相互支撑、交叉融合的医学类院校。
2019年在陕招生计划普通类(本科一批)

陕西提前批本科


陕西单设本科批

西安邮电大学是一所以工为主,以信息科学技术为特色,工、管、理、经、文、法、艺多学科协调发展的普通高等学校,是我国特别是西北地区信息产业高级专门人才培养的重要基地。
西安邮电大学2019年在陕招生计划
艺术类(提前批B段)

一批本科

贫困地区专项计划

西北农林科技大学地处中华农耕文明发祥地、国家级农业高新技术产业示范区——陕西杨凌,教育部直属、中管32所副部级建制重点大学之一,国家“985工程”和“211工程”重点建设高校,首批入选国家“世界一流大学和一流学科”建设高校。








学校创建于1955年,是国家“一五”计划156个重点建设项目的军工配套项目,具有鲜明的军工特色,是兵器行业部署在西北地区唯一的本科院校。
学校现有14个教学单位,有“光学工程”、“材料科学与工程”和“机械工程”3个博士学位授权一级学科,3个博士后科研流动站。有15个硕士学位授权一级学科,6个专业硕士授权类别,20个专业学位授权领域;学校有54个本科专业。学科专业涵盖工学、理学、管理学、经济学、法学、文学、教育学、艺术学等8个学科门类。
西安工业大学2019年陕西省招生计划

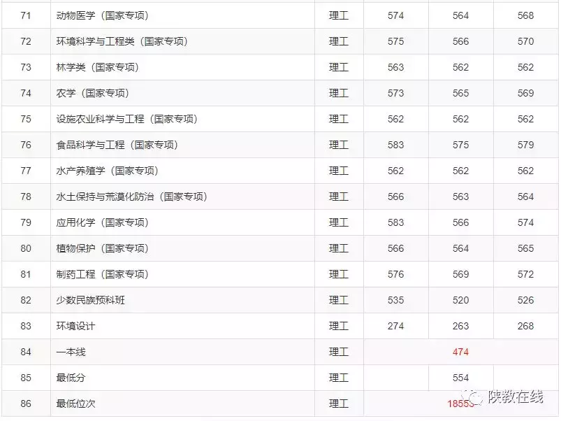
2018年各专业分数情况统计表(陕西)




2019年在陕本科提前批次国家免费医学定向生招生计划一览表

2019年在陕本科单设批次地方专项招生计划一览表

2019年在陕本科一批招生计划一览表

2018年西安医学院在陕西省分专业录取情况统计表

(来源:陕教在线 )
版权声明:我们致力于保护作者版权,注重分享,被刊用文章【西西北大学(西交大)】因无法核实真实出处,未能及时与作者取得联系,或有版权异议的,请联系管理员,我们会立即处理! 部分文章是来自自研大数据AI进行生成,内容摘自(百度百科,百度知道,头条百科,中国民法典,刑法,牛津词典,新华词典,汉语词典,国家院校,科普平台)等数据,内容仅供学习参考,不准确地方联系删除处理!;
工作时间:8:00-18:00
客服电话
电子邮件
beimuxi@protonmail.com
扫码二维码
获取最新动态
