民转公背景下“2022年普通初中招生计划”大盘点系列:中原区、二七区、高新区、金水区、管城区已做详细分析,本篇(第四篇)重点分析经开区2022年初中招生的变化——民办初中、小学暗淡离场,仅剩高中一个赛道,民办教育还有机会吗?
今天简单梳理一下经开区公办学校的动态,重点聊聊经开女子中学停招、郑州一中经开实验学校民转公背后的故事。
对比2021、2022经开区招生计划得知经开区区初中(含民办、公办)招生情况有以下变化:
①总班额:2021年高新区公办、民办招生计划班数分别为106班、19班,合计125班;2022年为公办、民办招生计划分别为124班、8班,合计132班,合计增加7班约350人招生计划。
②招生学校数量:2021年公办学校10所、民办学校3所,2022年公办学校、民办学校分别为10所、1所;公办学校方面,招生班次、招生人数计划除了经开二中外,并无大的变化(2020-2021为调整过渡期);民办学校方面,郑州国庆中学、郑州经开区外国语女子中学停招,其背后原因令人惋惜。
③重点关注:
经开外国语托管经开五中,成立经开外国语北校区,优质教育资源倍增计划对于经开区来说迫在眉睫,但的确过快了,具体效果如何有待观察;
经开外国语与十一中(高中)合作开展初高中课题衔接,参照郑州中学、郑州四中的办学模式,这次合作值得持续关注;
郑州一中托管郑州市第八十五中,成立第八十五中校区;
育才中学——2021年第一年招生,经开区传统名校骨干共同组建育才中学管理层,同时首创“专家(团队)治校”,值得期待。
经开区致远中学——拥有成熟的教研体系,公办学校实验班已经得到认可,民办学校生源优势不明显,但实验班仍旧值得期待。
④惋惜
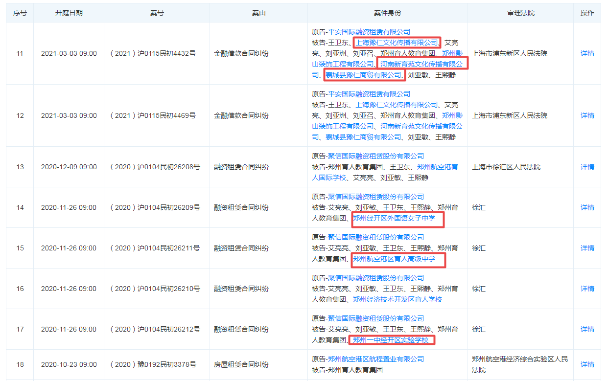
郑州经开区外国语女子中学停办、郑州一中经开实验学校民转公,引起了腾飞的关注,其投资方都离不开一家教育公司——郑州育人教育集团。
据查,郑州育人教育集团2019年下半年以来就因房屋租赁租金问题被郑州航空港区航程置业起诉至航空港区人民法院,2020年以来,其集团投资的几所学校先后因为“融资租赁合同纠纷、房屋租赁合同纠纷、金融借款合同纠纷“”等被诉至法院,涉及到其集团投资的郑州华夏中学、郑州一中经开实验学校、郑州航空港育人国际学校、郑州经开外国语女子中学、郑州航空港区育人高级中学等学校以及相关公司。
数据来源:天眼查
再深入去查,以上涉及的几所学校,招生情况
郑州华夏中学(民办高中) 2020年招生4个班,2021年招生4个班、2022年招生4个班;
郑州一中经开实验学校(民办初中) 2020年招生8个班,2021年转为公办以经开二中的名义招生,作为第一个吃螃蟹的民转公学校,因为八年级、九年级收费的问题,还被家长们维权。2022年招生14个班,满血复活(公办)
郑州航空港育人国际学校(民办初中) 2020年招生8个班, 2021年招生8个班,2022年仅招收1个班;
郑州经开外国语女子中学(民办初中)2020年招生6个班,2021年招生5个班,2022年经开区女子中学停办;
郑州航空港区育人高级中学(民办高中)2020年招生14班,2021年招生14班,2022年招生16班;
由此,可以看出,未来,民办学校初中、小学阶段的生源基础将不复存在;更加专注民办高中的办学,以品牌优势赢得口碑,或是其最好的出路。但是,与房地产开发一样,这类民办学校有个统一的硬伤——通过融资大量投资基础设施(学校)建设、租赁,造成大量的资金沉淀和负债,这对于投资方来说,都是很大的挑战,这也影响着学校口碑和办学的稳定性。
比如名门地产北龙湖枫杨外国语胎死腹中、东枫杨中学划归中牟管辖、育人教育集团女子中学停办……
只想说,都挺难的,且行且珍惜,加油吧!
版权声明:我们致力于保护作者版权,注重分享,被刊用文章【郑州国际育人学校(民办中小学暗淡离场)】因无法核实真实出处,未能及时与作者取得联系,或有版权异议的,请联系管理员,我们会立即处理! 部分文章是来自自研大数据AI进行生成,内容摘自(百度百科,百度知道,头条百科,中国民法典,刑法,牛津词典,新华词典,汉语词典,国家院校,科普平台)等数据,内容仅供学习参考,不准确地方联系删除处理!;
工作时间:8:00-18:00
客服电话
电子邮件
beimuxi@protonmail.com
扫码二维码
获取最新动态
