平时在老百姓心中有这样几个职业,一听就很有威望和地位,比如说老师、医生、警察等等。这些职业都是日常生活相关的,上学找老师,看病找医生,有事找警察等等。所以很多时候,父母都希望自己的子女能够选择这样的职业,不仅走出去有面子,而且待遇也不差。一时间这样类型的职业的相关专业就成为了“大热门”。
但是公安类在国内是一个比较小众的学科专业,相比于工科、理科,这类专业真的设置的学校少,好学校更是少之又少,如何选择一所高性价比的大学读公安类专业就很“困难”,那么今天的文章就和大家聊聊国内开设该类专业的大学。
首先我们先来了解一下,什么是公安学?公安学类专业又包括那些专业?
公安学,是关于中国公安工作规律和对策的知识体系,是所有公安学科的总称。研究的是调整有关国家安全与社会治安秩序的社会关系的行为规律,是一门社会科学与自然科学相交叉的综合学科。
目前国内开设的公安学类专业包括:禁毒学、侦查学、治安学、犯罪学、公安管理学、公安情报学、边防管理、国内安全保卫、经济犯罪侦查、警犬技术、警卫学、警务指挥与战术、涉外警务、消防政治工作、消防指挥等等。
公安学是非常综合的一个学科,包括安全保卫、群众消防,甚至警犬的训练等等都是公安学专业的范畴,针对自己的兴趣选择合适的专业是最理想的。
中国人民公安大学、中国人民警察大学、甘肃政法大学、西南政法大学、西北政法大学、华东政法大学、中国政法大学、中南财经政法大学
XX警察学院、XX警官学院、中国刑事警察学院、公安学院等等。
一般来讲,警察是和法律紧密联系在一起的,所以国内的政法大学也会开设一些相关的公安类专业,像侦查学、治安学等等,几乎国内的独立的政法大学都有,还有一部分的政法大学,像西南政法大学还开设有经济犯罪侦查专业。所以说,大家看到政法大学开设公安专业并不奇怪,就像公安大学开设法律专业一样,只是侧重点不一样,公安大学的法律可能更偏向于刑法。
在众多的政法大学中,只有西政是开设了经济犯罪侦查学专业的。而且还是中国高水平专业,对于政法大学来讲,能开设这样的专业,说明学校的底子是有的,今年在江苏省的最低分也是589分。而去年经济犯罪侦查学专业最低分574分,这个分数还是比较高的。
作为国内为数不多的两所公安类大学,中国人民公安大学和中国人民警察大学就成了很多立志当公安干警的人的梦想高校。毕竟这两所大学是国内实力最强,地位最高的大学。谁不想去更好的大学呢?
中国人民公安大学去年在北京的最低分是608分,这个分数线在北京可能不算高,但是对于中国人民公安大学来讲是比较高的了!
中国人民公安大学已经将公安大学的名号深深的刻在了老百姓心中,在众多的悬疑电视剧中,公安大学也是常常成为主角的毕业大学,所以说只要是在国内公安人才毕业于公安大学就相当于普通专业毕业于清华大学的那种地位。
除了公安大学就是另一所警察大学。
中国人民警察大学位于河北廊坊,前身是中国人民警察武装部队学院,在2018年才正式更名为中国人民警察大学,相比于中国人民公安大学的历史悠久和地位,中国人民警察大学的发展并没有这么久远,反而给人一种沾了名字光的感觉,实际上这所大学为中国培养了专门的警察人才数不胜数,只是前身一直让大家不太知道,所以在知名度上也不如中国人民公安大学。但是实力上是没有问题的。
目前为止,中国人民警察大学开设有三个大专业类别,法学、工学、管理学。这三个专业大类中,基本上都和公安学相关,像法学中的公安情报学、公安学中的消防工程、核生化消防等等。如果对这类专业感兴趣,警察大学也是一个不错的选择。现在刚刚更名不久的警察大学分数线不算高,现在报名还有很大概率能上。
除了公安大学和警察大学,还有两所国字号的公安类大学,中国刑事警察学院和中央司法警官学院。其中中国刑事警察学院是中国一流大学,而中央司法警官学院是中国的高水平大学,四星级。
中国刑事警察学院是很多男孩子心中的梦想大学,做一名刑警是一件很酷的事情,同时也是一件很苦的事情。为民除害,守护万家灯火,所以中国刑事警察学院在众多学生心中的地位还是很高的。是中国最早的培养公安干部的高校。在1981年完成重组,和公安部人民警察干部学校合署办公。中国刑事警察学院最好的专业自然是刑事科学技术,该专业是国家特色专业建设点,也是省级示范专业。南京市公安局江宁分局网安大队副大队长王海丁,也就是那个幽默风趣的江宁婆婆,就是毕业于此。一大批优秀的公安干警从这里走向岗位。
另外一所学院位于河北保定,中央司法警官学院。是中国司法行政系统的最高学府、司法行政系统后备人才培养基地、司法行政系统领导干部和高级警官培训基地、司法行政理论研究创新基地,被誉为“司法警官的摇篮”。
中央司法警官学院既然是司法行政的最高学府,那么学校的专业自然是司法部的重点学科,中央司法警官学院的监狱学就是司法部重点学科。拥有罪犯教育学、矫正教育学、刑法学等知名学科的网络课程,可以提供给大众学习。在司法界的权威。可见一斑。
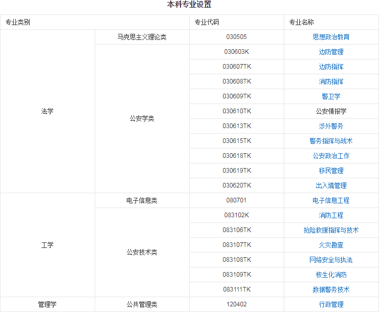
最后给大家一个总表,对应学科专业参考一下吧!
我们国家的社会治安在全世界都是出了名的,警察、公安一直是安全的象征,人们对于这类职业也是非常的尊敬。在分数条件允许的情况下,首先考虑中国人民公安大学,然后退而求其次选择中国人民警察大学、中国刑事警察学院、中央司法警官学院、南京森林警察学院等等。不知道大家对于公安类大学的情况有没有了解呢?
版权声明:我们致力于保护作者版权,注重分享,被刊用文章【西北政法大学公安学院(想学公安学专业)】因无法核实真实出处,未能及时与作者取得联系,或有版权异议的,请联系管理员,我们会立即处理! 部分文章是来自自研大数据AI进行生成,内容摘自(百度百科,百度知道,头条百科,中国民法典,刑法,牛津词典,新华词典,汉语词典,国家院校,科普平台)等数据,内容仅供学习参考,不准确地方联系删除处理!;
工作时间:8:00-18:00
客服电话
电子邮件
beimuxi@protonmail.com
扫码二维码
获取最新动态
