近些年,各个地区开始启动校园双重预防体系建设工作,在学校建设适用于中小学(幼儿园)和大中专院校校园安全双重预防体系,在“把风险控制在隐患形成之前,把隐患消灭在事故之前”。
校园安全双重预防体系应用的推进,进一步让各级教育行政部门知道“指导什么、如何组织、怎么指导”,让学校知道“做什么、怎么做、谁来做”,切实解决校园双重预防体系建用脱节等过程性问题,持续深化校园安全风险隐患双重预防体系建设。
此前,教育部出台《构建校园安全风险综合防控体系》及《关于加快推进风险管控和隐患排查治理双重机制建设的意见》,要求采用“人防、物防、技防”等手段,完善校园安全风险防控体系建设,确保校园安全。
各地各学校双重预防体系建设重点是要围绕有完善的工作推进机制、有全面覆盖的风险辨识分级管控体系、有责任明确的隐患排查治理体系、有线上线下的智能化信息平台、有奖惩分明的激励约束制度的“五有”标准,继续对标提升,真正让双重预防体系在学校落地生根、真建真用、常态长效。
校安成长针对校园安全建设的双重预防体系自建设以来,进行了大胆的探索和实践,取得了一定的成绩和效果。
(一)基础数据配置
(1)基础信息
支持填写学校基础信息、平台信息以及学校管理架构、相关文件,为平台提供基础数据支撑。
(2)权限管理
自定义角色分配权限,以校领导、老师不同角色登录后提供不同的功能模块和系统资源,为学校和管理部门提供个性化服务。
(3)组织架构
支持学校管理者、教师、学生的管理;支持部门负责人设置,支持部门及部门成员排序,支持自动生成部门群。
2、通知公告
可通过系统发布通知公告,如下达安全教育计划通知、安全活动通知,支持文本文档、图片、动画、网页、红头文件、附件。支持接收、查看教育局下发的通知公告。
3、任务管理
(1)工作任务:支持接收并处理上级部门发布的工作任务,可在线即时反馈和上报(支持上传附件),支持校内工作任务下发,以及模板管理。
(2)安全教育计划:支持填报安全教育计划管理,并进行总结。
(3)安全活动:支持填报安全活动管理,并支持参与。
(4)安全制度管理:支持学校完成教育局下发的安全制度管理,及校内自行制定安全制度管理。
安全风险评估系统又名风险双重预防和评估系统,即学校安全风险辨识管控与隐患排查治理双重预防体系两道防火墙(紧箍咒)构成双体系,第一道:以安全风险辨识和管控为基础,从源头上系统辨识风险、分级管控风险,努力把各类风险控制在可接受范围内,杜绝和减少事故隐患;第二道:以隐患排查和治理为手段,认真排查风险管控过程中出现的缺失、漏洞和风险控制失效环节,健全风险辨识管控机制,坚决把隐患消灭在事故发生之前。
双重预防体系构建工作程序主要包括成立领导小组和工作机构,组织人员培训,划分并确认风险点、风险辨识、风险评价、风险分级、编制风险隐患清单、制定风险分级管控措施、排查治理隐患、闭环管理、持续改进等。(工作流程详见下图)
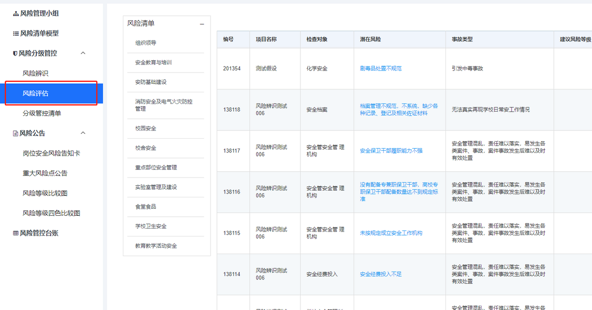
平台截图:
(1)风险判定准则
学校应结合可接受风险实际,制定事故(事件)发生的可能性、严重性和风险度取值标准,明确风险判定准则,以便准确判定风险等级。风险等级判定应按从严从高原则。
(2)风险点确定
风险点主要分为静态风险点和动态风险点,划分应遵循大小适中,便于分类、功能独立、易于管理、范围清晰的原则。
学校风险点应涵盖教学、科研、实习、实训等所有常规和非常规状态的教育教学活动。根据各级各类学校特点,可以将每个独立设施设备或区域设为风险点,每个房间或区域可以有多个危险源;也可将教学、科研、实习、实训等教育教学活动做为风险点。
(3)风险点排查
学校(单位)要进行全过程风险点排查,形成风险点名称、所在位置、可能导致事故类型、风险等级等内容的基本信息。
(4)危险源辨识
对排查出的风险点进行危险源辨识。
学校风险源应主要包括以下内容:
(5)风险评价
1风险评价方法
各级各类学校要根据自身特点选择合适的评价方法,建议使用风险矩阵法(L·S)和教学条件危险性分析(LEC)作为判断风险等级的分析评价方法。
2风险分级
对危险源所伴随的风险进行定性、定量评价,并根据评价结果划分等级,风险等级从高到低依次划分为重大风险、较大风险、一般风险和低风险,分别用红、橙、黄、蓝四种颜色标示。
重大风险:评估属不可容许的危险;必须建立管控档案,明确不可容许的危险内容及可能触发事故的因素,采取安全措施,并制定应急措施;当风险涉及正在进行中的教育教学活动时,应立即暂停。
较大风险:评估属高度危险;必须建立管控档案,明确高度危险内容及可能触发事故的因素,采取安全措施;当风险涉及正在进行时,应采取应急措施。
一般风险:评估属中度危险;必须明确中度危险内容及可能触发事故的因素,综合考虑伤害的可能性并采取安全措施,完成控制管理。
低风险:评估属轻度危险和可容许的危险;需要跟踪监控,综合考虑伤害的可能性并采取安全措施,完成控制管理。
(6)风险控制管理
1.分层分级管控
要对安全风险采取分级、分层、分类、分专业进行管控,落实领导层、管理层、教职员工层的风险管控清单,上级负责管控的风险,下级必须同时负责管控,并逐级落实具体措施。根据风险等级情况,进行风险管控的责任分配。在进行责任分配时,要严格按照安全生产各个领域的法律法规中关于责任认定的条款,依法依规划分责任,确定责任人。
重大风险:由学校管控。
较大风险:由业务主管部门、二级单位根据职责分工进行管控。
一般风险:由业务主管部门和二级单位的内部机构负责管控。
低风险:由岗位责任人管控。
2.编制风险清单
要在每一轮危险源辨识、风险分析、风险评价后及时更新风险清单和数据库。风险清单应至少包括风险位置、风险描述、可能导致后果、风险等级及其标示颜色、风险管控措施、风险管控层级、风险管控责任单位及责任人等内容,并按规定及时更新。
要将重大风险进行分类汇总,登记造册,重点监控,并对重大风险存在的场所或活动、采取的管控措施、责任单位及责任人等进行详细说明。
各级各类学校结合学校实际,可按单位编制风险清单,一点一单,逐级汇总,清单中应至少包括以下风险信息:编号、风险点名称、风险位置、危险源名称、风险类别、风险等级、管控主体、责任人、风险点检查事项、管控措施等内容。
3.形成风险分级管控档案
做好风险管控过程的相关记录,形成风险防控档案,至少要包括风险辨识管控制度,风险点清单,风险管控登记台账,以及分级管控情况及定期检查记录,涉及重大风险时,其辨识、评价过程记录,风险控制措施及其实施和改进记录等。
各单位要建立本单位的《风险管控登记台账》,台账应结合实际定期更新(每年至少一次)。
(7)风险公告
1.区域安全风险四色分布图
学校要将场所、设施等区域存在的重大风险、较大风险、一般风险和低风险,分别用红、橙、黄、蓝四种颜色标示在总平面布置图或地理坐标图中,并设置在醒目位置,向本单位人员和外来人员公示安全风险分布情况。采用如下统一色谱标准。
安全风险等级四色标识RGB色谱标准
2.安全风险比较图
利用统计分析的方法,采取柱状图、饼状图或曲线图等将难以在平面布置图、地理坐标图中标示风险等级的活动、程序、关键任务按照风险等级从高到低的顺序标示出来, 如实验实训、大型集会、文体活动、危化品管理、上下学管控等。
3.岗位安全风险告知卡
在安全风险工作岗位设置岗位安全风险告知卡,告知工作人员本岗位存在的主要危险源、引发后果、管控措施、应急措施、应急电话等信息。
4.重大安全风险公告栏
各级各类学校要建立完善安全风险公告制度,应在重大风险区域醒目位置和重点位置分别设置重大安全风险公告栏,标明主要安全风险、可能引发的事故隐患类别、事故后果、管控措施、应急措施及报告方式等内容。
5.重大风险警示标识及定置管理
应按照有关规定和场所的安全风险特点,在有重大风险和较大风险的场所和有关设备、设施上设置明显的、符合相关规定要求的安全警示标识。
应持续开展场所的整理、整顿、清扫工作,实施设备、设施科学布局、分类摆放、划线定置管理,保持工作场所清洁,规范教学行为,营造安全的教学环境。
6.风险公告、标识的保持
应定期对安全风险四色分布图、安全风险比较图、岗位安全风险告知卡、重大安全风险公告栏和安全风险警示标识进行检查和维护,确保其完好有效。
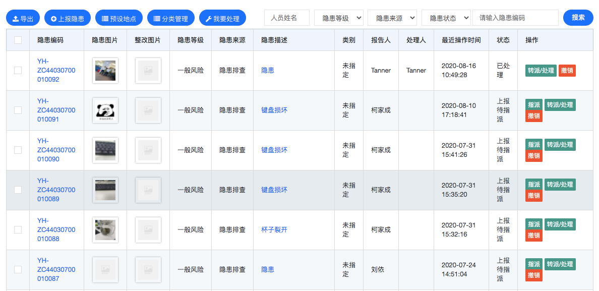
3.2.3隐患排查治理
1、隐患排查
要按照各类重大风险的全部控制措施和基础管理要求,编制包含全部重大风险在内的隐患排查治理清单。清单内容主要包括:风险点、隐患类型、隐患描述、隐患等级、治理措施、责任单位、责任人、治理期限、排查日期、销号日期、信息来源等。
2、排查流程
隐患排查流程严格按照系统内设置的流程进行,所有隐患在管理人员发现后,需要经过发现隐患、上报隐患、任务指派、隐患整改、隐患验收,最后形成数据台账记录在内。
2、隐患分级
根据隐患整改、治理和排除的难度及其可能导致事故后果和影响范围,分为一般事故隐患和重大事故隐患。
一般事故隐患:是指危害和整改难度较小,发现后能够立即整改排除的隐患。
重大事故隐患:是指危害和整改难度较大,应当全部或者局部停产停业,并经过一定时间整改治理方能排除的隐患,或者因外部因素影响致使学校自身难以排除的隐患。
3、隐患治理
实行分级治理、分类实施的原则。隐患治理应做到方法科学、资金保证、措施有效、责任到人、按时完成。本部门能够治理的不能推给上级部门;能当场纠正的必须当场纠正,无法立即治理的,治理前要制定防范措施,落实管控责任,防止隐患发展成事故。管理人员通报隐患信息后、平台系统自动下发隐患整改通知、实施隐患治理、治理情况反馈、验收等环节,并在平台后端自动生成统计数据,按照年、季度、月、周进行数据统计,帮助学校在隐患治理方面进行数据分析。
3.2.4过程管控
1管控要求
学校要以风险点为基本单元,对照安全风险管控清单开展安全风险管控效果检查分析和隐患排查。
2综合管控
学校主要负责人每半年组织一次综合安全检查活动:
(1)检查重大安全风险管控措施落实情况,开展隐患排查;
(2)分析重大安全风险管控效果和重大隐患产生原因,调整完善风险管控措施;
(3)补充新增风险及其管控措施;
(4)通报重大隐患治理情况,补充完善隐患清单,明确隐患分级治理责任。
3专业管控
各业务分管负责人每季度组织一次安全检查活动:
(1)检查分析各业务范围内的安全风险管控措施落实情况,开展隐患排查;
(2)补充完善安全风险管控清单和隐患清单。
4动态管控
4.1二级单位(部门)
二级单位(部门)每月开展安全检查:
(1)检查风险管控措施落实情况,排查治理隐患;
(2)不能立即整改的隐患及时上报,危及人身安全时停止教育教学活动,按程序处置;
(3)对新增风险采取临时风险管控措施,并及时上报。
4.2岗位
工作人员每天至少两次对岗位工作条件进行安全检查:
(1)依照岗位风险落实风险管控措施,排查治理隐患;
(2)检查结果及时汇报,危及人身安全时停止教育教学活动;
(3)发现新增风险及时汇报。
4.3情况通报
(1)学校每月要向主管教育行政部门报告双重预防体系运行情况。主要包括重大风险报告和重大隐患报告。
(2)重大风险报告应当包括以下内容:风险点的基本情况,风险类型、风险描述、风险管控措施、风险分级管控责任单位和责任人。
(3)重大隐患报告应当包括以下内容:隐患的现状、产生原因、危害程度、整改难易程度分析、治理方案、治理责任和治理期限等。
版权声明:我们致力于保护作者版权,注重分享,被刊用文章【学校无线覆盖解决方案(打造平安校园)】因无法核实真实出处,未能及时与作者取得联系,或有版权异议的,请联系管理员,我们会立即处理! 部分文章是来自自研大数据AI进行生成,内容摘自(百度百科,百度知道,头条百科,中国民法典,刑法,牛津词典,新华词典,汉语词典,国家院校,科普平台)等数据,内容仅供学习参考,不准确地方联系删除处理!;
工作时间:8:00-18:00
客服电话
电子邮件
beimuxi@protonmail.com
扫码二维码
获取最新动态
