编辑搜图
近日,茂名市教育局发布了一份关于公开征求《茂名市教育发展“十四五”规划(公开征求意见稿)》意见的公告,其中附件“茂名市教育发展“十四五”规划(公开征求意见稿)及起草说明”里的第四章第三节提到“支持广东茂名幼儿师范专科学校申请升格创建省内第一所幼儿师范本科院校,推动茂名技师学院纳入高等职业学校序列。依托广东茂名幼儿师范专科学校实行与省内本科院校联合专本同读培养教师模式,建设一批省级特色师范专业和教师教育学科品牌。”
这意味着什么,意味着茂名即将拥有两所本科院校(另外还有一所本科院校“广州科技职业技术大学”在茂名也有一个滨海校区不计入内),同时广东茂名幼儿师范专科学校也将是全省第一所幼儿师范本科院校!
学校最早可溯源到明朝万历四十年(1612年)的墨池书院。1905年,墨池书院改办为高郡师范学堂;1921年更名为广东省立第五师范学校。1930年,学校更名为茂名县立乡村师范学校;1949年与广东省立高州女子师范学校合并为广东省立高州师范学校;1970年更名为湛江地区师范学校;1973年更名为广东省湛江地区高州师范学校;1980年复办中师,更名为广东高州师范学校,是全省18所重点中师之一。
2001年,作为二级学院并入茂名学院,更名为茂名学院高州师范分院,全面实行大专办学;2010年更名为广东石油化工学院高州师范学院。2016年2月,广东省人民政府批复同意以广东石油化工学院高州师范学院为基础设立广东茂名幼儿师范专科学校;同年4月,学校在教育部备案。
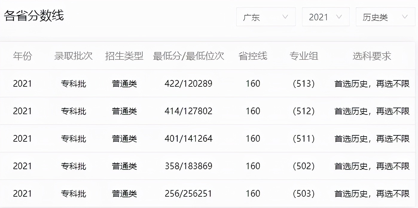
我们再来看下2021年茂幼师的高考录取分数线:
小编觉得本次升本的成功率比较大,一个是有茂名教育局的支持,还有就是国家政策方向对口,毕竟三胎政策的开放,必须有相对应的辅佐。相信茂名幼师一定可以成为我省第一所幼儿师范本科院校。
大家觉得呢?
版权声明:我们致力于保护作者版权,注重分享,被刊用文章【茂名学院(茂名有望再添一所本科院校)】因无法核实真实出处,未能及时与作者取得联系,或有版权异议的,请联系管理员,我们会立即处理! 部分文章是来自自研大数据AI进行生成,内容摘自(百度百科,百度知道,头条百科,中国民法典,刑法,牛津词典,新华词典,汉语词典,国家院校,科普平台)等数据,内容仅供学习参考,不准确地方联系删除处理!;
工作时间:8:00-18:00
客服电话
电子邮件
beimuxi@protonmail.com
扫码二维码
获取最新动态
