我们国家的好几所科技大学,都是由原来的钢铁学院更名而来,比如北京科技大学、武汉科技大学,还有内蒙古科技大学等等。
可能因为如此,很多人提到这些科技大学,还总是把“钢铁”二字挂在嘴边,多少有点嘲讽的意思。如果放在20年前,这种嘲讽可能还有点效果,毕竟当时的钢铁产业还是香饽饽,冶金相关专业就业也不错,所以这些科技大学自然围绕着钢铁产业在转。
20年过去了,这些科技大学的优势学科专业当然仍然是冶金类专业,但是如果仍然以老眼光来看待这些“科技大学”,那你就落伍了。
不信,今天我们就以武汉科技大学为例来聊聊。
近代中国第一家大型钢铁联合企业是“汉阳铁厂”,如今的武汉拥有“武钢”这样国字号的钢铁制造企业,又有“武船”、“武重”、“东风”这些国字号的大型民用钢铁用户,使武汉成为当之无愧的“工业重镇”。在这里,创办和建设一所“钢铁学院”,大家都会觉得理所当然。
同时,武汉也是我们国家的高教重地,在这里多一所“科技大学”,也为多少人所接受。可能正是这样的原因,武汉科技大学的发展历史可以说是顺风顺水,伴随着大武汉发展而不断发展:最早据说可以溯源于1898年成立的工艺学堂,历经湖北中等工业学堂、湖北甲种工业学校、汉阳高级工业职业学校、武昌高级工业学校、中南钢铁工业学校、武昌钢铁工业学校的传承与发展,在1958年正式组建为武汉钢铁学院,开办本科教育。这个名字,坚持用到1990年代。
这几十年间,有两个兄弟院校,也在一步步成长,一个是成立于1954年的武昌建筑工业学校,历经湖北冶金工业专科学校、武汉钢铁学校、武汉冶金建筑专科学校等多个阶段,1993年更名为武汉建筑高等专科学校。另一个是成立于1960年的武钢医学院,历经武汉冶金卫生学校、武汉冶金医学专科学校等多个阶段,1993年更名为武汉冶金医学高等专科学校。
1995年,武汉钢铁学院、武汉建筑高等专科学校、武汉冶金医学高等专科学校合并组建为武汉冶金科技大学。注意,当时叫做冶金科技大学,用意大家自然清楚,那就是要保留冶金特色,好比我们前面讲过、同属冶金工业部的西安建筑科技大学。
不过,武汉冶金科技大学这个校名使用时间并不长,很快该校成为第一批以地方管理为主的划转院校,并于1999年更名为武汉科技大学。为什么要把冶金两个字去掉,大家自然心领神会。如今的武汉科技大学是省部部共建的地方高水平大学,中西部高校基础能力建设工程高校,也是湖北省“双一流”建设高校。
在工学为王的时代,武汉科技大学这样的工科高校,在湖北省属高校中的实力还是比较突出的。注意,小编说的是湖北省属,武汉大学、华中科技大学等这样的非省属高校,就不要拿来与武汉科技大学比了,根本就不在一个频道。
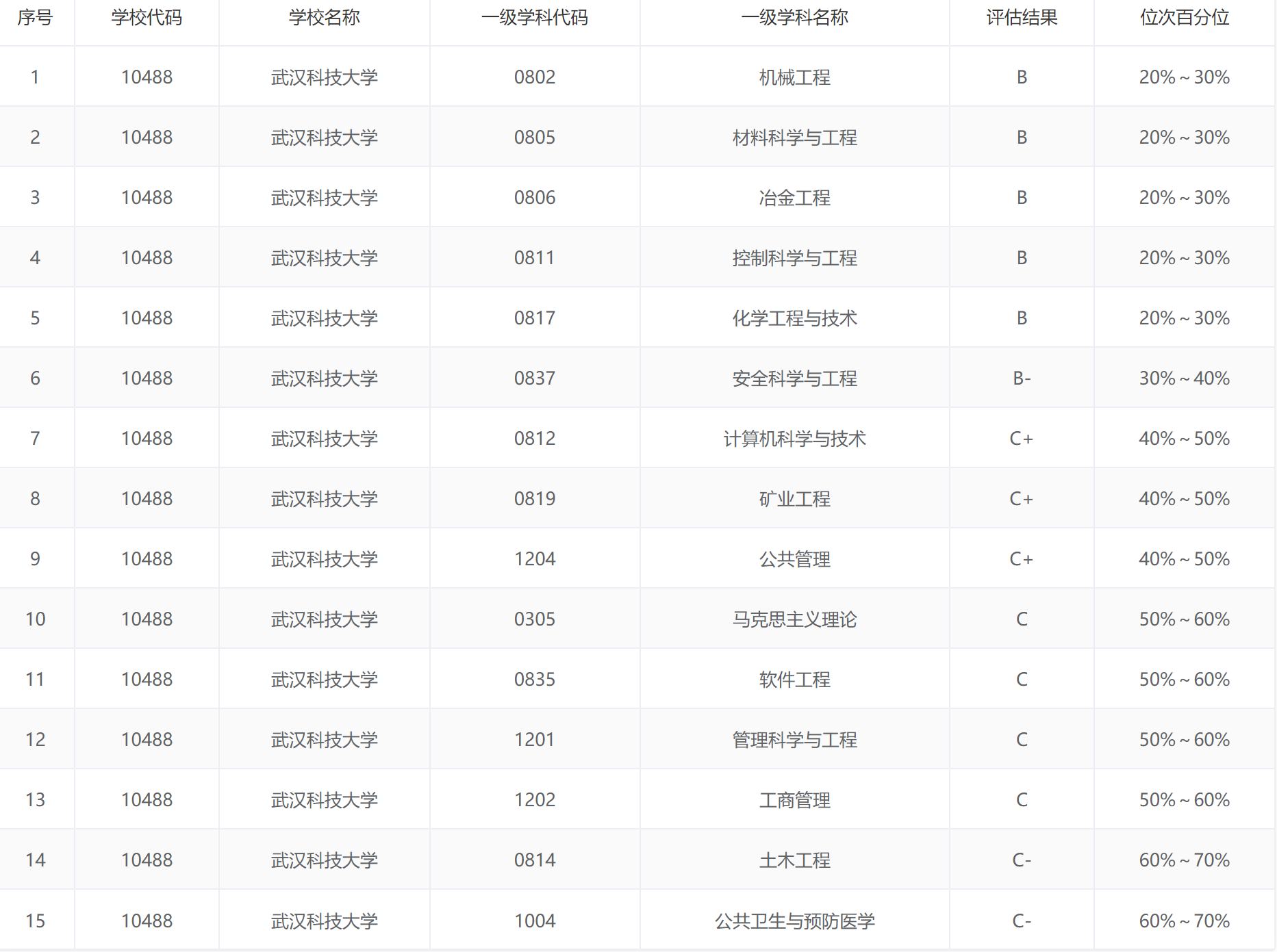
根据武汉科技大学官网介绍,在全国第四轮学科评估中,该校有11个学科位居湖北省属高校第一,分别为冶金工程、机械工程、材料科学与工程、控制科学与工程、计算机科学与技术、矿业工程、软件工程、安全科学与工程、公共卫生与预防医学、管理科学与工程、公共管理。当然,该校有关方面已经清醒认识到,尽管总体评价在湖北省属高校领先,进入前30%的学科数最多,但是,没有A类学科,还要在打造学科的优势和特色上下功夫。
对于一个拥有8个博士后科研流动站,8个一级学科博士学位授权点、33个一级学科硕士学位授权点和18个硕士专业学位类别的地方高校来说,等待她的只有往上冲一个选择,稍一松懈就会彻底沦为追赶者。
当然,学科发展水平高低,与毕业生就业情况不完全一致,比如很多高校都在大力发展生化环材类学科,产出了大量的科研成果,但是这些专业的毕业生就业情况大家是有目共睹的。那我们就来看看武汉科技大学的本科生就业情况,特别是大家印象中的代表性专业冶金工程专业的有关情况。
武汉科技大学的毕业生就业质量报告,是小编见过最为认真的那几所高校之一,将本科生和研究生分开进行报告。可能正因为太认真了,目前我们还拿不到这份就业质量报告2021年版。
不过老规矩老办法依然起效,那就是该校的2020—2021学年本科教学质量报告中,披露了不少有用的信息。
根据本科教学质量报告,武汉科技大学2021届5755名本科毕业生中,有5270人通过升学、出国出境留学、签约和自主创业等形式就业,就业率为91.58%。就业地域分布排名前六位的省市分别是:湖北省、广东省、浙江省、上海市、湖南省、江苏省,说明毕业生就业主要还是集中在南方地区。
考研率高无疑是该校的重要卖点,2021届本科毕业生共有1960人升学,占毕业生总人数的34.06%,比去年提高了0.89个百分点。2021届本科毕业生共有1960人升学,占毕业生总人数的34.06%,比去年提高了0.89个百分点。
从2021届毕业生签约就业的2935名来看,签约单位以企业为主,合计达到签约人数的95.06%,其中又以其他企业实际上就是民营企业为主,占比超过6成。
联系该校的历史,大家可能以为毕业生就业主要集中在制造业。实际情况却是,从就业单位行业分布来看,就业人数最多的三个行业为制造业823人(27.84%)、信息传输、软件和信息技术服务业579人(19.59%)与建筑业498人(16.85%),在这三个行业中就业人数占64.28%。
与去年同期相比,制造业就业比例提高了3.19%,建筑业就业比例降低了0.81%,信息传输、软件和信息技术服务业就业比例提高了4.99%。显然,制造业就业并不占绝对优势。
至于大家更为关心的每个专业就业情况,小编也帮大家从报告中找出来,以图片形式放在下面,有需要的朋友可能逐一研读一下。相对于其他高校来说,武汉科技大学将毕业率、就业率放在一起,使得家长和考生朋友更容易了解每个专业的学习和就业难度。
如果认真研读这张涉及70余个专业的2021届毕业生情况表,大家就会发现,冶金工程这样传统强势专业,居然毕业生只有75人,毕业率不到93%,去向落实率不到90%。这说明两点,报考冶金工程专业的考生真的少,这个专业学起来也可能真的不太容易,找工作看上去也不是很抢手。
这也是小编想给武汉科技大学点赞的地方,不好就业、生源不好的专业,即使像冶金工程这样的老牌专业,也没给予特殊照顾,说明学校是真的为学生考虑,为学校的长远发展打算,而不仅仅是为了招生而招生。
武汉科技大学现有78个本科专业,涵盖9个学科门类,校方表示“总体上能够满足行业与区域经济社会发展的需要”。对于普通考生和家长来说,也就意味着选择专业不是一件容易的事情,毕竟有着七八十个专业,尽管每个省的招生专业不会全都有,但是选择专业也是一件头痛的事情。该怎么选呢?小编认为三点很重要,一流本科专业、专业认证和个人未来规划,综合起来考虑才会选出自己喜欢又有前途的专业。
先说一流专业,官方没有给出总数,分别给出了国家级和省级一流本科专业建设点的数量,实际上有所重复。
小编计算结果是,武汉科技大学拥有33个一流本科专业建设点。22个国家级一流本科专业,分别是信息与计算科学、机械工程、冶金工程、无机非金属材料工程、电子信息工程、自动化、计算机科学与技术、软件工程、化学工程与工艺、矿物加工工程、临床医学、行政管理、车辆工程、材料物理、电气工程及其自动化、土木工程、采矿工程、工业工程、英语、信息管理与信息系统、工商管理、市场营销。
11个省级一流本科专业,是在官方16个专业基础上去掉与国家级重复部分,分别是:机械电子工程、建筑环境与能源应用工程、给排水科学与工程、预防医学、材料成型及控制工程、金属材料工程、工业设计、信息安全、安全工程、卫生检验与检疫、物流工程。
再说专业认证,这是新时期国家教育教学质量保障体系的重要组成部分,也是推进高等学校教育教学改革的重要举措,工程、师范、医学类专业认证越来越受到各方面重视。
截至2021年8月,武汉科技大学共有临床医学、建筑环境与能源应用工程、矿物加工工程、给排水科学与工程、冶金工程、自动化、机械工程、无机非金属材料工程、土木工程、采矿工程、工程管理和安全工程等12个专业通过了国家专业认证和评估。
最后说规划,上面提到的33个一流本科专业,以及后面提到的12个通过认证和评估的专业也好,或者是上面图片中就业率比较高的专业也罢,其实没有真正的好与不好。
说到底,好与不好取决于个人的未来规划,如果对某个领域感兴趣,那就努力学习,争取将来能够进入自己感兴趣的领域学习和工作。如果自己的起点不高,就是冲着武汉科技大学去的,那就不要太挑剔。
版权声明:我们致力于保护作者版权,注重分享,被刊用文章【武汉工业职业技术学院(武汉科技大学)】因无法核实真实出处,未能及时与作者取得联系,或有版权异议的,请联系管理员,我们会立即处理! 部分文章是来自自研大数据AI进行生成,内容摘自(百度百科,百度知道,头条百科,中国民法典,刑法,牛津词典,新华词典,汉语词典,国家院校,科普平台)等数据,内容仅供学习参考,不准确地方联系删除处理!;
工作时间:8:00-18:00
客服电话
电子邮件
beimuxi@protonmail.com
扫码二维码
获取最新动态
