第二轮“双一流”名单已经公布,江苏无疑是最大赢家之一,16所高校入选,成为真正的实力派省份。在羡慕嫉妒恨之余,我们更加需要注意的是,除了上面的16所高校,江苏还有好几所后备高校,正在虎视眈眈、摩拳擦掌,为进入“双一流”序列而不懈努力中。
这就是江苏高等教育的可怕之处,既有南京大学、东南大学这样的顶尖高手,还有南京航空航天大学、南京理工大学等一批一流高手,更有南京工业大学、江苏大学、扬州大学等等这样的实力派选手在热身中。
前面,我们已经说过江苏大学、扬州大学了,今天我们就来说说这所名字听上去不错、实力看上去不弱,实际上备受诟病、不被看好的南京工业大学。
1902年创办的三江师范学堂,是个神奇的存在,南京有点历史的高校,都在想办法与这所高校扯上关系,从而轻易成为百年老校。
我们今天说的南京工业大学,同样是这种情况:官方介绍说,南京工业大学原南京化工大学与原南京建筑工程学院于2001年合并组建而成。其一源头可追溯到创建于1902年的三江师范学堂,后历经两江师范学堂、南京高等师范学校、国立东南大学、国立第四中山大学、江苏大学、国立中大学、国立南京大学、南京大学、南京工学院和南京化工学院等历史时期;另一源头可追溯到同济医工学堂于1915年创建的附设机师科,后历经国立同济大学附设高级职业学校、国立同济大学附设高级工业职业学校、同济高级工业学校、南京建筑工程学校等历史时期。
明眼人一看就知道,尽管是两个源头,显然南京化工大学这个源头实力更强大,至今在整个南京工业大学也处于优势地位。之所以这样,可能与南京乃至江苏的石化新材料产业发展有着莫大关系。
石化新材料是南京四大支柱产业之一。2016-2020年。南京相关石化新材料规上企业营收情况波动变化,2018年营收达到2207.16亿元,为近四年峰值。随后逐年下降,2020年营收降至1571.06亿元,同比下降11.0%。
根据南京市“十四五”规划。南京市将推动石化产业向精细化、高端化、专业化发展,构建循环发展、绿色低碳、本质安全的现代产业链。支持扬子石化、扬巴公司优化调整产品结构,促进关联产品向产业链后端发展,推动南化公司实施新材料转型工程,金陵石化实施“近零”排放方案。
可能正是产业发展密切相关,江苏省和南京市一直很重视南京工业大学的发展,支持其首批入选国家“高等学校创新能力提升计划”(2011计划)高校,以及江苏高水平大学建设高峰计划A类建设高校、江苏省重点建设高校、江苏省综合改革试点高校、江苏省人才强校试点高校等多个重大项目。
很早,大家就看到在一次重要会议中,提到南京工业大学存在“推进‘双一流’建设不够有力”“创新策源能力不够强”等问题。
可惜,我们不是校方,更不是那次会议的主导者,并不知道这两句话的主要含义。但我们可以从有关信息中心,大概推导出这两句话指的是什么。
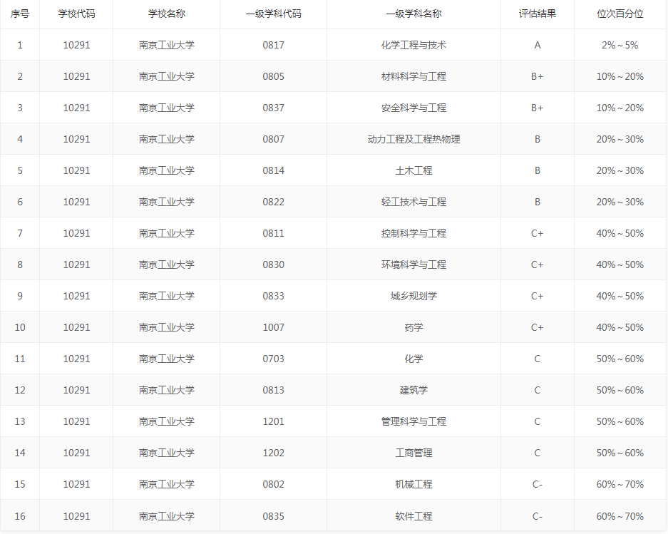
学科方面,不妨首先看看全国第四轮学科评估结果,该校化学工程与技术学科获得A等级(全国前2%~5%),材料科学与工程、安全科学与工程学科获得B+等级(全国前10%~20%),其中化学工程与技术、材料科学与工程位列全省第一。看上去似乎不错,但是同在南京的南京医科大学,公共卫生与预防医学拿到了A+评价,并且是两所拿到A+评价高校之一。
学位点是学科发展的重要载体,经过2021年的突飞猛进,南京工业大学截至2022年初,拥有博士后科研流动站7个,一级学科博士学位授予点9个,一级学科硕士学位授予点29个,硕士专业学位授予点18个,并不算突出。
当然,这是与江苏高等教育发展水平大环境比较的结果,放在全国的话南京工业大学的实力还是很可观的。比如,在2021年9月ESI综合排名进入全球前1‰,位列中国内地高校第56位,化学、材料科学、工程学、生物学与生物化学、环境科学与生态学5个学科进入ESI全球前1%,其中化学、材料科学2个学科进入ESI全球前1‰。
至于创新策源能力不强,可能还是与江苏石化新材料发展贴合不紧密有着莫大关系。说到科研平台,该校拥有材料化学工程国家重点实验室、国家柔性电子材料与器件国际联合研究中心、国家生化工程技术研究中心、国家特种分离膜工程技术研究中心、国家热管技术研究推广中心、国家大学科技园、江苏先进生物与化学制造协同创新中心等国家级科研平台7个,省部级研究中心28个,省部级重点实验室29个。但是,“十二五”以来,学校科研项目及成果获各级各类奖励500余项。这个数量如何,大家可以去看看其他理工科高校的数字。
南京工业大学截至2022年3月初,依然没有对外公布自己的2021年度就业质量报告,这在本科高校中并不多见。
当然,2020—2021学年的本科教学质量报告,披露了部分数据:截至 8月31日,应届本科毕业生就业率为 85.20%,如期完成各级主管部门下达的就业工作各项指标任务,有效促进了我校 2021届毕业生就业工作。这里的8月31日,可能就是2021年8月31日。
同时,截至 2021年8月底,学校本科专业91个,涵盖了教育部本科专业目录中工、理、管、经、文、法、医、艺、教 9 个学科门类,学科门类较为齐全,但“生化环材”等“天坑”专业或者说“劝退”专业还是不少的。不信,你自己看下面的专业设置图片。
为了解决劝退专业多的问题,2021 年南京工业大学继续实施大类招生培养,按照13 个专业大类开展 40 个专业招生。同时,停招专业 4 个:材料物理、材料化学、信息与计算科学、勘查技术与工程;新增专业 2 个:西班牙语、地理空间信息工程。仔细看一下大类招生表,大家就明白为什么这些专业要实行大类招生了。
南京工业大学对于自己的本科专业还是有着客观认识的,在该校2020—2021年本科教学质量报告中,专门提到:除了新增热门专业,在编制招生计划过程中,结合历年录取情况及各地区产业结构和专业人才需求,科学调整分省分专业招生计划,在坚持稳中求进的基调下灵活调整,冷热搭配,突出重点,保持合理的专业布局。今年我校省内外生源充足,报考率高,专业满足度高,顺利完成招生任务。
面对这种情况,大家要选择非“天坑”“劝退”专业,还是盯着国家级一流本科专业建设点24个,江苏省一流本科专业建设点7个相关专业比较好。
其中,过程装备与控制工程、无机非金属材料工程、电气工程及其自动化、土木工程、建筑环境与能源应用工程、测绘工程、化学工程与工艺、制药工程、建筑学、安全工程、生物工程、工程管理、机械工程、材料科学与工程、高分子材料与工程、能源与动力工程、给排水科学与工程、城市地下空间工程、城乡规划、食品科学与工程、交通工程、自动化、计算机科学与技术、化学24个专业,进入了国家级一流本科专业建设点。
地质工程、日语、金融学、英语、复合材料与工程、测控技术与仪器、电子信息工程7个专业,则进入了省级一流本科专业建设点。
最后,需要向大家强调的是,“新工科”建设越来越受重视的今天,南京工业大学的23个工科专业通过工程教育专业认证或住建部专业评估,进入全球工程教育“第一方阵”。进入认证的这些专业,与一流本科专业建设点有重合,但主要都是工学专业,所以要作为重点考虑对象予以关注。
当然,这一切的前提都是有个好成绩,如果高考成绩一般的话,只有到校努力学习争取调换专业,或者考研的时候给自己一个新的机会。
版权声明:我们致力于保护作者版权,注重分享,被刊用文章【南京工业大学人事处(南京工业大学)】因无法核实真实出处,未能及时与作者取得联系,或有版权异议的,请联系管理员,我们会立即处理! 部分文章是来自自研大数据AI进行生成,内容摘自(百度百科,百度知道,头条百科,中国民法典,刑法,牛津词典,新华词典,汉语词典,国家院校,科普平台)等数据,内容仅供学习参考,不准确地方联系删除处理!;
工作时间:8:00-18:00
客服电话
电子邮件
beimuxi@protonmail.com
扫码二维码
获取最新动态
