在拥有着“北国春城”美誉的长春市,有这样一所大学,她从红色革命圣地中走来,成长于“共和国长子”的怀抱;她从纷飞的战火中走来,红色的基因流淌在一代代人的血液中;她从光荣岁月中走来,将文明进步的火种播撒在祖国大地上,在教育发展史上著写出了精彩的篇章。她就是东北师范大学——
新中国成立初期,积贫积弱,人才稀缺,毛泽东主席指出,“恢复和发展人民教育是当前重要任务之一”。1946年2月,迎着纷飞的战火,东北师范大学的前身东北大学在辽宁本溪成立了,成为中国共产党在东北地区创建的第一所综合性大学。
在这之后,学校辗转于六个城市,一大批师生们几经坎坷后来到北满根据地佳木斯,三年后迁至长春。1950年,根据国家教育事业发展的需要,学校正式更名为东北师范大学,隶属教育部,成为一所以培养新型中学师资为目标的高等师范院校;1958年4月,东北师范大学下放隶属于吉林省,同年10月学校更名为吉林师范大学;1978年2月,经国务院批准,学校重新划归教育部领导(是如今教育部直属的6所师范大学之一);1980年8月,经教育部批准,学校恢复了“东北师范大学”的校名,翻开新一页的发展故事。
回顾这一路走来的历程,学校创建于新中国百废待兴之时,和共和国风雨同济七十余载。长久的沉淀方才铸就了今日的荣光,也凝练成了“强师报国、求实创造”的东师精神。
因师而立,东北师大携光荣使命走来,如今学校正秉承“勤奋创新,为人师表”的校训,坚守“强师报国、求实创造”的东师精神,漫漫长途,再创辉煌新事业。
“烽烟滚滚,雪海茫茫,东北群英融汇一堂。越过平原,跨过松江,智慧的大队在战斗中成长。燃烧着青春的火焰,沐浴着党的阳光,扬起那科学的风帆,泛游知识的海洋。前进、前进,向着胜利向着未来;前进、前进,向着科学文化的高峰……”
伴随着这首澎湃激昂的东北师大校歌,历史的指针已经拨转到了今时之间。75年的积淀蓄力,让东北师大在前进路上的每一个足迹都扎实有力,成长为学科点覆盖除医学、军事学和交叉学科以外的11个学科门类的科研强校,并以崭新的风貌傲然于世——
1996年9月,学校入选成为首批国家“211工程”重点建设大学;
2007年,学校入选国家教师教育“985工程”优势学科创新平台建设高校;
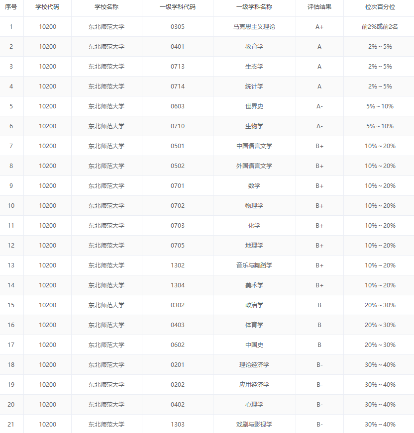
2016年全国第四轮学科评估,学校马克思主义理论被评为A+学科,教育学、生态学、统计学、世界史、生物学5个学科获评A类学科,B类学科更是达到了15个;
2017年,学校入选国家首批“双一流”建设高校,6个学科入选世界一流学科建设行列,入选数量居全国高校前列、211院校之首;
2020软科中国最好学科排名榜单中,学校28个学科上榜,其中世界史、马克思主义理论、教育学、统计学均位居全国前五;
最新ESI排名显示,学校6个学科(化学、数学、环境/生态学、植物与动物科学,材料科学、工程科学)名列前茅。
在学科实力进一步增强的同时,东北师大的科研核心竞争力不断提升,现有药物基因和蛋白筛选1个国家工程实验室和14个部级重点研究基地,世界文明史研究中心、农村教育研究所2个教育部人文社会科学重点研究基地。
在强劲学科实力和完善的科研平台助力下,东北师大这棵参天大树也频频结出科研硕果——
近年来,学校获得国家自然科学二等奖4项,其中材料科学研究领域的2项、统计学研究领域的1项、化学研究领域的1项成果获此殊荣;
获得第七、八届高等学校科学研究优秀成果奖(人文社会科学)一等奖4项,其中历史学研究领域的3项、马克思主义理论研究领域的1项成果获此殊荣。
缘师而兴,但东北师大的发展并不囿于此。在科研强校的战略之下,学校如今已成功实现了“文科振兴繁荣,理科提升突破,工科培育成长”的全学科发展格局,用拼搏实干和累累硕果,继续绽放着“百尺竿头,更进一步”的新风采。
忆往昔,峥嵘岁月。在解放前夕,这里就已汇聚了一大批追求光明和进步的著名学者、教育家和革命家。他们在炮火硝烟中跋山涉水而来,探索真理,讲授新知,传播文明,把追求民主、进步的火种播撒在这片沃土之上。
成仿吾
著名教育家、文学活动家、东北师大校长成仿吾,长征路上唯一的大学教授。在中国共产党第七次代表大会上,他向毛主席保证,要扎根教育事业,为党为国育才。穷尽一生为教育,他提出了为基础教育服务的办学思想,学校首开中国高师函授教育之先河;
郑德荣
“用一生书写信仰”的时代楷模郑德荣,在东北师大这座知识殿堂中他寻找到了一生的方向,此后更是扎根于母校,在长达67年的教学和研究生涯中,他坚守在马克思主义中国化研究的第一线,留下了至今仍震耳发聩的宣言:“我要站在真理这一边!”
得益于老一辈教育家们的躬耕探索,上世纪80年代,学校积极响应国家优先发展农村基础教育的指示精神,确定在基础教育力量薄弱的长白山区抚松县和辽源的东丰县,开展基础教育实验改革服务,把师范生培养与服务吉林农村基础教育建设发展结合在一起,经过20余年的不懈努力,走出了一条享誉基础教育界的“长白山之路”。
沿着这条“长白山之路”,东北师大赓续前行,如今更是凝聚起了一支奋发有为、业务精湛的优秀教师队伍。现有教授512人,副教授644人,现有本校在岗博士生导师618人,荣誉教授7人,资深教授96人,兼职教授295人,名誉教授33人,还有大批的国外专家长期在校授课。不断注入新鲜血液的同时,东北师大也在积极探索教师教育新模式。
学校实施“优师工程”,为基础教育培养优秀教师;启动实施“教育家培养工程”,探索“U-G-S教师教育新模式”。(U指师范大学,G指政府,S指中小学校)。不仅保证了师范大学教师教育质量和教育科学研究水平的不断提高,还对实验区基地学校改进和区域基础教育均衡发展起到了促进作用。
“优师工程”和“U-G-S教师教育新模式”先后荣获高等教育国家级教学成果一等奖,相关改革经验被写入《中共中央国务院关于全面深化新时代教师队伍建设改革意见》、《教育部关于实施卓越教师培养计划2.0的意见》等多项文件中,并在全国范围进行推广与应用。
2020年1月,教育部办公厅发布《关于印发基础学科拔尖学生培养计划2.0基地名单》,东北师范大学历史学拔尖学生培养基地成功获批,该基地是东北师大致力于拔尖创新人才培养工作的重要体现和标志性成果,实现基础学科拔尖人才培养工作的新跨越,将为我国乃至全球历史学领域培养一批勇攀科学文化高峰、致力成为领跑者的未来领军人才。
2020年1月,教育部办公厅公布了2019年度国家级一流本科专业建设点名单。东北师范大学18个本科专业被认定为国家级一流本科专业建设点。
2019年度国家级一流本科专业建设点名单
2021年3月,教育部公布了2020年度国家级一流本科专业建设点名单,东北师范大学16个本科专业被认定为国家级一流本科专业建设点。目前,学校的国家级一流本科专业建设点已达到34个,占本科招生专业总数的61%。
2020年度国家级一流本科专业建设点名单
依师而荣,如今的东北师大不忘初心与使命,为支撑国家需要努力培养卓越教师和拔尖创新人才。从“尊重的教育”发展到“创造的教育”,让浸润在师德文化中成长起来的东北师大学子,秉承着“勤奋创新,为人师表”的精神一往无前!
十年树木,百年树人。正因为一代代东北师大人的孜孜以求,才形成了学校“为基础教育服务”的鲜明办学特色,让这里成为了远近闻名的“人民教师的摇篮”。
东北师范大学毕业生就业率连续多年保持在97%左右,位居全国高校前列。进入新世纪以来,国务院对全国就业工作进行了两次表彰,2004年学校被国务院评为首届“全国就业先进工作单位”(全国四所高校之一),2012年被国务院评为第二届“全国就业先进工作单位”(全国五所高校之一),是两次国务院表彰均榜上有名的全国两所高校之一;
2009年,被教育部、人力资源和社会保障部联合授予“全国教育系统先进集体”称号,是全国获奖的两个高校就业中心之一;
2010年,获评首批“全国毕业生就业典型经验高校”,是获此荣誉的唯一部属师范大学;
2015年,获评首批“全国高校实践育人创新创业基地”;
2018年,获评首批“全国党建工作样板支部培育创建单位”;2021年,获评“全国普通高校毕业生教育行业就业创业指导委员会主任委员单位”。
2009年至今,连续12年独家承办教育部全国教育系统网上招聘活动;2015年至今,连续6年独家举办“全国高校毕业生教育人才招聘会”,现已建成全国最大的教育行业就业市场。中央电视台《新闻联播》栏目连续十五年报道东北师范大学就业工作,被媒体誉为“东师现象”。东北师范大学毕业生以“信念坚实、学识扎实、为人朴实、作风踏实”的“四实品格”赢得社会各界的广泛赞誉。
在东北师大人的身上,你能看到他们为国为党育才的赤胆忠心——
“大漠里永远闪耀的红烛”支边教师冯志远,他将青春挥洒在了黄土高原,获评2005第二届中国十大老年新闻人物、2005第三届“感动吉林”十大人物、2005年度“感动宁夏”十大人物。2007年,由张嘉益主演的电影《冯志远》播出后,感动了千万观众。
冯志远
“最美山村女教师”马宪华,为了崎岖山路上的教育强国梦,她七年走了八万公里,无惧风霜雨雪,坚守践行着当初在讲台上的那句承诺:“同学们,从今往后我就是你们的老师,只要你们想上学,我就一定不离开你们。”
马宪华
“全国模范教师”郭力华,爱生如子,用一颗慈爱之心扶助学生成长成才。1994年,荣获海南师范大学十佳优秀教师称号,1998年被评为海南师范大学师德先进个人,并连续7年在海南师范大学“你最喜爱的老师”评选活动中荣居榜首。2007年4月国家人事部、教育部授予郭力华“全国模范教师”的荣誉称号。
郭力华
你能听到科学名家求知若饥的励志故事——
攻克世界著名数学难题获得国家自然科学一等奖的陆家羲,在东北师大求学的四年,不仅学习成绩优异,而且攻克了困扰数学界一百多年的“寇克满女生问题”;
陆家羲
著名生态学家、中国科学院院士郑光美,他翻越秦岭,走出无人区,在《动物学杂志》上向世界宣布首次在中国秦岭发现了大熊猫,为濒危物种的保护提供了科学依据。
郑光美
你能看到东北师大人在各行各业中所展现出的不凡风采——
著名作家、编剧、东北师范大学1961届历史系校友张笑天,将中国电影华表奖最佳编剧奖、中国电影金鸡奖最佳编剧奖、中国长春电影节最佳编剧奖等重磅奖项收入囊中。
张笑天
夺得速滑冬奥历史34年首枚金牌的“速滑女神”张虹,不仅在赛道上留下了她风驰电掣的身影,东北师大的校园中,更有她在此求学的美好回忆……
张虹
砥砺奋进前行,前浪的辉煌成就已被铭刻在了历史的序章之上,而新的绚烂画卷正由后浪提笔铺绘。站在历史发展的新坐标上,国家出台了一系列重要举措,加强对师范教育、师范院校的重视,肩负着使命走到今天的东北师大,又将迎来新的发展春天。
未来,把光荣使命融入强师报国的梦想当中,在建设世界一流师范大学的征途中,全体东北师大人定将继续凝心聚力,向梦而行!
欢迎关注“东北师范大学招生办”头条号,获取关于首批国家“211工程”重点建设大学、国家“双一流”建设高校——东北师范大学的最新精彩资讯!
素材来源:东北师范大学官网、官微、软科、吉林日报、东师校友之家
版权声明:我们致力于保护作者版权,注重分享,被刊用文章【东北师范大学校训(央视频频聚焦)】因无法核实真实出处,未能及时与作者取得联系,或有版权异议的,请联系管理员,我们会立即处理! 部分文章是来自自研大数据AI进行生成,内容摘自(百度百科,百度知道,头条百科,中国民法典,刑法,牛津词典,新华词典,汉语词典,国家院校,科普平台)等数据,内容仅供学习参考,不准确地方联系删除处理!;
工作时间:8:00-18:00
客服电话
电子邮件
beimuxi@protonmail.com
扫码二维码
获取最新动态
