今天是2022年高考的第一天,有幸利用业余时间继续创作,向那些有需要的朋友们介绍国内高校和专业。
今天的有幸,不仅是高考第一天,而且还在于小编与今天要介绍的这所大学有些缘分。所谓的缘分只不过是,小编上高中时曾经亲眼看过她更名后的海报贴在校园里,大家纷纷在议论为什么好好地中国纺织大学要更名东华大学。
也就是从那时起,小编开始关注这所大学。可惜,由于专业的隔阂,大多数时间只是远远看个热闹罢了。今天就不同了,小编终于有时间与大家一起来深入了解一下这所曾经著名的行业高校,如今名字有点像野鸡大学的“211”“双一流”高校。
由于我们国家所有的高校办学历史都不算很长,所以大家在自我介绍中,不免要对自己的历史进行一番隆重的介绍,能往前靠自然要超前追溯,如果实在不行就把自己集成校址的那所高校当成自己的源头,更有甚者干脆把本地区曾经出现过的高校作为源头。
相比其他高校,东华大学的表述更为准确和实在一些,论源头当然要提到由实业家张謇于1912年创办的纺织染传习所。但与此同时,东华大学会告诉大家自己是1951年建校,时名华东纺织工学院。
与此相一致,在历史沿革图中,东华大学同样将自己的建校时间定格在1950年代初,对于中国纺织工学院、上海纺织工业专科学校、诚孚纺织专科学校、文绮染织专科学校合并为私立上海纺织工学院这段历史予以展示,但并未继续往前延展,较为实事求是地列出了学校发展的真实历史轨迹。
不用回顾民国时期的辉煌,建校后的辉煌足以让东华大学骄傲几十年:1960年,被国家教育部确定为全国重点大学。1981年,成为首批具有博士、硕士、学士三级学位授予权的大学之一。1985年,更名为中国纺织大学。1998年,被确定为国家“211工程”重点建设的高等学校。1999年,更名为东华大学。2017年,列入国家“双一流”建设高校。
只是,有点令人费解的是,在各大行业高校特别是位于北京的大学,都在忙着更名“中”字头的大背景下,中国纺织大学却早早更名为东华大学。
这是为什么呢?这样重大的问题,可能只有当事人自己才能说得清楚。据一位网友说,东华大学老校长邵世煌有一本著作,讲到了关于中国纺织大学改名为东华大学的缘由,据说内容还比较长,有兴趣的去看一下。
在小编看来,尽管更名已经20多年,当中有太多的遗憾和不解,但是现实已经无法更改,对于我们这些外人来说,没必要再去怀着好奇心追问这样一个无解问题的答案。可能,我们关注一下今天东华大学的现状,更有利于考生和家长报考时候选择。
大概率是由于自己的名字太过缺乏行业、地域特色,甚至有点像野鸡大学。东华大学的自我介绍中,一开始就向读者秀起了肌肉:东华大学是教育部直属、国家“211工程”、国家“双一流”建设高校,已发展成为以纺织、材料、设计为优势,特色鲜明的多科性、高水平大学。
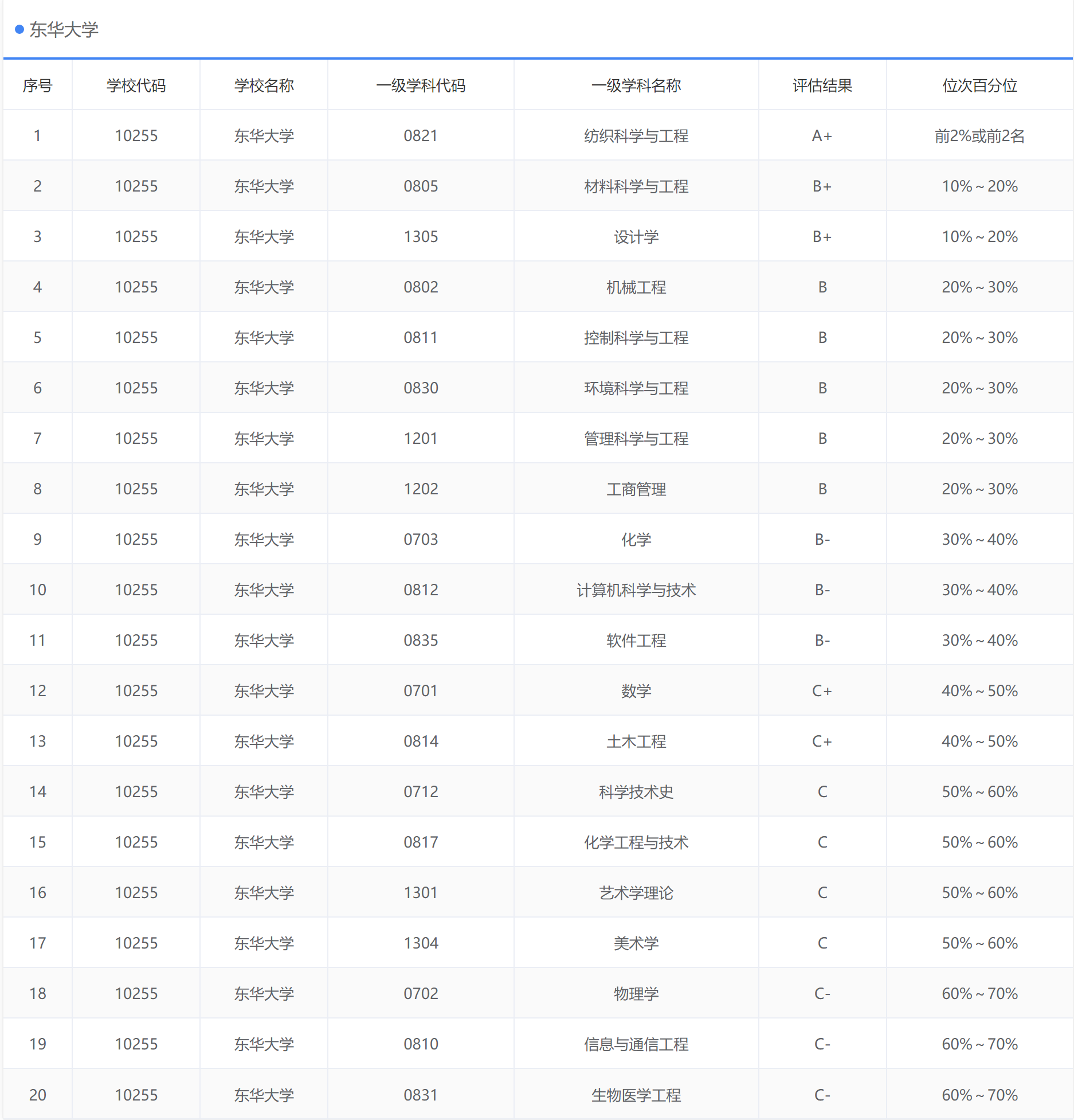
这还真不是吹的,除了重点建设项目是有关部门认定的外,第四轮学科评估结果,也告诉我们东华大学的确是一所纺织特色鲜明的大学。第四轮学科评估的结果显示,东华大学20个学科上榜,8个学科位于前30%,是第三轮的2倍。纺织科学与工程获评A+,继续名列前茅;材料科学与工程和设计学获评B+,与第三轮基本持平;控制科学与工程、环境科学与工程、管理科学与工程获评B,比第三轮有所提高;机械工程获评B;工商管理、化学首次参评,获评分别为B和B-;计算机科学与技术、软件工程大幅上升,获评B-(更多学科位次见下表)。
前不久,东华大学与其他入选高校一起公布了“双一流”建设整体方案,其中明确提到要按照三个层次进行重点建设。其中的第一层次为优势提升学科,主要是重点建设纺织科学与工程、材料科学与工程和设计学等优势特色学科,打造学科高峰,实现多峰并举的学科布局。
说这么多,只想说明一个道理,东华大学更名近25年,但是纺织特色还没有丢,材料、设计这样的相关学科也得到了较好的发展。
同时,大家还要看到,东华大学一直在努力成为一所综合性大学,机械工程、控制科学与工程、环境科学与工程、化学、管理科学与工程、工商管理、土木工程等具有较好基础和发展潜力且符合国家重点发展导向的学科,也正在加快发展,建设学科高原。在此基础上,进一步对接国家重点发展领域,发展软件工程、生物医学工程等新兴学科;加强理科和人文基础学科建设,战略发展数学、物理学、马克思主义理论、外国语言文学、科学技术史等支撑学科,构建对接需求、面向未来、支撑学校一流发展的学科生态。
具体的成效如何,其实大家可以关注一下东华大学的院系设置,涵盖工学、理学、管理学、经济学、艺术学、文学、法学、历史学、教育学九大学科门类的大格局已经形成,应当说东华大学更名是成功的,从长远看也更有利于毕业生个人发展。
毕竟,东华大学放到任何年代都看不出冷热属性,而中国纺织大学有着浓厚的时代气息。
东华大学的2021年毕业生就业质量年度报告非常漂亮,不信您可以看看下面这张图片。她来自于那份报告,用一种独特的方式向我们展示了东华大学2021届本科毕生的主要去向人数和所占比例。
如果小编没记错的话,这是小编第一次在高校毕业生就业质量报告中看到派遣二字。之前那些高校的就业部门当然知道派遣为何意,却一直不肯告诉大家到底派遣了多少人,个中原因大家都懂,因为派遣有着较为明确的要求,很多高校的数字可能不太好看。
这样的整体数据,很多考生和家长并不感兴趣。不要紧,小编为大家粘贴了来自就业质量报告的分专业就业数据,信息相当全面,对于考生和家长选择专业有着重要参考价值。由于东华大学的毕业生就业质量报告太漂亮了,小编实在不忍心裁剪,所以就直接放在下面了,方便您查看比对。
今天已经是2022年高考第一天了,东华大学在6月2日已经对外公开了2022年的本科招生及选考科目信息。具体的专业和选考科目要求,可以参看小编截取的这张图片。
几十个专业大部分看上去还是比较陌生的,家长和考生该如何选择呢?小编的建议有三,第一是参考上面列出的相关专业就业率。
第二个,就是国家级和省级一流本科专业建设点专业。据校方介绍,截至目前东华大学共有国家级一流本科专业建设点18个,占在招专业的32.14%。此外,该校还有电子信息工程、建筑环境与能源应用工程、软件工程、应用物理学4个上海市级一流本科专业建设点。
第三个,当然就是上海市考生的选择。这里为大家列出2021年东华大学在上海市本地的一批录取分数,大家可以从中揣摩出哪些专业更受上海考生欢迎。
另外,东华大学还有7个专业通过工程教育专业认证。小编认为这个指标不是特别重要,知道有这么一回事就行了。
最后,回到我们的题目。经过一番简单梳理,小编必须亮出自己的观点,那就是更名近25年来东华大学发展更好了。
不信的话,还是那句话,一个中国纺织大学的毕业生,一个东华大学的毕业生,同样是学计算机和金融专业的,您会认为哪个高校学生更优秀?
版权声明:我们致力于保护作者版权,注重分享,被刊用文章【上海纺织专科学校(东华大学)】因无法核实真实出处,未能及时与作者取得联系,或有版权异议的,请联系管理员,我们会立即处理! 部分文章是来自自研大数据AI进行生成,内容摘自(百度百科,百度知道,头条百科,中国民法典,刑法,牛津词典,新华词典,汉语词典,国家院校,科普平台)等数据,内容仅供学习参考,不准确地方联系删除处理!;
工作时间:8:00-18:00
客服电话
电子邮件
beimuxi@protonmail.com
扫码二维码
获取最新动态
