西安是我国高教重地,拥有20多所公办本科高校,其中的7所是双一流建设高校,在国内也都有着响当当的名头和地位,比如西安交通大学、西安电子科技大学、陕西师范大学等等。
高校多的一个坏处,就是起名字的时候容易撞车,名字定下来之后,相似的名字又容易被人误认。
就像我们今天要说到的陕西科技大学和西安科技大学,虽然一个是以省命名,一个是以市命名,但都在西安办学,一不小心就会搞错了。不像多数城市,只有一所科技大学,人们在生活中直接叫科技大学就是了。
当然,这都是小事,学校好、专业好、就业好对于家长和考生才是重要的,对于学校未来发展也是至关重要的。陕西科技大学和西安科技大学,这两所同在西安的科技大学,都是行业内的老牌高校,算得上学校好,至于专业好不好,就业好不好,对于不同的群体来说,可能就是不同的评价。
今天,就让我们来认识一下这两所高校。
陕西科技大学,起家是轻工。
陕西科技大学创建于1958年,时名北京轻工业学院,是新中国第一所轻工高等学校。1970年,作为十三所外迁京校之一,迁至陕西咸阳,改名为西北轻工业学院。1978年,被确定为全国88所重点院校之一。1998年划转到陕西省,2002年更名为陕西科技大学,2006年办学主体东迁西安。
该校官网说得好,陕西科技大学作为“西迁群体”之一,历经“三次创业、两次搬迁、一次划转”的奋斗与辉煌,形成了扎根西部、服务社会的奉献精神”为内涵的“三创两迁”精神,如今是西部地区唯一一所以轻工为特色的多科性大学,是中西部高校基础能力建设工程建设高校,是陕西省“国内一流大学建设高校”,是陕西省人与中国轻工业联合会、中国轻工集团公司共同建设的重点高校。
西安科技大学,起家是煤炭。
西安科技大学的办学历史可以追溯到1895年成立的北洋大学工学院采矿冶金科,1938年迁并于西北工学院矿冶系,1957年并入西安交通大学,1958年从西安交通大学分出成立独立的西安矿业学院。1998年划转陕西省,1999年更名为西安科技学院,2003年更名为西安科技大学。
这是一所典型的矿业院校,创校起点的西北工学院矿冶工程系,由原国立北洋大学工学院矿冶系(成立于1895年的采矿冶金科)和焦作工学院矿冶系(成立于1909年的采矿冶金科)合并组建而成,二者在当时就有着不小的影响力。现在的西安科技大学,是应急管理部和陕西省共建高校、中西部高校基础能力建设工程建设高校、陕西省“国内一流大学建设高校”。
上面说过,2006年陕西科技大学的办学主体才搬到西安。不过,由于有着过往的基础和积累,搬到西安后实现了快速发展。同时,在西安办学时间更长的西安科技大学,也在强手如林的高校生态中寻找着自己的发展之路。如今,两个学校谁的实力更突出一些呢?在小编看来,半斤八两,难分高下。
先说硬件师资。
陕西科技大学现有西安未央校区、太华路校区和咸阳校区三个校区,总面积2055亩,建筑面积129.6万平米。其中,西安未央校区占地面积1590亩,坐落于风景秀丽的灞河之滨、未央湖畔。全校拥有专任教师1350余人,拥有国家“优青”“百千万人才工程”等省级以上各类人才百余人。
西安科技大学现有雁塔和临潼两个校区,共3个校园,占地面积121万平方米,虽然没有给出面积,其实就是1815亩左右;至于校园环境,西安科技大学是西安市“园林化单位”称号,自然也是很漂亮的。全校拥有专任教师1400余人,其中31人次获国家级“专家学者”称号,101人次获省级“专家学者”称号。
仔细对比,其实两者的硬件师资各有特色,没有什么绝对的差距。
再说学科发展。
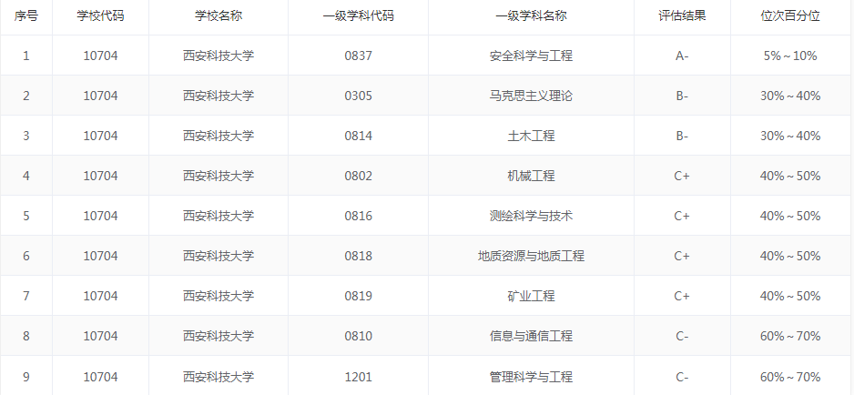
西安科技大学的朋友们,会很自豪的说,在全国第四轮学科水平评估中,我们的安全科学与工程学科进入A类(5-10%),土木工程和马克思主义理论2个学科进入B类(30%-40%),为陕西省属高水平大学进入第一层类的两所高校之一,煤炭高校进入第一层类的三所高校之一。
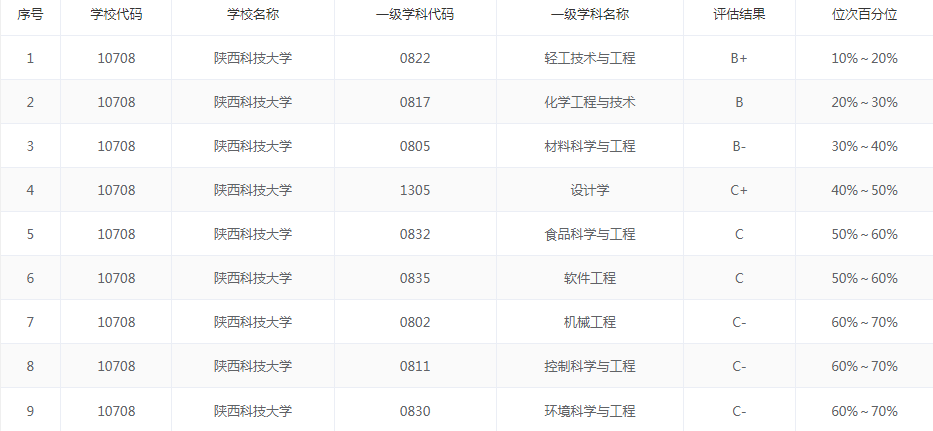
有个A类学科自然了不起,但是同一份榜单中,陕西科技大学轻工技术与工程学科并列排名全国第三,列入B+档学科;化学工程与技术学科位次百分位进入前30%,列入B档学科;此外还有1个学科列入C+档,2个学科列入C档,3个学科列入C-档。这个成绩,与西安科技大学相比,差距是有的,但也算过得去。
况且时间过去好几年了,如今两个高校的学科发展有了新情况。2021年,陕西科技大学一举拿下3个一级学科博士点(化学、机械工程,食品科学与工程)、2个一级学科硕士点、2个专业学位硕士点,共计新增7个学位点。至此,博士学位授权一级学科7个,硕士学位授权一级学科21个,硕士专业学位授权类别13个。
西安科技大学最新的介绍材料显示,全校拥有7个一级学科博士点,25个一级学科硕士点,6个工程硕士专业学位类别及工商管理硕士(MBA)、会计硕士(MPAcc)、应用统计硕士、翻译硕士、工程管理(MEM)专业学位授权点。
从学科发展情况来看,应当说两校也没有完全拉开差距。接下来,我们看一下大家最关心的就业问题。
两所高校都非常用心,已经对外公布了毕业生就业质量报告,借助两份报告,我们可以全方位了解比较两校本科生的就业情况。
就业去向率,还是要首先关注一下的,与大家想象的一样两校基本持平。
陕西科技大学 2021届本科毕业生 4344 人,男生占 52.8%,女生占 47.2%,陕西生源的比例为 64.5%,本科毕业生的毕业去向落实率为 86.8%。
西安科技大学2021届本科毕业生4556人,男生占59.3%,女生占40.7%,本科毕业生的毕业去向落实率分别为84.96%。
毕业去向上看,两校本科毕业生均以签就业协议形式就业为主
陕西科技大学额 2021 届本科各专业毕业生最主要的去向均为“签就业协议形式就业”。其中,毕业生“签就业协议形式就业”比例较高的专业是测控技术与仪器(100.0%)、石油工程(93.8%);毕业生“签就业协议形式就业”比例较低的专业是食品科学与工程(28.3%),该专业有 54.3%的人国内“升学”。分专业情况如下:
陕西科技大学各专业毕业去向(本科)
西安科技大学2021届本硕博各学院毕业生去向均以签订就业协议形式就业为主。另外,安全科学与工程学院、地质与环境学院毕业生升学比例较高。由于该校毕业生就业质量报告没有给出分专业的就业去向,所以小编把各院的就业去向贴在下面,也算是个参考吧。
西安科技大学各学院毕业去向
从用人单位流向看,轻工为主的陕西科技大学毕业生主要去了民企,煤炭为主的西安科技大学毕业生主要去了国企。
陕西科技大学2021 届本科毕业生主要就业的用人单位类型是民营企业/个体(60%),就业于国有企业的比例为 23%;本科毕业生主要就业于 1000 人以上(65%)规模的大型用人单位。
西安科技大学2021届毕业生主要就业的用人单位类型是国有企业(49%),同时,主要就业于1000人以上规模的大型用人单位(64%)。
至于家长和考生关心的考研问题,前面的分专业或分学院就业去向中已经有了较为明细的介绍。总的来看,陕西科技大学2021届本科毕业生的国内升学比例为 23.1%,西安科技大学2021届本科毕业生的国内升学比例为25.72%。
应该说,尽管行业不同,但是毕业生就业情况基本上处于旗鼓相当的水平。接下来的关键问题,就是选择专业的问题了。
巧合的是,截至2021年底,陕西科技大学和西安科技大学的一流本科专业建设点数量均为26个。不过,两者一流本科专业建设点的层级结构和专业布局还是有差别的,大家在选专业的时候,一定要选择自己喜欢的专业。
陕西科技大学的26个一流本科专业建设点,布局是这样的。国家级14个,分别是信息与计算科学、机械设计制造及自动化、材料物理、电气工程及其自动化、自动化、环境工程、生物工程、视觉传达设计、应用化学、工业设计、无机非金属材料工程、化学工程与工艺、轻化工程、食品科学与工程。省级一共12个,主要是国际经济与贸易、化学、材料化学、服装设计与工程、印刷工程、食品质量与安全、材料成型及控制工程、过程装备与控制工程、电子信息工程、包装工程、工商管理、动画。
西安科技大学的26个一流本科专业建设点,国家级更多一些,达到了18个:消防工程、资源勘查工程、自动化、电气工程及其自动化、工程管理、机械电子工程、软件工程、计算机科学与技术、土木工程、通信工程、安全工程、测绘工程、地质工程、电子商务、化学工程与工艺、机械设计制造及自动化、采矿工程、电子信息工程。相对应的,省级一流本科专业建设点为8个,分别是遥感科学与技术、车辆工程、给排水科学与工程、工程力学、建筑环境与能源应用工程、无机非金属材料工程、材料科学与工程、矿物加工工程。
这两所科技大学的一流本科专业,尽管有交叉,但差别明显:陕西科技大学更多专业偏向轻工类,西安科技大学则基本上都属于煤炭相关的工学专业为主。
具体选择什么专业,那就要看自己的兴趣。同样的城市、差不多发展水平的高校,选择专业比选择学校可能更重要,还是了解清楚再下手比较好。
关于专业的问题,可以在评论区咨询小编,我会不厌其烦回答大家的问题。
版权声明:我们致力于保护作者版权,注重分享,被刊用文章【陕西科技大学西安校区(陕西科技大学)】因无法核实真实出处,未能及时与作者取得联系,或有版权异议的,请联系管理员,我们会立即处理! 部分文章是来自自研大数据AI进行生成,内容摘自(百度百科,百度知道,头条百科,中国民法典,刑法,牛津词典,新华词典,汉语词典,国家院校,科普平台)等数据,内容仅供学习参考,不准确地方联系删除处理!;
工作时间:8:00-18:00
客服电话
电子邮件
beimuxi@protonmail.com
扫码二维码
获取最新动态
