有时候,我总觉得,人类的发展其实并不是很快。比如,电和发电这些事。电的发现比较早,18世纪的科学家就开始研究了。发电机是法拉第第一个发明出来的,在19世纪30年代。到了19世纪末,特斯拉的交流发电机投入了使用。到了21世纪,我们对电力和电的需求越来越大,电变得越来越重要,是我们整个社会运转的最重要的物质了。
电气类专业在21世纪,依然是个热门专业。我惯常推荐的次序是:计算机、电子信息、自动化和电气类专业。
今天就来聊聊电气类专业。
根据2021年最新版的大学专业目录,电气类一共有7个专业,能源互联网工程是2020年刚设立的专业。
电气工程及其自动化,这是电气类专业中最大、最常见的一个专业,主要讲的是发电,产生电能;变电,通过变电站把电压升高;输电和售电;电的储存;电机、变压器的设计,另外各种电器的设计和控制等等内容。
大家可能会对专业名称中的“自动化”比较奇怪,自动化一开始不是独立产生的,而是在类似电气、化工等大型工业系统中产生,需要对这些设备和系统进行自动控制。对于主要为发电厂、电网等企业培养人才的“电气工程”来说,一定要学习“自动化”的相关内容。
主要的课程包括:电磁场理论、电路原理、模电数电、电机学、电力电子、电力系统、计算机、信号与系统、自动控制等等。
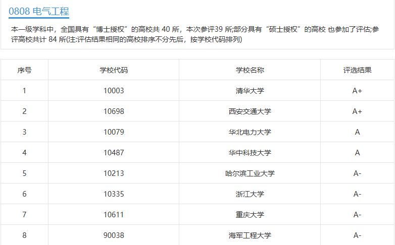
下面讲讲哪些学校比较强。
我一开始就说,电力已经存在了很多年,所以电气工程及其自动化是一个非常古老的专业。我们国家很多理工类大学从开始创建,就有这个专业。下图是第四轮学科评估的结果,图上的学校都是电气强校。
其中,清华、西交大、华科大、浙大被称为“二龙四虎”中的四虎。华北电力大学和武汉大学被称为“二龙”。“二龙”其实算是行业大学。曾经我国的不少大学是属于各部委的,电力工业部曾经有16所部属大学。武汉大学合并掉的武汉水利电力大学和华北电力大学都是电力工业部下属的大学。
现在学电气工程最好的出路之一就是去电网工作,电网招人最多的就是这些行业校,曾经的电力工业部的直属院校,像华北电力大学、上海电力大学、三峡大学、长沙理工大学、南京工程学院等等。
不过,电气工程及其自动化除了去电网,还可以去一些电气类公司工作,比如西门子、格力、美的等等。下图是格力招聘的专业要求。
从这个专业的描述来看,大家可以看到,几乎通吃跟电气相关的上下游、各个行业,极为对口。
智能电网信息工程,这是2010年新开设的专业。顾名思义,就是电网+智能信息,电网供电更智能化,能智能接入,用电设备启动,它精准供电,也能远程查看用户的用电数,或者远程启动家用电器等等。有了物联网的概念,大家应该很好理解。
课程也很好理解,除了电气工程及其自动化那些课程外,还需要加强智能相关的课程,主要是传感器技术、嵌入式设计、智能电网等相关知识。不过,由于本科时间有限,跟电气工程及其自动化的区别不是太大。但名称不一样,有时候会有风险,就是某些单位招生时,可能不认这个专业。
第一个开设这个专业的是华北电力大学,南京邮电大学。这个挺有趣,华北电力大学是电气行业校,而南邮属于通信类的行业校。
不过,我并不是建议大家读这个专业。因为本身电气工程及其自动化的课程就不少,再加上弱电,课程就更多了,很容易读得不伦不类,而且从读研的方向来看,属于电力系统。因此,不如一开始读传统专业,到读研时,再研究也来得及。
光源与照明。这是个有意思的专业,其实培养方案跟电气类其他专业有很大的不同,跟光电子和微电子的课程更为接近,就是说物理的内容偏多。大家选择的时候小心一些。不过,就业还是可以的。
天津工业大学的曾经课程是:
电路理论、信号与系统、模拟电子技术、数字电子技术、微机原理及接口技术、通信原理、大规模可编程逻辑器件设计、半导体物理、半导体器件基础、计算机通信网络、半导体集成电路、集成电路工艺原理、半导体照明概论(双语)、电气照明技术、照明系统的光学设计、照明控制工程、半导体照明散热设计与分析以及化合物半导体材料与器件等。
我这里用了“曾经”,原因是2018年之前,天津工业大学把这个专业放入了电气类里,但现在电气类里没有这个专业了,可能放入了光电子相关的专业,但不再用光源与照明这个专业名称。
下图是各个学校的开设情况,有的在电气类专业,有的在电子类专业。
电气工程与智能控制
这是个2012年的新开的特设专业,属于应用型本科专业。电气工程与智能控制的专业跟电气工程及其自动化非常类似,最大的区别就是电气工程与智能控制更重视弱电,智能控制方面的内容更加强了。
主要课程包括:电路、自动控制原理、电力电子技术、电力系统分析基础,电力系统自动装置,智能电网信息技术、电网监控与调度自动化、微网及其控制,电力系统继电保护,新能源发电技术等。
电机电器智能化
我们先看电机与电器。电机与电器主要是电机与电器的设计、制造、控制等等相关内容。现在再加上智能化,就是智能化的电机电器的使用。
电机电器智能化是上海电机学院开设的专业,属于特设专业。上海电机学院属于应用型本科,因此,主要是培养应用型人才,就是使用、管理智能化的电机或者电器。
电缆工程
电缆工程也是特设专业,是河南工学院第一个开设的。我国是电缆生产第一大国,所以河南工学院这个专业的就业非常好。
主要课程包括:电路、电磁场、电子技术、电力电子技术、电机学、机械基础、机械制图与CAD、计算机应用技术、现代电气控制技术、电介质物理、电气绝缘结构原理与设计、电气绝缘测试技术、电缆工艺原理、通信电缆设计与制造、光纤光缆制造、绝缘化学基础、电缆材料等。
能源互联网工程
这是2020年新开设的专业,这是现在的一个发展热点。它包括的内容很多,包括传统的发电,也包括新能源,太阳能、风能、水能等,也包括输配电的智能电网、智能储能、智能家居、智能建筑,甚至还包括碳排放交易、电力交易等等。
新开设的学校有上海电力大学,这个专业究竟如何发展,还需拭目以待。
版权声明:我们致力于保护作者版权,注重分享,被刊用文章【学校专业(电气类专业介绍)】因无法核实真实出处,未能及时与作者取得联系,或有版权异议的,请联系管理员,我们会立即处理! 部分文章是来自自研大数据AI进行生成,内容摘自(百度百科,百度知道,头条百科,中国民法典,刑法,牛津词典,新华词典,汉语词典,国家院校,科普平台)等数据,内容仅供学习参考,不准确地方联系删除处理!;
工作时间:8:00-18:00
客服电话
电子邮件
beimuxi@protonmail.com
扫码二维码
获取最新动态
