哈喽大家好,如常线上培训课堂又与大家见面了。
经过了五期的培训,相信不少同学都已经学到了许多技能。然而在找工作的过程中,怎么才能证明你会呢?总不能每个公司都要求你实际去展示一下吧?在信息不对称的情况下,通过证书把我们掌握哪些技能在短时间内告诉别人。
有人说:
这是一个好的时代,也是一个坏的时代。
这是一个拼颜值、也是看脸的时代。
实际上,
这是一个拼能力、拼各种证的时代……
别以为毕业了、学会了,拿到了一个毕业证,就可以从此放飞自,我任性洒脱了。想要找到好的工作,还有一大堆证等着你。
英语等级证、人力资源证、财务证、医师证、厨师证、教师证,专家也要有专家证,不然就是瞎掰,就连精神病患者都要办一个证….
你说算了,
这么多证看着都头疼,
没一个能考下来的,
还是去开挖掘机吧!
那我只能说
太异想天开了,
就算你是蓝翔出来的精英,没有操作证也不行!
由此可见,一个资格证对于找工作是有多么的重要。
今天,我们就想告诉广大残疾人朋友如何考取各类证书。其实考证并不难,关键是找对方法,比如今天这堂课,什么花里胡哨的“神奇操作”都没有,都是纯纯的干货。由浅到深,由简到繁,配合着牛刀小试,分分钟让你轻松搞定人生的第一个“资格证”。
那么,废话少说,开始今天的正题吧!
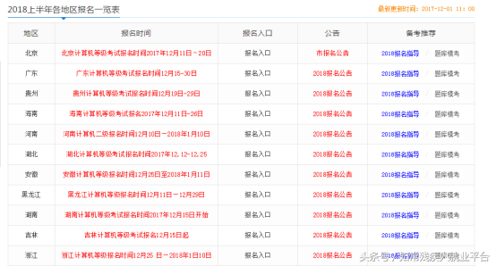
2018年上半年全国计算机等级考试(一级)部分地区报名日期(部分地区报名时间待定,请持续关注当地的全国计算机等级考试网站)
以北京为例:
考生须登陆“北京市全国计算机等级考试网上报名网站”(网址:http://ncre.bjeea.cn)进行网上报名。
所有考生(含以前报考过的考生)报名前需要重新注册、填报个人信息和上传个人照片。考生须填写有效身份证件号码,有效身份证件包括居民身份证、港澳居民来往内地通行证、台湾居民往来大陆通行证、护照。
报考条件:
报名者不受年龄、职业、学历等背景的限制,均可根据自己学习情况和实际能力选考相应的级别和科目。同次考试考生最多可报3个科目,不允许重复报考同一个科目。严禁考生同时在多个省份报考。
网上报名流程:
注册、登录、填报个人信息、上传照片、选择报考科目、缴费。考生只有完成上一步骤后,才能进行下一步操作。 缴费成功,即完成本次考试报名;未缴费考生的报名信息在报名截止后视为无效数据。
成绩查询:
登陆中国教育考试网(http://www.neea.edu.cn/)查询。
NCRE考试成绩由教育部考试中心统一组织评定。教育部考试中心将以等第形式公布考试结果,考试成绩等第共分优秀、良好、及格、不及格四等;90-100分为优秀、80-89分为良好、60-79分为及格、0-59分为不及格。教育部考试中心统一设计、印制、颁发《全国计算机等级考试合格证书》。考试成绩优秀者,在合格证书上注明“优秀”字样;考试成绩良好者,在合格证书上注明“良好”字样;考试成绩及格者,在合格证书上注明“合格”字样。
一、选择题
1.世界上第一台电子计算机的名字是()。
A.EDVAC
B.ENIAC
C.EDSAC
D.MARK-Ⅱ
2.个人计算机属于()。
A.小型计算机
B.巨型计算机
C.大型主机
D.微型计算机
3.计算机辅助教育的英文缩写是()。
A.CAD
B.CAM
C.CAE
D.CAI
4.在计算机术语中,bit的中文含义是______。
A.位
B.字节
C.字
D.字长
5.二进制数00111101转换成十进制数是()。
A.58
B.59
C.61
D.65
6.下面四条常用术语的叙述中,有错误的一条是()。
A. 光标是显示屏上指示位置的标志
B. 汇编语言是一种面向机器的低级程序设计语言,用汇编语言编写的源程序计算机能直接执行
C. 总线是计算机系统中各部件之间传输信息的公共通路
D. 读写磁头是既能从磁表面存储器读出信息又能把信息写入磁表面存储器的装置
7.与十六进制数值CD等值的十进制数是______。
A.204
B.205
C.206
D.203
8.在微型计算机中,应用最普遍的西文字符编码是______。
A.BCD码
B.汉字内码
C.ASCⅡ编码
D.国标码
9.标准ASCⅡ编码 字符集共有()个编码。
A.128
B.52
C.34
D.32
10.下列关于存储的叙述中,正确的是()。
A.CPU能直接访问存储在内存的数据,也能直接访问存储在外存中的数据。
B.CPU不能直接访问存储在内存的数据,能直接访问存储在外存中的数据。
C.CPU只能直接访问存储在内存的数据,不能直接访问存储在外存中的为数据
D.CPU既不能直接访问存储在内存的数据,也不能直接访问存储在外存中的数据
11.微型计算机主机的主要组成部分有()。
A.计算器和控制器
B.CPU和硬盘
C.CPU和显示器
D.CPU和内存储器
12.通常用MIPS为单位来衡量计算机的性能,它指的是计算机的()。
A.传输速率
B.存储容量
C.字长
D.运算速度
13.DRAM存储器的中文含义是()。
A.静态随机存储器
B.动态随机存储器
C.动态只读存储器
D.静态只读存储器
14.SRAM存储器是()。
A.静态随机存储器
B.动态随机存储器
C.动态只读存储器
D.静态只读存储器
15.通常所说的I/O设备是指()。
A. 输入输出设备
B.通信设备
C. 网络设备
D. 控制设备
16.微机计算机硬件系统中最核心的部件是______。
A.主板
B.CPU
C.内存储器
D.I/O设备
17.微型计算机的主机包括______。
A.运算器和显示器
B.CPU和内存储器
C.CPU和UPS
D.UPS和内存储器
18.下列各组设备中,全部属于输入设备的一组是()。
A.键盘、磁盘和打印机
B.键盘、扫描仪和鼠标
C.键盘、鼠标和显示器
D.硬盘、打印机和键盘
19.操作系统的功能是()。
A.将源程序编译成目标程序
B.负责诊断计算机的故障
C.控制和管理计算机系统的各种硬件和关键资源的使用
D.负责外设与主机之间的信息交换
20.将高级语言编写的程序翻译成机器语言程序,采用的两种翻译方法是()。
A.解释和编译
B.解释和汇编
C.连接和编译
D.连接和汇编
二、基本操作题
1.在考生文件夹下JIBEN文件夹中创建名为A2TNBQ的文件夹,并设置属性为隐藏。
以上就是本期如常课堂为大家准备的全国计算机等级考试(一级)考试的攻略与真题测验。
版权声明:我们致力于保护作者版权,注重分享,被刊用文章【全国计算机一级考试(如常残疾人线上培训)】因无法核实真实出处,未能及时与作者取得联系,或有版权异议的,请联系管理员,我们会立即处理! 部分文章是来自自研大数据AI进行生成,内容摘自(百度百科,百度知道,头条百科,中国民法典,刑法,牛津词典,新华词典,汉语词典,国家院校,科普平台)等数据,内容仅供学习参考,不准确地方联系删除处理!;
工作时间:8:00-18:00
客服电话
电子邮件
beimuxi@protonmail.com
扫码二维码
获取最新动态
