作为一名门外汉,第一次听到重庆交通大学,小编第一反应是这是一所新组建的“大学”,只是为了蹭成都西南交通大学的流量。
然而,详细一了解,小编发现自己错了,可以说错得很离谱。其他朋友不知道以前听说过重庆交通大学吗?是不是与小编一样,也觉得是一所新组建的交通大学?
重庆交通大学的校史,可以追溯到1951年11月创办的西南交通专科学校。此后的近三十年,与国内很多高校命运一样,经历了多次改换校名、多次变更隶属关系、多次搬迁校址。直到1979年1月,交通部决定恢复重庆交通学院,并由交通部直接管理,这所老牌交通院校才正式走上了快速发展之路。又过了40年之后,如今的重庆交通大学已经成为一所具有“学士-硕士-博士”多层次人才培养体系,专业覆盖工、管、经、理、文、法等学科门类的多科性大学。
长长的校史沿革图,背后是艰辛的自我积累、建新发展过程:1951年成立的西南交通专科学校,1960年组建为重庆交通学院,随之而来的是成都工学院土木系、四川冶金学院冶金系、武汉水运学院水工系等相继并入。1985年增列为第三批硕士学位授予单位,1986年交通部西南水运工程科学研究所并入,1999年重庆交通学校成建制划归学校。到了2000年由交通部划转重庆市管理,成为省部共建高校。
与同在重庆、不愿意划归市里管理的某些高校不同,划归地方后的重庆交通学院实现了跨越式发展。其中,最重要的一个里程碑是,2006年更名为重庆交通大学,并增列为博士学位授予单位。
大家可以想象一下,如果2006年没有更名、拿下博士点,可能一耽搁就是十来年,甚至到现在还没有完成更名和申博大业,整个学校的发展步伐就要慢下来了。这样的例子,在全国几乎每个地方都有。所以,小编认为划归重庆市管理,反而成为重庆交通大学跨越发展的重大机遇,幸运的是这所行业特色明显的高校抓住了这样一个难得机遇。
今天的重庆交通大学,各方面已经走上了真正的“大学”发展之路:办学条件日臻完善,现有南岸、科学城、大坪三个校区,占地3000余亩。师资队伍素质优良,现有教职工约2200人,拥有长江学者特聘教授、“万人计划”科技创新领军人才、“百千万人才工程”国家级人选、对国家有突出贡献的中青年专家等国家人才和重庆英才计划、重庆市学术技术带头人等省部级人才160余人次。
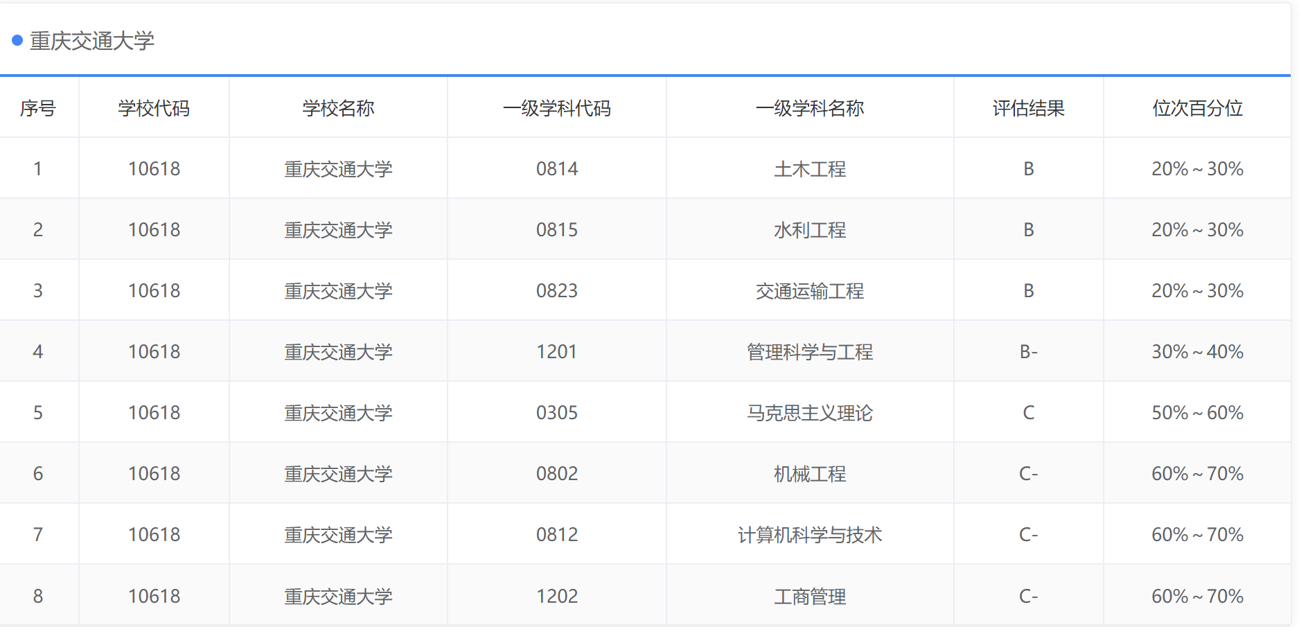
作为交通行业高校,重庆交通大学保持了历史特色:根据第四轮学科评估结果,重庆交通大学B类学科有4个,其中B档学科3个,B-档1个,分别为:土木工程(B)、水利工程(B)、交通运输工程(B)、管理科学与工程(B-)。同时,该校现有交通运输工程、水利工程、管理科学与工程、土木工程4个一级学科博士学位授权点,16个二级学科博士学位授权点,土木工程、交通运输工程、水利工程3个博士后科研流动站,土木工程等18个一级学科硕士学位授权点,土木水利等13个硕士专业学位授权类别。获批重庆市3个一流学科、16个重点学科、智能交通和智慧城市2个“人工智能+”学科群。设有土木工程学院、河海学院、交通运输学院等20个学院(部)。
可见交通建设相关的工程类学科,是重庆交通大学优势特色学科,在毕业生就业上同样有所体现。
根据重庆交通大学2021届毕业生就业质量报告:近年来,该校毕业生的就业行业分布较为广泛,覆盖了“建筑业”、“制造业”、“信息传输、软件和信息技术服务业”等多个行业;其中“建筑业”领域为近三届毕业生主要行业流向,占比均在 40.01%及以上。
尽管上述图片没有分学历进行呈现,但是2020—2021学年本科教学质量报告给出了相关的信息,可以作为考生和家长报考的重要参考。根据这份报告:该校扎根重庆、立足西部,面向全国,2021届毕业生面向西部地区就业人数达2921人,占毕业生总人数的 49.77%,面向重庆就业人数达1915人,占毕业生总人数的32.63%。交通特色鲜明,近年来毕业生签约到中交、中铁、中建、中水等交通特色鲜明的大型企业比例较高,约占毕业生就业总数的41.2%,交通行业、工程领域是毕业生就业的主阵地。2021届本科毕业生升学(含出国(境)深造)1260人,升学率为21.47%。(两个报告统计截止时间不同,因而个别数据略有差异,但不影响趋势判断)
这些数据涉及到的是重庆交通大学2021 届的5869 名本科毕业生,其中:男生3776人,女生2093人,男女性别比为 1.8:1。截止到 2021 年 12 月 20 日,本科毕业生毕业去向落实率为 90.00%,其中,本科毕业生的主要去向为“签就业协议形式就业”(49.82%),“升学(内地)”(20.50%)次之。
可惜,该校的毕业生就业质量报告,并没有给出分专业的毕业去向落实率相关数据。我们只好拿本科教学质量报告中的分专业应届本科生初次就业率数据,贴在下面供大家参考。
还是那句话,毕业生人数多、落实率高的专业,一般都是该校真正的王牌高校,有兴趣的朋友可以重点关注这些专业。
作为一所老牌的本科院校,重庆交通大学的录取分数线并不高,从该校本科教学质量报告就可以读出这样的信息。
以2020—2021学年本科教学质量报告为例,强调学校全日制普通本科生源数量充足、质量优、综合素质高,学校社会声誉逐年提高,受到考生家长的积极关注。但也只是笼统介绍到;2021年本科招生录取调档线高出一本线30分以上的省市20个,占招生省市总数的比例达65%,缺乏详细的介绍,说明录取分数线并不高。
看上去就业不错的老牌本科高校,为什么生源质量看上去一般?主要原因可能是,重庆交通大学的优势学科专业与交通基础设施建设紧密相关,意味着毕业生主要在野外作业,需要比别人多吃一些苦头。尽管未来可能会有不错的收入前景,但是很多考生不愿意走这条路,家长朋友也不愿意自己的孩子去受苦。
不过,未必所有的考生都可以不受苦,小编建议农村出身特别是家庭条件一般的考生,可以重点考虑重庆交通大学。理由有两个,一是这一所“交通大学”,在行业内认可度高;二是到大型企业从事工程技术管理相关工作,对于无人脉资源的平民子弟来说,可能是一条更加务实的成长道路,至少可以快一些解决家庭经济困难问题。
关于选专业的问题,作为重庆市高水平新工科建设高校,重庆交通大学现有本科专业65个(2021年58个专业招生),覆盖工学、管理学、理学、经济学、文学、艺术学、法学等 7个学科门类和 15个专业大类,其中工学专业 38 个,占比 58%,以工为主特点鲜明。
对于成绩好的朋友来说,重点关注重庆交通大学现有的13个国家级一流本科专业建设点、38个重庆市一流本科专业建设点。至于其他的建设项目,比如土木工程、港口航道与海岸工程、交通运输3个国家特色专业,水利水电工程等7个专业获批教育部“卓越工程师教育培养计划”试点专业,有重庆市“三特行动计划”特色专业15个、特色学科专业群7个。小编也贴在下面,有兴趣的考生,可以将相关项目贯通起来,大致就会明白哪些专业是真的王牌。
此外,2021年该校机械设计制造及其自动化、测绘工程2个专业通过了工程教育专业认证,到目前为止共有土木工程、港口航道与海岸工程、交通运输、交通工程、测绘工程、机械设计制造及其自动化等6个专业通过了工程教育专业认证;2021年通过了给排水科学与工程通过住建部专业评估,到目前为止共有建筑学、工程管理、给排水科学与工程等3个专业通过住建部专业评估。
当然,如果您的成绩一般,就是想坐办公室干工作,那就随便选个专业,毕业后靠着自己的综合能力去从事一份满意的工作就可以了,不用纠结什么专业好什么专业不好。对于您来说,一个重庆交通大学的学历就够了。
版权声明:我们致力于保护作者版权,注重分享,被刊用文章【西南交通大学建筑与设计学院(重庆交通大学)】因无法核实真实出处,未能及时与作者取得联系,或有版权异议的,请联系管理员,我们会立即处理! 部分文章是来自自研大数据AI进行生成,内容摘自(百度百科,百度知道,头条百科,中国民法典,刑法,牛津词典,新华词典,汉语词典,国家院校,科普平台)等数据,内容仅供学习参考,不准确地方联系删除处理!;
工作时间:8:00-18:00
客服电话
电子邮件
beimuxi@protonmail.com
扫码二维码
获取最新动态
