在西安当地,普通人最认可的高校有哪些?交大自然是有口皆碑,第二个会是谁?有的朋友会说答案不固定,每个人都有自己的不同认知,事实可能真的是这样。
但是,小编所认识的西安当地人,以及那些曾经在西安工作、学习和生活过的外地人,给出的答案却高度一致,那就是电子科技大学。
当然,总有杠精朋友会说,电子科技大学只是赶上了互联网经济或者数字经济的好时候罢了,就像当年的煤炭、石油、建筑类高校一样。
真的是这样吗?还是让历史来告诉我们一切吧。
西安电子科技大学是以信息与电子学科为主,工、理、管、文多学科协调发展的全国重点大学,直属教育部,是国家“优势学科创新平台”项目和“211工程”项目重点建设高校之一、国家双创示范基地之一、首批35所示范性软件学院、首批9所示范性微电子学院、首批9所获批设立集成电路人才培养基地、首批一流网络安全学院建设示范项目、批18所集成电路科学与工程一级学科博士学位授权点高校之一。2017年和2022年,信息与通信工程、计算机科学与技术均入选国家“双一流”建设学科。
这样的介绍信息,不用官方介绍,我们或多或少都略知一二。毕竟,在中国叫电子科技大学的高校不多,上得了台盘、被人记住的只有电子科技大学和西安电子科技大学。然而,作为行业外人士的我们,对西安电子科技大学的历史所知甚少。
为了让大家更加简单明了认识这所刚刚庆祝过建校90周年的名校,小编从官网找了一张相对直观的历史变迁图片放在下面,我们可以从中了解该校从1931年以来的90多年历史。
在此,需要回应一下前面的那个问题,是不是到了信息技术高速发展的今天,西安电子科技大学才有了名气,进而实现了快速发展。历史真相是,该校是我国“一五”重点建设的项目之一,也是1959年全国20所重点大学之一。20世纪60年代,就以“西军电”之称蜚声海内外。同时,西安电子科技大学还是国内最早建立信息论、信息系统工程、雷达、微波天线、电子机械、电子对抗等专业的高校之一,开辟了我国IT学科的先河。从校友角度讲,西安电子科技大学已经为国家输送了31万余名电子信息领域的高级人才,产生了120多位将领,成长起了24位院士(1977年恢复高考以后院士校友20位,位列全国前茅),10余位国家副部级以上领导。
所以,这绝不是一所暴发户高校,有着光荣的历史和深厚的积淀,今天在业界的各种荣誉是多少代人前赴后继、接续奋斗的结果。
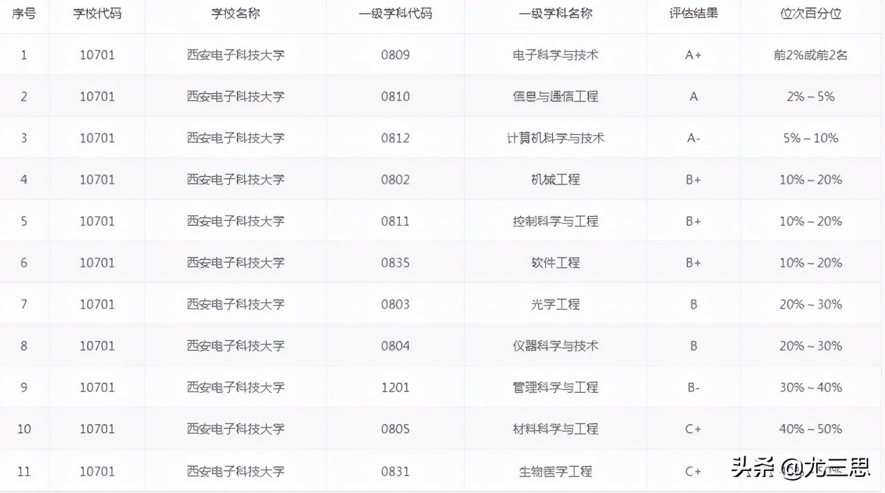
对于西安电子科技大学这样的老牌名校,普通人所关注的当然是各种重量级建设项目和排名,在这一点上西安电子科技大学一点儿也不落后。现有2个国家“双一流”重点建设学科群(包含信息与通信工程、电子科学与技术、计算机科学与技术、网络空间安全、控制科学与工程5个一级学科),2个国家一级重点学科(覆盖6个二级学科),1个国家二级重点学科,34个省部级重点学科,14个博士学位授权一级学科,26个硕士学位授权一级学科,10个博士后科研流动站,65个本科专业。全国第四轮一级学科评估结果中,3个学科获评A类:电子科学与技术学科评估结果为A+档,并列全国第1;信息与通信工程学科位于A档;计算机科学与技术学科评估结果为A-档,学校电子信息类学科继续保持国内领先水平。根据ESI公布数据,学校工程学和计算机科学均位列全球排名前1‰。
师资当然也要时不时拿出炫耀一下,西安电子科技大学现有专任教师2300余名,其中,博士生导师700余人,硕士生导师1500余人。其中,院士3人。在人才竞争越来越激烈的今天,该校的师资队伍还在继续壮大,2022年新年贺词中有这样一句话:一年来,256位海内外优秀人才加盟西电,500余位华山学者齐心打造活水涌流、基业长青的优秀人才成长梯队。有了这样的数字,官网所说的“以人为本、教师是大学核心竞争力的理念,锻造了一支结构合理、富有创新精神的教师队伍”,看来不是一句空话或者是一种吹嘘。
当然,也有朋友很关注校园,这方面西安电子科技大学同样称得上优秀:已经建成南北两个校区,总占地面积约270公顷(约4050亩),校舍建筑面积130多万平方米。喜欢图书馆的朋友,也会从中找到电子信息特色,该校图书馆馆藏文献约1817万册,其中纸质文献约304万册,电子文献约1513万册,内容覆盖了学校各个学科或专业。
至于如今的年轻人非常看重的宿舍环境,据该校学子反映,住宿环境不错,特别是新校区宿舍更好。吃的问题嘛,也是据说有3个食堂,有好吃的也有便宜快捷的。
很多人报考电子科技大学,无论哪个电子科技大学,其实是冲着就业和毕业后的高收入去的。那么,西安电子科技大学的就业情况到底如何呢?2021年度毕业生的就业情况,可能是最好的佐证。
首先,告诉大家一个消息,据西安电子科技大学官网介绍,就在2022年初,该校荣获陕西高校就业工作先进集体,主要原因是该校多措并举实现了毕业生更加充分更高质量就业,一起获奖的部属高校还有西北农林科技大学和陕西师范大学。刚刚获得这么一个奖,可见该校就业质量之高。
当然,我们还是以西安电子科技大学的2021年度毕业生就业质量报告相关数据来进行说明:该校2021届本科生毕业生5437 人,毕业去向落实率为95.02%,其中选择境内升学的比例(45.89%)较高。
从就业领域来看,毕业生就业最为集中的前两位行业是电子电气设备制造业(39.21%)以及信息传输、软件和信息技术服务业(分别为24.91%)。 从就业地区来看,本科毕业生的就业地区流向较为多元,已就业群体中有24.44%的人前往 广东,有20.54%的人留在陕西。
对于家长关心的考研问题,本科毕业生共2441 人选择境内读研,其中61.49%留在本校深造,前 往 C9 高校深造比例为11.51%;另外有 420 人选择出国、出境留学。
唯一遗憾的是,该校的就业质量报告没有披露毕业生的平均月薪,但是从2019~2021届本科毕业生在民企就业的比例均在50%以 上,且主要就业于1000 人以上规模的大型用人单位来看,收入自然不会低。
西安电子科技大学的就业质量报告中,并没有披露每个专业的就业情况,所以小编没有贴出来。同时,该校的2020—2021学年本科教学质量报告也没有公布,所以我们无法掌握知晓最新的分专业就业情况。在这种情况下,该如何选专业呢?
首先,大家应该明白一点,西安电子科技大学的生源质量越来越好。据该校招生网介绍,2021年是面向全国开展大类招生的第二年,与此同时新增8省市推行高考改革制度,招考改革与政策变化带来了一定的招考压力;另外,录取提前批次变化与上游高校增加计划等扩大了不确定因素带来的压力。经过各方努力,在很多省份的招考位次接续上涨。
其中,3省份最低录取位次提升600名以上(浙江提升911名,广东提升774名,首次突破10000位次关口;上海提升689名,首次突破5000位次关口);有23个省份理工类(或选科物理)录取分数线及位次超越2020年,再创新高。在属地陕西生源质量再提升,一批理工类录取最低位次6501,刷新了有位次信息统计以来最好成绩。特别是,在陕西一批理工录取到3000-4000位次段的考生人数,较2020年提升了213%。
对于这样成绩的考生,选专业当然有不少纠结,特别是面对拥有65个专业的西安电子科技大学。小编认为,准备报考西安电子科技大学的考生和家长,可以先大概了解一下该校都有哪些专业。正好,该校信息公开网公布了分学院、分类别的专业清单,大家可以参考一下。
大致知道这65个专业了,就要根据自己的需要去选择。如果自己的成绩相对比较突出,当然要围绕电子信息和计算机两大类去寻找自己喜欢的专业。至于其他考生,就尽量去选择一些工科专业,实在不行再考虑理学和文科类别专业。
最后,把该校的26个国家一流本科专业建设点和21个省级一流本科专业建设点给大家推荐一下,选择专业的时候,可以重点在这个圈圈里面进行勾选。
国家级一流本科专业建设点,主要涉及以下专业:数学与应用数学、机械设计制造及自动化、测控技术与仪器、电子信息工程、通信工程、微电子科学与工程、集成电路设计与集成系统、电子信息科学与技术、软件工程、网络工程、信息安全、智能科学与技术、探测制导与控制技术、信息管理与信息系统、电子科学与技术、光电信息科学与工程、信息工程、电子封装技术、电磁场与无线技术、人工智能、自动化、计算机科学与技术、网络空间安全、信息对抗技术、生物医学工程、工商管理。
省级一流本科专业建设点,则涉及以下专业:英语、统计学、空间信息与数字技术、遥感科学与技术、金融学、信息与计算科学、应用物理学、应用化学、空间科学与技术、材料科学与工程、电波传播与天线、物联网工程、工业工程。
需要说明的是,西安电子科技大学官网说自己拥有21个省级一流本科专业建设点,实际上有8个专业已经升格为国家级一流本科专业建设点,所以小编没有重复列出。
最后,选择专业之前,聪明的您或者您的孩子,一定要多收集一些信息,看看每个专业到底是学什么干什么的,不能简单的望文生义,将来后悔不已。
版权声明:我们致力于保护作者版权,注重分享,被刊用文章【西安电子科技大学是211吗(西安电子科技大学)】因无法核实真实出处,未能及时与作者取得联系,或有版权异议的,请联系管理员,我们会立即处理! 部分文章是来自自研大数据AI进行生成,内容摘自(百度百科,百度知道,头条百科,中国民法典,刑法,牛津词典,新华词典,汉语词典,国家院校,科普平台)等数据,内容仅供学习参考,不准确地方联系删除处理!;
工作时间:8:00-18:00
客服电话
电子邮件
beimuxi@protonmail.com
扫码二维码
获取最新动态
