贸易战风云变幻,从卡脖子的芯片到现在的棉花。一堆国外服装品牌要抵制新疆棉花,如果我们反制,不要它们了,会如何?我们还能穿得漂漂亮亮的吗?
当然,漂亮不是关键,毕竟这个跟芯片不一样,土一点也不影响大局。但是,能漂亮一点还是要漂亮一点的,这个需要靠我们的设计师,其中纺织类大学是关键。
因为现在国产服装,像李宁、雅戈尔、海澜之家等等,面料之类的都不错,但设计比较土,不知道在这种机会之下,我们本土的服装设计师或者大学能否顺势成长起来?
在之前,有八大纺校,包括:
华东纺织工学院(现东华大学);天津纺织工学院(现天津工业大学);北京纺织工学院(现北京服装学院);苏州丝绸工学院(并入苏州大学);西北纺织工学院(现西安工程大学);浙江丝绸工学院(现浙江理工大学);武汉纺织工学院(现武汉纺织大学);郑州纺织工学院(现中原工学院)。八大纺校是当年的纺织工业部直属院校。在英国,工业革命一开始就是出现在纺织业,穿衣得到了极大的满足。我们国家从落后的农耕社会走出来,第一步纺织业也是必须要发展的,因此搞了个纺织工业部,并且有8大纺校。
经过这么多年,我国已经是世界第一大纺织业制造国了,纺织大学也基本全部改名。其实,衣食住行这些基本需求一直在的,这些大学也是默默地在发展。
东华大学一直被人认为是改名失败的典型,很多人不知道这是一所什么学校,听着名字像个民办校;大家也不知道它在哪个地方。
其实,东华大学在之前,有个非常响亮的名字,中国纺织大学。东华大学是1951年院系调整时候建立的,有6所大学的纺织类专业合并而成,是国内纺织专业最齐全,水平最高的一所大学。东华大学在1954年招留学生,1959年招研究生,在1960年就是全国重点。
东华大学最早叫华东纺织工学院,后来改为中国纺织大学,在1999年改为东华大学。很少有人把校名中的“中国”去掉,因此大家都认为这个改名不成功。
东华大学在1997年就是211大学,现在也是一流学科大学。
东华大学最强的就是纺织科学与技术,在学科评估中为A+,其他如材料、设计学也不错。一般来说,纺织大学的材料都不错,因为他们需要关心面料。
东华大学最强的设计是服装设计,国内排第一,因此东华大学要加油啊,培养出更多的人才来。另外,东华大学的化纤也是国内最强的。
天津工业大学是双一流大学。它是相当于北方一些学校的纺织专业合并出来的,比如北洋大学、西北联合大学工学院、北平大学工学院等的纺织专业等,在1958年成立,在2000年改为现在的名字。
天津工业大学的纺织工程也非常厉害,跟东华大学一样,是A+学科,国内最强。除了这个,天津工业大学的服装表演也非常有名,也有服装设计,不过不如其他学校出名。天工比较有名的还有非织造材料,天工的材料比较有名,尤其是复合材料、膜材料,另外电气工程也不错。
北京服装学院是国内唯一一所以“服装”命名的学校。北服创建于1959年,原名叫北京纺织工学院,后来改为北京化纤工学院,在1988年的时候,改为北京服装学院。
很多人应该听说过北服,原因很简单,北服的服装表演专业非常有名,就是模特专业。北服的服装设计专业也很有名。
苏州大学是几所大学合并而成的,在1997年的时候,苏州丝绸工学院并入苏州大学。苏州大学的纺织专业全国排第三,它的服装设计和服装表演也非常不错。苏州大学,也就是原先苏州丝绸工学院,是全国第一个开设服装表演的学校,出过一些著名的模特。
西安工程大学建校比较晚,在1978年才建校,前身是陕西科技大学的纺织专业。陕西科技大学曾经叫北京轻工业学院,在1970年,京校外迁的时候,迁到陕西。在1978年,创建陕西纺织工学院,就是现在的西安工程大学。这是西部唯一一所纺织大学。不过纺织专业水平一般,为C+。
浙江理工大学原名浙江丝绸工学院,这个学校原来对标苏州丝绸工学院。中国蚕桑业最发达的地区是江浙。浙江理工大学的服装设计也很好,在国内服装设计大学里面能排前10名。
这是唯一一所带有“纺织”两个字的大学。其实原先它叫武汉科技学院,在2010年才重新换回“纺织”。
武汉纺织大学比较好的是纺织、机械和材料。其实,所有的纺织大学的机械、材料都还可以。
中原工学院原名叫郑州纺织工学院,1955年创建,后来改名叫中原工学院。它现在的研究方向除了纺织,还有航空航天新材料。事实上,所有的纺织大学都在研究此类材料。因为航空航天的材料需要轻、薄、结实,有的还有其他各种要求,跟织物比较像。
除了这八大纺校,还有一些设计类的学校也有服装设计专业,像央美、江南大学等等。希望大家赶紧努力,培养出有世界审美的设计师出来。加油!
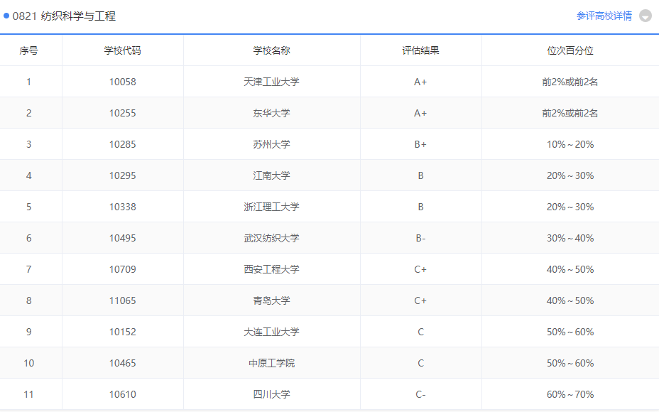
附录:第四轮学科评估纺织科学与工程
版权声明:我们致力于保护作者版权,注重分享,被刊用文章【华东服装学校(服装战的痛点)】因无法核实真实出处,未能及时与作者取得联系,或有版权异议的,请联系管理员,我们会立即处理! 部分文章是来自自研大数据AI进行生成,内容摘自(百度百科,百度知道,头条百科,中国民法典,刑法,牛津词典,新华词典,汉语词典,国家院校,科普平台)等数据,内容仅供学习参考,不准确地方联系删除处理!;
工作时间:8:00-18:00
客服电话
电子邮件
beimuxi@protonmail.com
扫码二维码
获取最新动态
