众所周知,中国总共有39所985大学,民间把985高校也进行了一定程度上的排位,目前来看中国海洋大学、中央民族大学、西北农林科技大学等被称为末流985,但近几年作为曾经辉煌一时的兰州大学也被列入了末流985高校的行列,主要原因是教授人才等流失严重,因为所处的地理位置以及待遇等问题,纷纷离开了兰州大学,据说光苏州大学一所高校挖走的兰州大学教师都足以重建一所苏州大学了。
今天小编给大家聊聊作为西部985高校的兰州大学与位于一线城市上海的211高校上海大学,看看这两所高校哪所更能受到各位家长及学子的青睐?
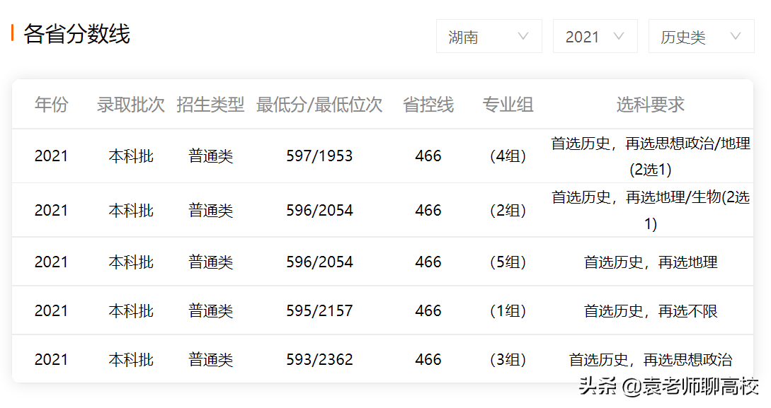
以兰州大学在湖南的省的2021年录取分数线来看,物理类最低分在607分,最低排名在第9702位,历史类最低录取分数线为593分,最低位次为第2362位!
以上海大学在湖南的省的2021年录取分数线来看,物理类最低分在610分,最低排名在第8710位,历史类最低录取分数线为605分,最低位次为第1284位!
从两所高校在湖南省的录取情况来看,很明显上海大学已经超过了兰州大学,可见目前的学生报考高校时很大程度上参考了地理位置情况!
兰州大学双一流建设学科有化学、大气科学、生态学、草学。其中草学专业被评为A+,另有生态学专业被评为A,其他学科情况可以详见下表!
上海大学在双一流学科只有一个:机械工程。在第四轮评估结果中,社会学及美术学被评为A-,而双一流的机械工程仅被评为B+,其他的专业情况详见下表!
很明显,兰州大学作为双一流A类高校,优势学科还是强于上海大学的,但草学专业相对来讲比较冷门,可能并不会是很多学生的优先选择,而上海大学的机械工程可能会受到更多学生的青睐,毕竟未来就业更有优势!
兰州大学有榆中、城关两个校区占地3544亩,下设42个教学科研单位、103个本科专业;有21个博士后科研流动站,25个一级学科博士点,1个专业学位博士点,47个一级学科硕士点,21个专业学位硕士点;有本科生20121人,硕士研究生12253人,博士研究生3161人;教学科研人员2250人。
上海大学有宝山校区(校本部)、延长校区、嘉定校区3个校区,校园占地面积近200万平方米,校舍建筑面积140万平方米;学校设有30个学院和1个校管系;开设94个本科专业;有20个博士后科研流动站,28个一级学科博士学位授权点,45个一级学科硕士学位授权点、1个二级学科硕士学位授权点(一级学科未覆盖),22个硕士专业学位类别;有专任教师3419人;有研究生18021人,全日制本科生19921人(含预科生63人),成人教育学生19912人。
从办学规模上来看,上海大学的博士点还要多于兰州大学,其他数量上两所高校也不相上下。
上海大学在2021年的校友会排名中位于全国第60位,在软科排名中位于全国第45位!
兰州大学在2021年的校友会排名中位于全国第30位,在软科排名中位于全国第39位!
兰州大学创建于1909年,其前身是清末新政期间设立的甘肃法政学堂;1928年扩建为兰州中山大学;1946年定名为国立兰州大学。1952年,被确定为国家十四所综合性大学之一;1954年开始研究生教育;2001年,教育部与甘肃省政府签订省部重点共建协议;2002年和2004年,原甘肃省草原生态研究所、兰州医学院先后并入兰州大学。
同时兰州大学也是教育部直属的全国重点大学,985工程重点大学、同时也是双一流A类建设高校!
上海大学是1994年5月,新的上海大学由上海工业大学(成立于1960年)、上海科学技术大学(成立于1958年)、原上海大学(成立于1983年)和上海科技高等专科学校(成立于1959年)合并组建而成。
上海大学是上海市属的综合性大学,国家“双一流”建设高校、国家“211工程”建设高校,教育部与上海市人民政府共建高校。
从历史起源以及定位来看,兰州大学要比上海大学优秀很多!
兰州大学位于西部地区兰州市,相对来讲经济较为落后,上海大学位于中国一线城市上海,无论是经济实力还是城市魅力都足以吸引很多优秀学生,特别是上海作为一线大都市,雄厚的资金实力、优势的教学资源都足够让学生开拓眼界,兰州大学曾经是中国非常优秀的重点高校,也曾为国家培养了无数的尖端人才,但近些年来的没落也需要值得深思!
如果想要大学四年去一线开拓视野,可以选择上海大学这样的211高校,四年的一线求学生涯也会让人充满见识,如果在分数足够的前提下,想要选择985高校,也可以考虑兰州大学,虽然条件艰苦,但985高校的优势资源会让你学有所成,对将来的就业还是考公都是非常有利的!
祝愿各位学子都能考入自己满意的高校,学到自己满意的专业!
版权声明:我们致力于保护作者版权,注重分享,被刊用文章【上海大学校区(兰州大学与上海大学)】因无法核实真实出处,未能及时与作者取得联系,或有版权异议的,请联系管理员,我们会立即处理! 部分文章是来自自研大数据AI进行生成,内容摘自(百度百科,百度知道,头条百科,中国民法典,刑法,牛津词典,新华词典,汉语词典,国家院校,科普平台)等数据,内容仅供学习参考,不准确地方联系删除处理!;
工作时间:8:00-18:00
客服电话
电子邮件
beimuxi@protonmail.com
扫码二维码
获取最新动态
