在我们国家,提到航空航天,人们首先想到的可能就是那么几所高校:哈尔滨工业大学、北京航空航天大学、西北工业大学、南京航空航天大学。
其实,除了这些名校之外,仍然有不少高校开设航空航天专业,特别是部分高校干脆也直接在校名中带上了”航“字头。
比如,根据刚刚对外公布的全国高等学校名单最新版,仅公办本科层次带”航“字头的高校就多达11所,除了北京航空航天大学、南京航空航天大学,其他高校对于大多数考生和家长来说,那是相当陌生的。
今天,我们就来一起了解一下11所”航“字头高校中的两所航空(航天)大学,她们分别是沈阳航空航天大学、南昌航空大学。我们需要解决的主要问题是,这两所航空大学的航空航天类专业香吗?是否值得那些有志青年考生报考。
考虑到很多朋友没有耐心认真阅读文字材料,所以小编一开始就亮出自己的观点:一是如果您的目标就是到所谓的”四航“企业中谋得一个工作的话,这两所大学可以考虑。二是如果您有更高追求的话,那就不要考虑她们的航空航天专业了,不如直接学习更接地气的一些实用性工学专业。
为什么这样说呢?小编的理由主要有以下几点
为了方便表述,小编按照更名大学的时间为序,依次论述南昌航空大学和沈阳航空航天大学的历史。从中,大家就可以看到,两所大学一开始的定位就是为具体生产经营活动培养技术人才,本意并不在于培养高端研发技术人才。
我们先来看南昌航空大学,创建于1952年,是全国首批学士学位授予权单位。1985年开始培养硕士研究生,1990年获硕士学位授予权。先后隶属于航空工业部、航空航天工业部、中国航空工业总公司,1999年实行以地方管理为主的管理体制,是江西省与国家国 防 科技工业局共建的高等学校。上面提到的所谓首批学士学位授权单位获得时间,据介绍是1982年。
看一下上面的历史沿革图,该校建校70周年,前26年都是一所中专院校。至今,该校尚未能成为博士学位授权单位。截至目前,该校具有 17 个硕士学位授权一级学科点,11 个硕士专业学位授权点。拥有环境科学与工程、航空宇航科学与技术和仪器科学与技术三个江西省一流学科,5 个国 防特色学科。
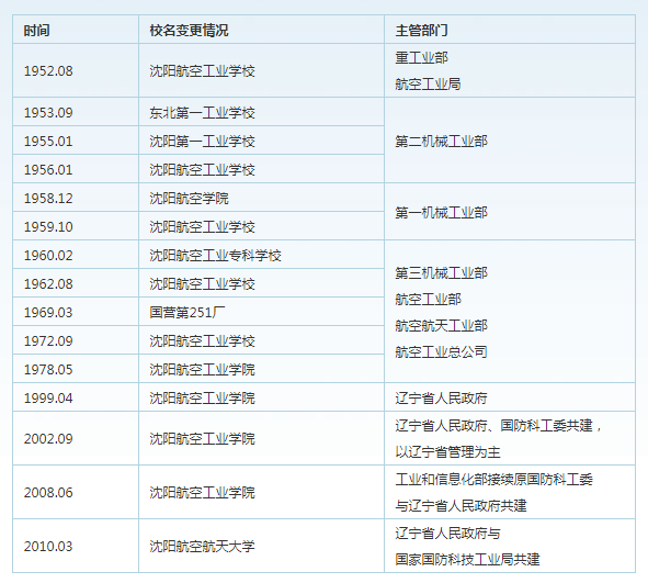
接下来,我们看一下沈阳航空航天大学,始建于 1952 年,是“一五”计划期间前苏联援助的 156 个项目之一,是原航空工业部所属的 6 所本科航空院校之一,2010 年 3 月更名为“沈阳航空航天大学”是辽宁省与教育部、中国航空工业集团公司三方共建高校,是辽宁省与国家国 防科工局共建高校。
沈阳航空航天大学相对来说混得可能好些,具有推免硕士研究生资格,也已经成为博士学位授予权单位,现有 2 个博士一级学位点,13 个 硕士一级学位点,7 个专业学位类别;现已形成了以“航空装备设计制造与试验技术”为主要研 究方向的航空宇航学科群和以“航空信息化与控制技术”为主要研究方向的信息科学学科群。
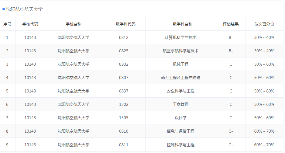
小编不是航空航天业界人士,不敢随意评价这两所高校的学科专业建设成就。不过,如果我们看一下目前最新的第四轮学科评估结果,可能沈阳航空航天大学更像是一所航空航天大学。
理由很简单,作为航空航天主要学科的航空宇航科学与技术一级学科,沈阳航空航天大学获评B-,南昌航空大学没有入榜。
如果换个角度的话,从院系设置来看,南昌航空大学的航空航天类专业所在院系,排列次序并不在前两位。
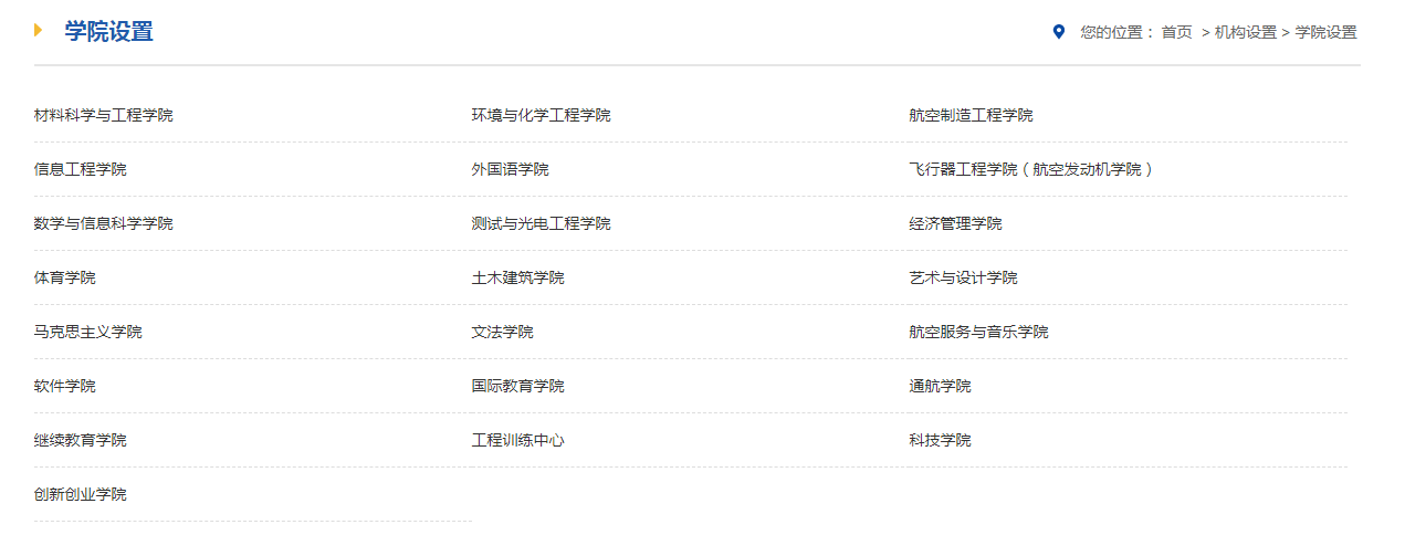
沈阳航空航天大学的情况类似,排在第一、二位置的院系,依然不是航空航天类专业所在的院系。
从这个角度看,两所高校的发展重点是航空宇航科学与技术学科专业,但是同样重视其他工学学科专业,这可能与南昌航空大学、沈阳航空航天大学曾经的定位有关,参与有关制造人才培养才是她们的主业,至于飞行器相关的专业人才培养至于她们,并未被寄予太大厚望。
开始这一部分之前,我们一改过去的做法,直接让大家看一下南昌航空大学2021届毕业生分专业的去向落实率。
同时关注一下,沈阳航空航天大学2021届本科毕业生中,每个专业的大致人数情况。
之所以先向大家呈现两组长数据,主要是让大家看看两所航空大学的毕业生,主要集中在什么专业,是不是与大家想的一样,航空航天类专业毕业生占据了绝对优势地位。其实,不用太过认真去研究,大家就会发现航空航天类专业并不占主流。
那么,作为航空大学,”四航“企业接收毕业生情况如何呢?
南昌航空大学2021年毕业生就业质量年报,没有给出详细的数据,只是强调该校不断巩固和加强与航空、航天、民航、军 工等行业的交流合作,拓展船舶、兵 器等其他国 防领域就业市场,加大航空国 防企事业单位来校招聘邀请力度,举办中国航发、航空工业、航天科工等专场招聘会,毕业生服务航空国 防企事业单位人数占已就业学生总人数比例稳中有升,达到 36.29%,为近年来最高,航空国 防特色进一步凸显。需要注意的是,这里的36.29%,是研究生、本科生的总计数据。
沈阳航空航天大学的数据相对详实一些,根据该校2021年就业质量报告,学校充分发挥在航空航天领域人才培养的优势,形成了面向航空、航天、民航、 通航等“四航”领域的人才培养格局。2021 届本科毕业生“四航”领域就业人数为 627 人。
报告还指出,沈阳航空航天大学2021 届飞行器制造工程、航空航天工程专业的毕业生在国有企业的就业比例最高,其次是 能源与动力工程、机械电子工程、机械设计制造及其自动化等具有国 防特色的专业。2021 届飞行技术专业的毕业生在民航系统的就业比例最高,占 62.89%。
最后我们来解决一个问题,那就是两校的专业该怎么选择。如果您的分数足够优秀,小编的建议分别是,南昌航空大学重点关注江西考生的选择。
至于沈阳航空航天大学,建议参照上述这张国家一流本科专业建设点名单的图片。据介绍,自2019年教育部启动一流本科专业建设“双万计划”以来,沈阳航空航天大学累计获批一流本科专业建设点33个,其中国家级18个,省级15个,一流专业占招生专业的65%。
为什么这样建议,小编不妨告诉大家:南昌航空大学的一流本科专业建设点名单不全,所以江西考生的选择是一个重要参考。
沈阳航空航天大学的航空航天特色相对突出,并且公开了2019—2021年三个年度的一流本科专业建设点名单,所以就可以按照这个名单去选,相对放心一些。
版权声明:我们致力于保护作者版权,注重分享,被刊用文章【南昌航空大学就业好难(双非)】因无法核实真实出处,未能及时与作者取得联系,或有版权异议的,请联系管理员,我们会立即处理! 部分文章是来自自研大数据AI进行生成,内容摘自(百度百科,百度知道,头条百科,中国民法典,刑法,牛津词典,新华词典,汉语词典,国家院校,科普平台)等数据,内容仅供学习参考,不准确地方联系删除处理!;
工作时间:8:00-18:00
客服电话
电子邮件
beimuxi@protonmail.com
扫码二维码
获取最新动态
