编辑/FBI警校生
最近大家都忙着为孩子填报高考志愿,心里非常着急,迫切想要知道自己孩子的分数能不能报考警校,分数够不够,有没有把握,位次稳不稳,我非常理解大家的心情,但是,一些类似这样的问题:
比如,分数500够吗?
天津586,能进吗?
孩子577分,想报考刑警学院,机会大吗?
有时候我想回答你,都不知道该怎么回答,基本信息不全,我完全不知道怎么去判断。
如果直接回答可以,你又觉得敷衍,根本不会相信;如果回答太多,你又觉得啰嗦;如果没有回答,你又感到不高兴。总有一部分人感到不满意,所以今天教大家自己算,孩子分数报考警校到底稳不稳。
那个省、文科理科、男生女生、今年和去年的计划招生人数、今年和去年的最低录取分数,今年和去年最低录取分数对应的位次、今年和去年的高考省控分数线、选科限制报考人数多少等。
高考省控分数线是省级招生部门根据省内全体考生当年高考成绩水平和下达的招生生源计划,相应确定的一个录取新生的最低成绩标准控制分数线,只有高考分数达到这个控制线以上才有资格报考这些学校。位次是指省内或市区排名的累计人次,通过省公布的一分一段表可以查看比较。
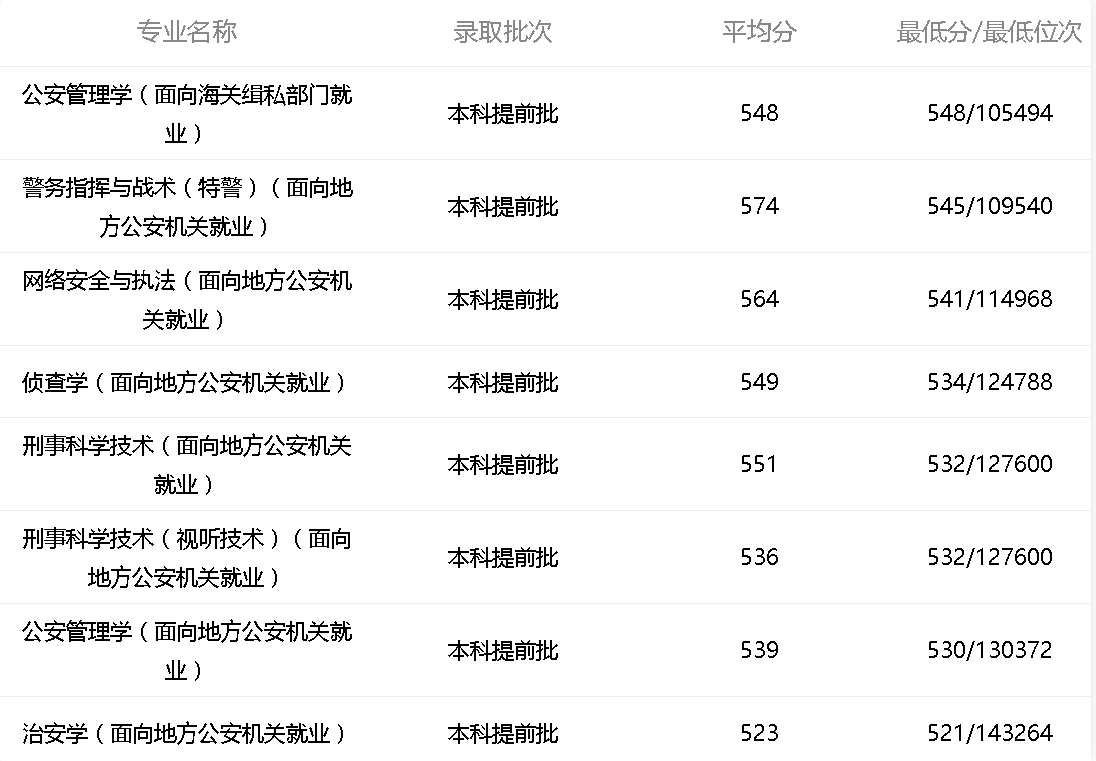
2021年河南理科一分一段表中509分考生对应的位次为129750;一本理科省控线为518分,二本理科省控线为400分,考生高出二本省控线109分。今年学校男生招生计划为47人,女生招生计划为8人。
2020年在河南最低录取分数线521分,河南理科一分一段表中考生对应的位次为143264;当年河南一本理科省控线为544分,二本理科省控线为418分,高出二本省控线103分。当年学校男生招生计划为53人,女生招生计划为7人。
2019年在河南最低录取分数线470分,河南理科一分一段表中考生对应的位次为152213;当年河南一本理科省控线为502分,二本理科省控线为385分,高出二本省控线85分。当年学校男生招生计划56人,女生招生计划9人。
最后,比较综合分析后,预测该考生将会在今年学校录取最低分数线略微超过一点。
老师结论:该考生可以报考该警校并有机会被学校录取,建议你选择专业调剂增加被学校录取的概率。
关注我还会获得更多相关知识的分享!
版权声明:我们致力于保护作者版权,注重分享,被刊用文章【警察学院排名及分数线(报考警校534分够不够)】因无法核实真实出处,未能及时与作者取得联系,或有版权异议的,请联系管理员,我们会立即处理! 部分文章是来自自研大数据AI进行生成,内容摘自(百度百科,百度知道,头条百科,中国民法典,刑法,牛津词典,新华词典,汉语词典,国家院校,科普平台)等数据,内容仅供学习参考,不准确地方联系删除处理!;
工作时间:8:00-18:00
客服电话
电子邮件
beimuxi@protonmail.com
扫码二维码
获取最新动态
