小语种专业的就业高度依赖于国际交流与国际贸易,在如今的疫情冲击与逆全球化风潮下,毕业生的前景受到了相当的冲击。但新时代的国际交流,尤其是与第三世界国家的国际交流,无疑还在相当程度上需要小语种人才。
作者 | 王同学,上海外国语大学朝鲜语本科毕业,传播学硕士在读
本篇文章中的“小语种”指的是教育部《普通高等学校本科专业目录》“文学(05)”大类下的“外国语言文学(0502)”范畴。在2022年版教育部《普通高等学校本科专业目录》中,“外国语言文学(0502)”类包含了从“桑戈语(050200T)”到“塞苏陀语(050299T)”共104个专业,语种种类基本覆盖了180个与我国建交国家的官方用语。除去其中的“英语(050201)”“语言学(0502100T)”“翻译(50261)”“商务英语(50262)”之外,其余一百个专业都属于我们在高考报考时称为的“小语种”。
一提到小语种,许多同学和家长可能会直观地将其和“高大上”“好就业”划上等号:外交部、驻外使馆、驻外记者……无一不让人心向往之,但事实真的如此吗?又是一年毕业季,被找工作反复折磨的小语种学子们却纷纷劝退,豆瓣小组“大学后悔学小语种”的成员高达32680人,在“大学后悔学xx”系列小组中成员总数名列前茅。
那么究竟是“人人羡”还是“人人嫌”,希望看完这篇文章之后,你能找到自己的答案。
对小语种的定义一般有两种,一种是指非通用语,即联合国规定的6种通用工作语(英语、汉语、法语、俄语、西班牙语、阿拉伯语)之外的语种;另一种是指除英语之外的所有语种。我国绝大多数中学开设的外语课程都是英语,各高校招生的外语专业也绝大部分都是英语专业,因此,在每年高考招生以及志愿填报中,大家普遍地把汉语、英语之外的语言统称为小语种。
目前我国高校招收的小语种主要有两类:一类是欧洲语系,主要包括俄语、德语、法语、西班牙语、葡萄牙语、捷克语、荷兰语、瑞典语、匈牙利语、意大利语、塞尔维亚语等;另一类是亚非语系,主要包括日语、朝鲜语(韩语)、蒙古语、越南语、泰语、菲律宾语、柬埔寨语、阿拉伯语、印度尼西亚语、波斯语等。
别看小语种门类甚广,但其中常年招生的只有十多个,其他语种则是隔年或者数年才招一次,如北京外国语大学的柬埔寨语专业、上海外国语大学的土耳其语专业和印地语专业等都是四年一招,而且根据各个大学的招生计划,其在不同省份招生专业也是有所差异的。报考学生和家长要结合本省份的普通高等学校招生专业目录再做研判。
鉴于语言的专业性和师资体系搭建的难度,能够开设多种类外国语专业的大学还是少数。总的来说可以分为两类:一类是综合类院校的外语系,如北京大学、南京大学、浙江大学等综合类双一流、985院校,或者因地缘特色而独具优势的院校,如黑龙江大学(俄语实力突出)、延边大学(朝鲜语实力突出)等;另一类则是专业的外语类院校,如北京外国语大学、上海外国语大学、北京第二外国语学院、广东外语外贸大学、西安外国语大学、四川外国语大学等等。
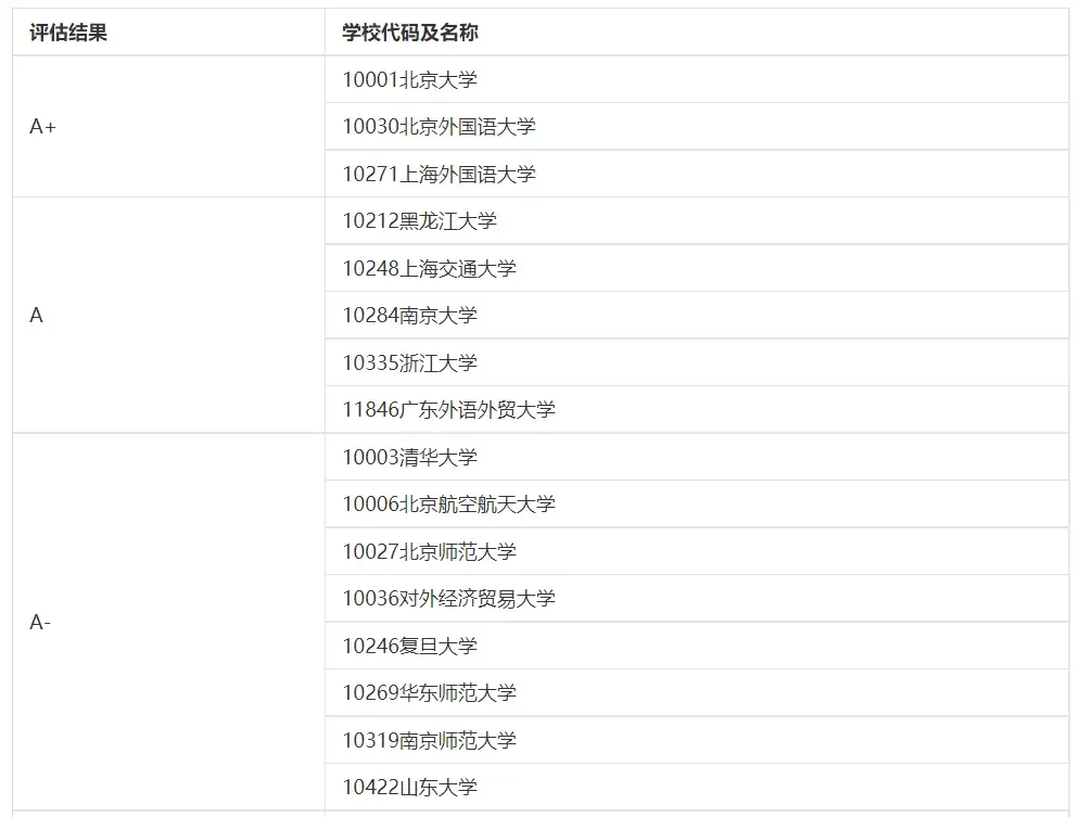
下表截取了教育部全国第四轮学科评估结果“外国语言文学(0502)”类部分排名,各位同学可作为参考。在这里,笔者个人的观点是,高考分数较好的情况下,择校大于择专业,如果高考分数不理想,冲不上985和顶尖211,那么选择专业则显得极为重要了。语言固然是一门非常值得学习且会让人终身受益的东西,但是如果能上同层次的综合性大学,发展路径会比专业外语院校更宽。当然,如果你是真的出于对语言的热爱或者有自己的发展计划,那么,请继续往下看。
图源:教育部第四轮学科评估
绝大多数小语种专业同学在正式步入大学之前对自己所选的专业都是一知半解的,也就是说,大家都是从零开始,站在同一起跑线上的。那么想在四年的时间里熟练掌握一门语言,势必要接受大量的基础课程教育。
各个小语种专业的培养目标基本是相通的,要求学生在经过四年的学习后,能具备扎实的专业语言基础和熟练的听、说、读、写、译能力,对该语种对象国国家社会、经济和文化有广泛了解,并具有良好的语言交际和汉语-对应小语种互译能力。
小语种专业的本科教学分基础教学和高年级教学两个阶段。
基础教学阶段(大一、大二时期):主要任务是对学生进行全面、严格的基本功训练,帮助他们掌握目标语种基础知识,达到用目标语种交流、沟通的中等水平,并对目标语种国家有基本的了解。以上海外国语大学的朝鲜语专业为例,在这一阶段安排的课程有基础朝鲜语、朝鲜语会话、朝鲜语泛读、朝鲜语视听说、朝鲜半岛国家概况等。
高年级教学阶段(大三、大四时期):主要任务是重点培养学生的语言综合应用能力和基础科研能力,扩大他们的知识范围,并培养其对语言、文学、翻译和对象国研究等领域的学习兴趣。以北京外国语大学的葡萄牙语专业为例,高年级阶段的课程设有汉葡互译(包括笔译和口译)、实用葡语写作、高级听力等。此外,还开设有语言学与翻译、文学与文化、政治与经济等方向的专业选修课程,满足学生的个性发展。
目前国内一些外语类领军院校和综合实力较强的院校大都会与所设专业语种对象国的一些国际知名高等学府签订合作协议,在对外交流方面成绩显著,人才培养国际化程度不断提升。
也曾听过不少同学会问“每个人都有机会出去交换吗?”“交换的学费和生活费是不是很贵啊?”对于这一类问题,笔者总结了三类常见的交换途径,大家也可以在招生咨询的时候询问目标院校是否有这些机会。
第一种是走国家留学基金委的项目,申请通过后可以作为国家公派留学生前往语言对象国交换学习半年或一年不等(具体时长视项目决定),留基委会提供资金支持,基本可以覆盖留学开支。但这种项目一般分到学校的名额有限,绩点排在前10%的同学会更有把握争取一些。
第二种是学校与对象国合作院校签订的交换项目,交换时长多为半年,这种类型的交换项目会互免学费,生活费部分有的院校会提供留学资金支持,有的院校则没有,建议在入学之初就和专业老师或教学秘书了解清楚相关政策。
第三种是个人申请的交换项目,因为前两种途径的名额有限,那么绩点排名相对落后但又想有一段交换经历的同学可以考虑自主向对象国院校提出申请,这种方式的费用是需要由个人承担的,并且要和学校提前沟通好修读课程的学分转换事项。
目前许多院校都在大力推行“7+1”模式,让学生在校8个学期中,有1到2个学期(一般是大二下学期或者大三上学期)前往语言对象国进行深入学习,在浓郁的语言氛围中磨练对语言的掌握和运用。但近两年的新冠肺炎疫情逼停了一些学校的交换计划,还有一些同学陷入成功申请出去交换却等不到机票回国的困境,因此,同学们在做规划时,也要注意参考当时的国际局势。
通过前面的介绍我们也可以看到,在当前我国小语种教育培养模式中,小语种专业的学生学习内容仍然比较单一,主要集中在语言以及文学方面的教育上,尽管语言教育以及小语种文学教育能够为学生打下较为扎实的语言基础,但单一的专业内容学习会导致学生其他方面能力的缺失。
例如:在进行对外商务贸易时,小语种专业人才需要协助对外贸易企业进行商务内容谈判并协助企业签订对外贸易合同,在这一过程中,小语种专业人才不仅需要掌握大量的小语种词汇,而且还要对小语种国家的商务贸易习惯以及相关国家的法律进行一定的了解,同时还需要掌握小语种国家一定的商务礼仪和风俗,帮助对外贸易企业达成合作。因此,单一语言技能还不足以成为个体在人才市场上的核心竞争力,目前我国高校也正在探索小语种人才培养创新模式。
2021年底,教育部发布了《关于做好2022年普通高等学校部分特殊类型招生工作的通知》,《通知》明确提到要继续加大向国家“一带一路”建设发展所需语种专业倾斜力度;2024年起,除北外、上外、外交学院继续接收英语专业保送生后,其它高校招收的外国语中学推荐保送生均安排在除英语以外的小语种相关专业,鼓励高校培养“小语种+”复合型人才。
那么究竟什么是“小语种+”呢?
从字面上看,就是小语种专业本身+另一专业/领域,以上海外国语大学为例,在教育部《通知》发布之前,就早在践行这个概念,不过在最开始,指的是“小语种+英语”的形式,小语种专业学生在校期间,不仅要学习自己的专业语言,还会强化其对英语的应用水平,并且会为学生提供英语专四、专八的考试机会,所有在校学生都要通过专四考试(北外也是如此)。
现在“小语种+”的内涵逐渐丰富,虽然依旧重视英语教育,但“+”的部分可选择的领域更多了,常见的一些复合学科有“小语种+新闻”“小语种+金融”“小语种+法律”“小语种+管理”等。这种复合型培养方式是由学生自主选择的,换一个简单的说法就是“辅修”,学校内部会开一些辅修专业,地区高校间也会互相开放辅修课程,如上外的同学可以辅修复旦的新闻,也可以辅修上财的金融、会计等,通常通过两年的辅修可以获得的是辅修证书。
如今为了进一步培养复合型小语种人才,高校也开始拓展双学士学位专业,在《2022年上海市普通高等学校双学士学位复合型人才培养项目名单》中,上外的“俄语-工商管理”双学位项目正式获批,未来高校或许会逐步开放这种“小语种+”双学位的培养形式。
小语种素来以就业比例高而著称,在目前毕业大学生数量居高不下、就业形势不容乐观的情况下,小语种专业学生就业却是一枝独秀,就业率近乎百分之百,因此吸引了很多同学和家长的关注,但就业率这个事,它只是纸面上的数据,考研、留学等情况都算在就业率里了,所以大家见仁见智。
小语种人才就业“吃香”离不开国际活动和对外贸易。以北京、上海为例,经常会举办重大的外事活动、体育赛事,如举办世界大学生运动会、冬奥会、进博会等。每当此时,高校的语言专业学生会被大批量输送到活动一线充当志愿者并被分配给来华的外国官员、重要人士当翻译,经受外事纪律、语言翻译能力等方面的锻炼。但在真正毕业之后,专业从事口译/笔译的同学却并不多。
目前国内对于小语种的需求并不匀称,原因主要在于各地需要何种小语种取决于当地的经济发展,也取决于当地的文化氛围,特别是取决于当地引资的对象国,因此各小语种的需求量会随着各地合作对象的不同而有所区别。譬如,东北地区对俄语的需求量很大;广东、广西等南方省区,由于地域因素边境贸易发达,对越南语、泰国语人才需求量很大;西北地区如宁夏、甘肃、陕西等,对阿拉伯语人才的需求较大;北京由于有新华社、外交部、国际广播电台、商务部等政府机构,需要的语种很全,基本上吸纳各个语种;沿海大城市对于西欧语种的需求较大。
小语种在就业形势上的相近源于在就业渠道上的类似,虽然在语言结构上有诸多的不同,但在就业渠道上有很强的共性,主要集中在以下几个领域:
1. 政府机关公务员。在政府机关尤其是中央机关,每年都要大量选拨小语种人才进入公务员队伍。我国驻世界各地的大使馆、驻外机构、国际性组织、外交部、商务部、中联部以及各地外办、公安、海关、边检对小语种人才都有需求,而且相较于国考赛道,小语种招录倒显得录取率很高了。
2. 外企和中外合资企业。随着中国加入世界贸易组织和对外开放程度的不断加深,越来越多的外国公司将业务扩展至中国,世界500强企业几乎全部在中国设有分支机构。具有国人身份而又掌握外语的人才往往能够帮助外国公司本地化实现盈利增长,自然受到跨国公司的青睐。同时,像四大这种事务所每年也会吸纳许多的小语种人才。
3. 国内的各种外贸进出口公司。我国每年进出口经济体量都在增长,贸易涉及世界各地。东盟、东北亚、欧盟、独联体等经济体与我国的贸易往来日渐频繁,跨境电商更是异军突起,即使在如今的世纪疫情冲击之下,体量庞大的跨境电商依然坚挺,版图扩张,免不了要招兵买马。2021年1月15日,中国首个“小语种+”跨境电商产教融合联盟的启动仪式在宁波外事学校举行,为宁波的跨境电商供给小语种人才。
4. 大型央企、民企的驻外机构。中国企业近些年在国际市场上大幅进军,以中石油、中石化、中建、中铁等为代表的央企大鳄已将业务扩展到世界的各个角落,华为、中兴、海康威视等企业也在不断拓展海外版图,因此,对小语种人才的需求还是很迫切的,而且外派的待遇也是非常不错的。
5. 互联网公司的海外运营。国内许多互联网巨头都在布局海外市场,每年在校招期间都可以看到字节跳动、Bilibili、网易雷火、腾讯、阿里等企业有海外运营或者海外客户经理这样的岗位,互联网公司的共性呢,就是虽然卷但给的多,也是许多同学比较青睐的选择。
6. 教师。现在很多高等院校都开设了小语种专业,但是教师资源比较匮乏。小语种专业的学生毕业后,可以到这样的学校去当老师,真正找到专业对口的工作,比如笔者有同学在上外读的土耳其语专业去了广外当讲师。但据她讲述,目前这类就业方向会在几年内趋于饱和,本科生去高校任职的机会在不断减少,尤其是对于人才资源比较丰富的小语种(如韩语、日语、法语等)而言,毕业生也可以选择去特色外国语中小学做教师或者考取对外汉语教师资格证书,从事对外汉语教学工作。
7. 一些国内企业的外语储备人才。比如工行、中行近些年推出的“小语种计划”,也是很好的发展途径,入职后会有全面完善的培训体系,经历培训-岗位实习-海外分行外派-回归所属行相关部门这样的成长周期,成长空间较大。
8. 新闻传媒领域的记者、编辑。如新华社、人民网、CGTN、澎湃新闻等都会有小语种相关岗位招聘需求。
以上是小语种就业途径的共性,但不同语种之间就业形势也会因学习这种语言的人数、语言对象国数量及经济情况和中国与这些国家的关系(包括地缘上的和政治经济方面的)而产生差异。
虽然小语种学生的就业方向比较灵活,但这里也有一些现实性问题需要强调:
小语种毕业生由于专业等原因,绝大多数的人“就大不就小,就高不就低”,流向大中城市、沿海发达城市的比其他类别的毕业生更突出,那么就会出现人才聚集的情况,加剧了就业竞争。
就考公而言,在数量庞大的公务员岗位当中,语言专业岗位占比极低,而且上述专招赛道对具体语种的需求每年都是在变化的,如果你所学的语种当年并不在招录范畴中,那么走国考赛道或许会比其他专业更难。根据国家公务员网公示的岗位信息,在2021年公务员报考岗位中,语言专业可报考岗位总体招考专业集中在英语专业,小语种对口的公务员岗位比较少,主要集中在几大部委和海关,地方的几乎没有。比如俄语,公务员每年公开招聘中几大部委和俄语相关的岗位招聘数量超不过个位数,2021年全国所有和俄语相关的海关岗位加一起不到10个。
对于大型国企、民企等,虽然每年招录的语种专业有所不同,但可以看出一些共性。他们会根据自己的国际市场布局去储备人才,以华为、荣耀、海康威视等为例,近些年需求较多的是阿拉伯语、印尼语、葡萄牙语等专业。所以同学们在选择专业时尽量避免那些人才已趋于饱和甚至过剩的专业,比如日语、韩语,也要避免另一个极端就是知道的人太少,贸易体量过小的专业,虽然不至于说找不到工作,但可能你未来的工作与你四年的专业学习没啥关系,比如今年上外斯瓦西里语同学的就业就与专业的相关性不大。
关于外派,确实是薪资可观待遇优厚,但有一些驻扎对象国可能会存在性别歧视的现象,比如中欧的部分地区,还有一些外派到非洲可能条件比较艰苦,所以有些公司会考虑到这些因素在招聘时更青睐男生,那么女生在选择专业时就需要多做考虑了,比如阿拉伯语,笔者认识的许多阿语的同学,不管是进外交部的也好,还是进入企业外派也好,基本都是男生,虽然很多女生的成绩也非常优秀,但总归会受到一些限制。
还有就是互联网大厂运营岗,是近些年新火起来的一个就业方向,许多同学在校期间就会争取到大厂实习,毕业选择走这条路。但小语种专业同学进入到这类企业,大多数都是职能岗,可替代性较强,在如今互联网裁员浪潮之下,工作稳定性不能得到保证。
当然,在全民考研的浪潮之下,小语种学生也不能免俗,有近半数的同学会选择继续深造。绩点排名靠前可以争取学校的保研名额,不能直接保研也可以选择考研或者出国留学。选择读研的同学有一部分会继续本学科学习,比如本科德语研究生继续读德语语言文学,本科朝鲜语研究生继续读亚非语言文学等;也有相当一部分同学会选择跨专业学习,这种跨专业的搭配和前面提到的“小语种+”复合型培养有点相似,是更加深化的复合专业形式,笔者许多小语种的同学研究生阶段有读高翻的,有读法硕的,有读国际政治的,笔者自身也跨到了新传专业。
不过如今考研越来越卷了,因此会有一部分同学选择到语言对象国去读研,这也不失为一个好的选择。相对于英语国家来说,小语种专业到语言对象国留学的费用并不算特别高,不会造成太重的经济负担。
人才市场的饱和,再加上近两年疫情冲击,外事活动、国际会议、入境旅游等等都受到不同程度的限制,译员和小语种导游们工作量骤减,何时能恢复尚未有定期。毕业生苦于找工作,考研考公又都异常激烈残酷,一些不吐不快的苦闷积聚到一起就汇聚成了“劝退”的声音。但希望读到这里的你能有自己清晰的判断,小语种本身不是坑,但若不加思考没有规划闭着眼睛往里跳,那就是深坑。
笔者在刚上大一的时候,系主任问过我们一个问题,你们第一志愿就是朝鲜语吗?班上将近一半的同学回答都是否定的,包括笔者本人,原本大家选的可能是别的语言专业,但因为一些专业比较抢手分数线涨上去了,就被调剂到了现在的专业。这种情况会很常见,所以不论当初因为什么原因学习语言,面对既有现实,我们应该思考的是如何扭转劣势,如何更好地发挥个人优势。
通过笔者自身的经验以及与一些访谈对象的谈话,在这里给大家提供一些建议:
学好语言:本专业语种和英语都不可落下,专业语种是特色,是优势,英语是硬通货,是实力。尤其是当你处于一所专业外语院校时,一定要用好学校资源,专业语种的考级要过,英语专四专八能考尽量考过,不能考那么至少大学英语六级一定要拿下。
自我审视:找到自己感兴趣的赛道,并去强化相关方面的事情(升学、实习、工作),如果能和语言背景结合则更好。笔者在大学期间有一个很尊敬的学长,就属于目标明确的类型,专业学的非常好,后续走的交换、国际组织实习、国际组织留用的道路。笔者的大学室友也同样如此,本科辅修了上财的会计,研究生考入上财深造,现如今在一家业内知名的证券公司任职。所以说,不管你喜欢你的专业想走专业方向,还是不喜欢想换条赛道,都是可以的,前提就是对自身有准确定位,尽早作出规划。
匹配能力:如果是以就业为目标,就去搜集相关岗位信息、招聘需求,对着招聘需求去锻炼个人能力,同时也要将自我条件与市场需求进行匹配。
理智取舍:如果实在不喜欢,真的学不下去,那就及时掉头,及时止损。笔者的同学中,有到了大三实在学不下去回去搞乐队的,有本科摸鱼成绩中等研究生转行金融发了一作SSCI的,也有学了四年阿拉伯语在工作后结合市场重新自我定位自学葡萄牙语并远赴他乡留学的,所以说,成功并没有唯一定义。
天坑还是填坑,说到底还是能不能找到出路。无论什么专业,都会遇到种种迷茫和选择,祝愿大家找到适合自己的路。
版权声明:我们致力于保护作者版权,注重分享,被刊用文章【传播学专业就业方向(这个受国际局势影响最大的专业)】因无法核实真实出处,未能及时与作者取得联系,或有版权异议的,请联系管理员,我们会立即处理! 部分文章是来自自研大数据AI进行生成,内容摘自(百度百科,百度知道,头条百科,中国民法典,刑法,牛津词典,新华词典,汉语词典,国家院校,科普平台)等数据,内容仅供学习参考,不准确地方联系删除处理!;
工作时间:8:00-18:00
客服电话
电子邮件
beimuxi@protonmail.com
扫码二维码
获取最新动态
