申请上海落户需要准备的材料多,如果人才服务中心发现材料缺失;要么会驳回落户申请,要么会要求申请人尽快补齐材料。不管是哪种都会耽误上海居转户的办理!今天总结上海居转户申请需要准备的材料汇总;往下看看吧!
1、持有上海居住证累计满7年;
2、缴纳上海城镇社会保险累计满7年;
3、持证期间依法在本市缴纳所得税;
4、在上海市被聘任为中级及以上专业技术职务或者具有技师(国家二级及以上职业资格证书)以上职业资格,且专业及工种对应;
5、无违反国家政策、无不良记录。
点击查询你的条件能否落户上海(落户自测工具):2022上海积分落户计算器_条件自测_落户上海自测 - 积分落户服务站
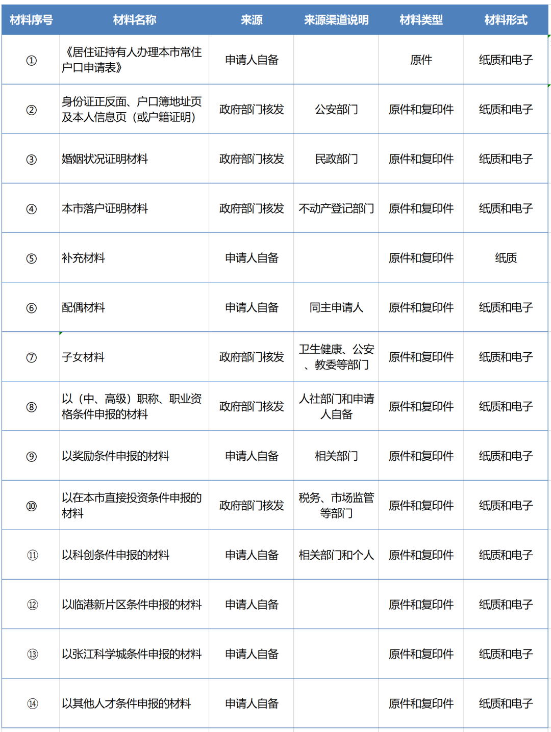
1、《居住证持有人办理本市常住户口申请表》原件
这张表格可以在网上申报然后线上打印,拿到打印件后需要本人签字,并且单位加盖公章
2、身份证正反面、户口簿地址页及本人信息页(或户籍证明)
为确保户口迁出、迁进地址的正确性,建议户口簿更新为近两年内签发的,或申请人提供无户籍地址变更的承诺书
3、上海市居住证原件及复印件
和身份证一样,要保证居住证在有效期之内,如果在审核过程中上海居住证即将到期,一定要及时的续签
4、劳动(聘用)合同
派遣用工另需提供派遣单位资质证明材料、单位《派遣协议》、《岗位协议书》【无需上传,现场提交】
5、居住证期间,累计满7年的社保材料证明原件和复印件
请在上海社会保险网上注册开通后打印社保单,加盖单位公章。
6、2006年至申请前所有的税单原件
税单可在上海税务网上注册后按年度(如2012年1月-12月、2013年1月-12月)和全市范围内打印,一年一张,并将个人登录名和密码写在最后一张税单右上角,便于查看申请人在提交材料后至审批这段时间内是否继续缴纳。个税需要和社保基数合理匹配。
如果个税的缴纳出现异常的,需要提供说明的材料。
(提供原件、复印件)
未婚:无需提供材料
已婚:结婚证书
离异:离婚证、离婚协议或者是法院的调解书
再婚:结婚证、离婚证、离婚协议或者是法院的调解书
丧偶:提供配偶的死亡证明
1、自有产权房:申请人或配偶在沪不动产权证地址信息页(或租用居住公房凭证地址信息页)。2、直系亲属产权房:直系亲属在沪不动产权证地址信息页(或租用居住公房凭证地址信息页)、直系亲属的同意落户证明【需注明与申请落户人的关系】。3、单位集体户:单位集体户口簿地址信息页(或户籍证明)。4、如均无上述落户情况的,可按公安相关规定先申请挂靠社区公共户。
1、具有人事档案管理资质权的单位需提供人事档案核实情况表及相关复印材料等。
2、企业非法人单位(即分公司)的,提供用人单位上年度在沪缴纳增值税等税单(无需系统上传,现场提交)。
3、申办单位认为需要补充说明的其他材料。
配偶不随迁:提供配偶身份证正反面或户口簿地址页。
配偶随迁:提供配偶身份证正反面或户口簿地址页;配偶工作单位有人事档案管理资质的提供人事档案核实情况表及相关复印材料;配偶承诺与授权(与落户申请人共同签署)。
子女不随迁:提供子女身份证正反面或户口簿地址页。
子女随迁:提供子女身份证正反面或户口簿地址页;子女《出生医学证明》;满16周岁及以上在全日制普通高中就读的提供学籍证明、在读证明。
(1)中级及以上的职称证书原件及复印件
(2)工作单位出具的岗位聘书原件及复印件
(3)工作岗位的说明书
①通过评审、考试取得的中级及以上专业技术职务任职资格证书、评审表(或考试合格人员登记表)及聘任证书;(中央各部(副部)授权下属企业设立的评审机构须提供国家人保部或部(副部)级单位授权成立该评审机构的批复或备案材料)
②经批准,通过以聘代评的方式取得中级及以上专业技术职务任职资格证书的,提供单位的聘书;
③本市颁发的国家二级及以上职业资格证书,或者由外省市核发且通过本市考核复评的国家二级及以上职业资格证书、单位聘书的原件和复印件;
④经认可由相关部门颁发的职业资格证书、单位聘书的原件和复印件。
以临港新片区、张江科学城条件申报的材料(提供原件、复印件)
自由贸易区临港新片区持有《上海市居住证》人员申办本市常住户口推荐函。
张江科学城持有《上海市居住证》人员申办本市常住户口推荐表。
版权声明:我们致力于保护作者版权,注重分享,被刊用文章【户口证明需要什么材料(最新干货)】因无法核实真实出处,未能及时与作者取得联系,或有版权异议的,请联系管理员,我们会立即处理! 部分文章是来自自研大数据AI进行生成,内容摘自(百度百科,百度知道,头条百科,中国民法典,刑法,牛津词典,新华词典,汉语词典,国家院校,科普平台)等数据,内容仅供学习参考,不准确地方联系删除处理!;
工作时间:8:00-18:00
客服电话
电子邮件
beimuxi@protonmail.com
扫码二维码
获取最新动态
