最近,猫粮的安全问题在各大平台都上了热搜。
图自:猫研所
很多铲屎官在话题中反馈,自己家的猫咪吃了某品牌猫粮之后,出现呕吐、腹泻、吐血,甚至有猫咪因此去世。
小猫咪每天要吃的粮出了问题,让铲屎官们都心有余悸:我们应该如何避免类似的问题,买到安全的粮呢?
有标认标,店铺购买(无论线上线下、店铺看上去多么权威)都要先确认是否有品牌授权。
查询代理和授权情况对于进口粮,我们在买粮时候,不论是朋友圈代购、闲鱼上的“野生卖家”,还是各大平台的自营店铺、“旗舰店”,都不要盲目相信。
购买前一定要先核实对方是否为品牌的代理商或授权店铺。
图自:淘宝/京东/猫研所
以购买渴望为例(仅做例子,真的不是恰饭),在买粮之前,先去渴望官网查询:
直达链接:https://intl.orijen.ca/zh-hant/where-to-buy/
可以看到渴望在国内的代理商是天俊和台湾渴望,通常情况下只有总代理或者大代理开的店才能被叫做“XX品牌旗舰店”。
图自:orijen.ca
也就是说,如果你点开一个“XX品牌旗舰店”的公司信息,却不是品牌官方指定的代理,那么这个旗舰店也不值得你信任。
下拉的白底名单是有授权的店铺和链接,各大平台的自营店铺也能在里面查询到:
直达链接:http://www.orijen.org.cn/Authorized.asp
如果不在这个名单里,那么即使是看上去再靠谱的店铺、价格再便宜、再熟悉的人推给你的团购,也不建议购买。
其他进口粮也是同理。
单标、双标、三标,都是什么标?我们买猫粮的时候常说的标是怎么回事呢?
在中国国内正规渠道购买的进口粮都应该至少有两个标:原厂防伪标+代理标。
还是以我们上面说的渴望为例,在大陆地区正规渠道购买的渴望应该有:
1、防伪标:下图红框方形标:
图自:orijen
2、代理标:国内总代理天俊 或 台湾渴望 的标:
官网旧标 图自:orijen
有时候猫粮除了这两个标之外还会有第三个标:
3、渠道标
比如,我们从天猫上购买的猫粮还可能会有“中检溯源”标(方形圆形都有,蓝色标),这是与天猫合作的第三方,提供另一道检验关卡。
除了代理标外,防伪标和中检溯源的标都可以扫描二维码查验猫粮的真伪。
建议大家买回来猫粮之后,都要马上刮开防伪码,扫描验证一下。
不仅是为了让自己安心,也是为了让防伪码发挥最大的作用,杜绝不法商家一码多用,真假混卖。
其他品牌进口粮,我该信哪个标?购买进口粮前,应该先去品牌官网查询。
通常较大的品牌官网都会贴出防伪标的样子,一般在“常见问题”或“如何购买”栏里,应该优先对照官网的标购买。
面对比较陌生和小众的品牌,建议先去农业部的进口饲料登记信息库中查询一下,在国内是不是有销售许可证,有没有代理备案:
图自:农业农村部-随机猫粮举例
直达链接:http://202.127.42.188:8080/feedlicense/publicsearch/dataQuery.jsp
确认无误后,再去官网指定的代理或授权店购买。
总结一下
1.优先在代理和授权店铺购买,不论多大的平台自营店铺都要记得买前先查一下。
2.有标信标,粮至少要有渠道标和代理标,要养成及时验标的好习惯。
3.担心粮出问题的话,最好记得开发票,如果出了什么事,维权比较方便。
安全买粮第二步:了解争议性品牌
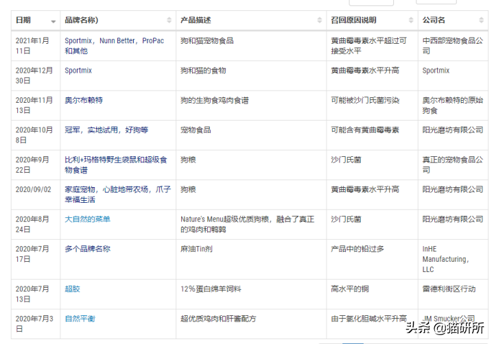
买粮之前,你可能需要先来看看两份名单:
FDA召回名单
FDA机翻截图
直达链接:https://www.fda.gov/animal-veterinary/safety-health/recalls-withdrawals
FDA(Food and Drug Administration,美国食品药品监督管理局)的这份名单中,可以查看到进口宠物主粮和零食的召回历史和原因,建议大家可以时不时去看看。
农业部抽检结果公示
农业部抽检结果截图-后面有不合格的名单
直达链接:http://www.moa.gov.cn/govpublic
除了这两份名单之外,还需要铲屎官保持网上冲浪的习惯,多与其他铲屎官交流。
安全买粮第三步:了解猫粮常见问题
猫粮腐败和不当储存很多猫粮品牌会在猫粮袋子中充入一些安全的惰性气体,或将猫粮袋子抽真空,防止猫粮腐败。
所以运输破袋、涨袋的猫粮都最好不要买。
猫粮也需要避免炎热和潮湿环境,如果猫粮在潮湿的环境中长期储存过、或炎热的环境中暴晒过,都最好不要买了。
如果猫粮发生腐败,小猫咪敏锐的鼻子能闻得出来。可能会自己会拒绝吃粮、或者食欲下降。
卫生和食品安全但是面对黄曲霉素、沙门氏菌、李斯特菌、这类问题,小猫咪自己也没法发现。
我们无法对猫咪入口的每一口食物都进行检验,只能做好最坏的打算。
了解常见的中毒症状,出现问题第一时间就医:
图自:猫研所
以及,无论在什么时候,一旦发现猫咪的呕吐物中,有粉红色(血液),就要马上带小猫咪就医。千万不要抱着“再等等看”的心态。
食物中毒这类问题,发现得越早,尽快去附近的医院催吐,越容易救治。
责任编辑:LNS
本文为猫研所原创,谢绝任意转载
版权声明:我们致力于保护作者版权,注重分享,被刊用文章【猫粮代理(如何买到安全的猫粮)】因无法核实真实出处,未能及时与作者取得联系,或有版权异议的,请联系管理员,我们会立即处理! 部分文章是来自自研大数据AI进行生成,内容摘自(百度百科,百度知道,头条百科,中国民法典,刑法,牛津词典,新华词典,汉语词典,国家院校,科普平台)等数据,内容仅供学习参考,不准确地方联系删除处理!;
工作时间:8:00-18:00
客服电话
电子邮件
beimuxi@protonmail.com
扫码二维码
获取最新动态
