通过分析交通复杂十字路口信号灯的控制要求,结合S7-200的控制性能,在传统的交通灯控制基础上增加了左转控制功能,对系统进行了软、硬件设计,实现了复杂十字路口的东西南北方向的直行、左转及人行道信号灯的合理控制的功能,实验验证了方法的可靠性。
S7-200系列是SIEMENS公司推出的一种小型PLC。它以紧凑的结构、良好的扩展性、强大的指令功能、低廉的价格,已经成为当代各种小型控制工程的理想控制器。S7-200包含了一个单独的S7-200CPU和各种可选择的扩展模块,可以十分方便地组成不同规模的控制器。其控制规模可以从几点到几百点。
目前,PLC已广泛应用于工业控制中,但是在交通控制方面应用方面还不是很广泛。PLC应用于交通控制还有很大的潜能,PLC以其可方便操作、可方便编程调试等特点,使得其有逐步取代以往的单片机在交通灯中的地位的趋势。本文主要研究了基于西门子S7-200的复杂十字路口的交通信号灯控制系统。
一个复杂十字路口的交通灯控制系统主要包括东西南北方向上的车辆直行红黄绿灯的控制、车辆左转红绿灯的控制以及各方向上人行道的红黄绿灯的控制。
在现代化的大城市中, 十字交叉路口越来越多,在每个交叉路口都需要使用红绿灯进行交通指挥和管理,红、黄、绿灯的转换要有一个准确的时间间隔和转换顺序,这就需要有一个安全、自动的、协调的系统对红、黄、绿灯的转换进行管理。
3.1 十字路口交通灯布置
在十字路口东西南北装上主干道“红黄绿”灯,人行道“红黄绿”灯,其中主干道的“红黄绿”灯又分为左转“红绿”灯和直行“红黄绿”灯。具体分布如图1,总共交通灯个数为32个,其中红灯12个、绿灯12个、黄灯8个。
图1 交通灯分布图
3.2 I/O分布及硬件接线图
输入只需一个启动按钮即可。输出有东西方向主干道直行“红黄绿”灯、东西方向人行道“红黄绿”灯、南北方向直行“红黄绿”灯、南北方向人行道“红黄绿”灯、东西方向左转“红绿”灯、南北方向左转“红绿”灯,共32个灯。
但东西方向主干道直行“红黄绿”灯和南北方向人行道“红黄绿”灯运行状况相同,南北方向直行“红黄绿”灯和东西方向人行道“红黄绿”灯运行状况相同,所以它们可以共用输出口,最后核计只需用10个PLC输出点就能达到目的。具体I/O分配表如表1。
表1 数字量输入输出地址分配表
控制系统主要任务是负责控制东西南北各红绿灯的状态和转换顺序, 关键是各个状态之间的转换和进行适当的时间延时。由于人行道上的交通灯控制与其同方向上的主干道直行灯控制一样,故下面有些讨论暂没有提及人行道上的交通灯控制。
3.3 按控制要求给出控制时序
按车辆通行顺序开启系统控制,先让南北方向左转车辆运行,接着让南北方向主干道直行车辆运行,再接着让东西方向左转车辆运行,然后东西方向主干道直行车辆运行,如此循环。正常情况下,在变换车道运行时,绿灯熄灭前会闪几秒钟,左转绿灯灭设定闪2S,直行绿灯灭设定闪3S。正常情况下循环运行时序图如下:
图2 交通灯控制时序图
3.4 软件设计
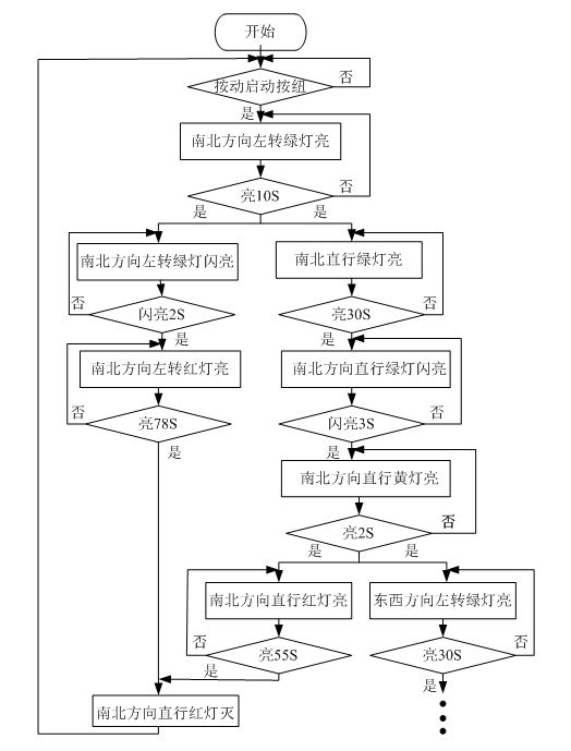
南北方向的交通灯控制程序流程图如图3:
图3 控制程序流程图
流程图省略的部分是东西方向的交通灯控制流程,其控制方案与南北方向的控制相似。
根据系统对I/O口量的需求,选用S7-224来完成调试,硬件接线如图4 。
图4 系统硬件接线图
图中的标注以“南主左绿”为例说明,其中的“南”表示南边方向,“主”表示主干道,“左”表示左转,“绿”表示绿灯,其它的标注与此类似。
选一个循环周期(90S),以南北左转绿灯闪亮为开始,根据实验实际情况,记录其调试结果如表2,表中“1”表示其对应的I/O口在其对应的时间段输出为高电平,“0”则表示其对应的I/O口在其对应的时间段输出为低电平,“闪”表示闪亮。
表2 实验调试数据(一个循环周期)
从表中可以看出其工作顺序情况与事先设计的交通灯控制时序完全吻合,这证明了方法的有效性。分析上述表格数据,可以看出任何时刻都只有4个输出口处于工作状态。
分析同一时刻的4个输出口的情况可以看出,这四个输出口分别控制着交通的四个状态,即东西直行(东西人行道)、南北直行(南北人行道)、东西左转和南北左转,且在同一时刻,交通的四个状态中只有一个交通状态的绿灯在正常有效工作,而其它三个交通状态的红灯在正常有效工作(或者其绿灯处于闪亮阶段),这就保证了整个十字路口的井然有序工作。
本文详细介绍了单个复杂路口的PLC软硬件设计,随着现在城市交通的发展,越来越需要把多个路口看作一个整体来进行设计,根据各道路上的流量来控制各路口的红黄绿灯。但是单个路口的控制仍然是基础,只有在解决了单个路口的基础上才能更方便地解决多路口问题,所以说研究单个复杂十字路口交通灯的PLC控制问题仍然是具有一定的实际意义。
(摘编自《电气技术》,原文标题为“基于S7-200设计的复杂交通灯控制系统”,作者为张小青。)
版权声明:我们致力于保护作者版权,注重分享,被刊用文章【十字路口红绿灯(用PLC设计复杂十字路口的红绿灯控制系统)】因无法核实真实出处,未能及时与作者取得联系,或有版权异议的,请联系管理员,我们会立即处理! 部分文章是来自自研大数据AI进行生成,内容摘自(百度百科,百度知道,头条百科,中国民法典,刑法,牛津词典,新华词典,汉语词典,国家院校,科普平台)等数据,内容仅供学习参考,不准确地方联系删除处理!;
工作时间:8:00-18:00
客服电话
电子邮件
beimuxi@protonmail.com
扫码二维码
获取最新动态
