如何胜任建筑业会计拿高薪?73笔新收入准则真账业务处理,拿去用
今天在这里话不多说?本文接下来分享的是:新收入准则下建筑公司73笔真账业务处理,案例分析具体业务的会计分录怎么做?从原始凭证到会计科目都有详细的说明,感兴趣的可以看看。
案例:深圳市南坪海尚建筑工程有限公司
说明:该公司真账处理是自己可以在电脑上动手练习的,还有/视/频/解/析。需要动手练习的,可以看文末获取机会
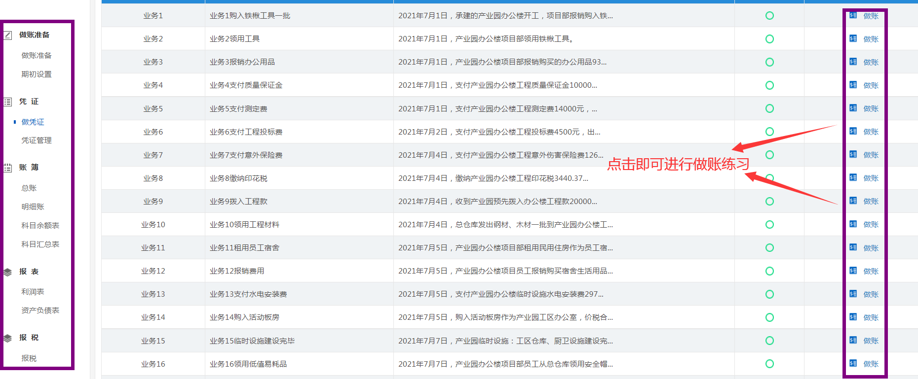
深圳市南坪海尚建筑工程有限公司真账业务处理练习界面
会计科目双击选择就可以了
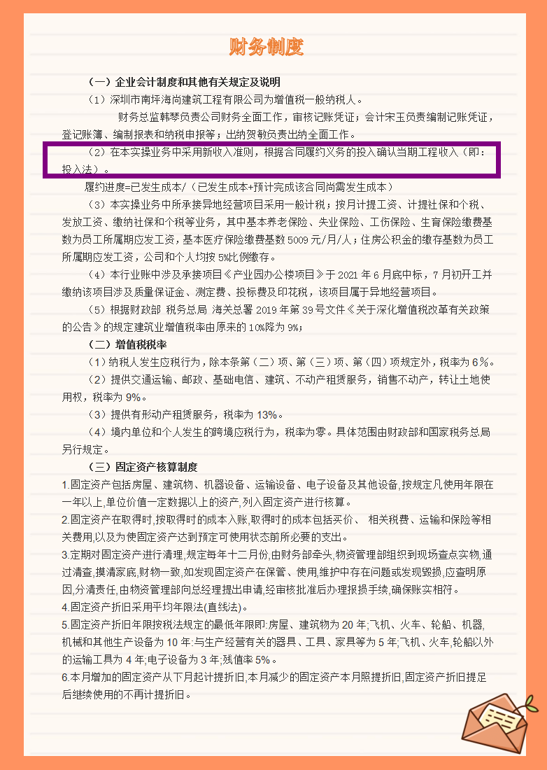
在做账前我们先来了解一下公司的基本情况,财务制度以及涉及的税费和税率
该建筑公司的基本情况介绍
该建筑公司涉及到的主要税种及对应税率
该建筑公司的采用的财务制度
73笔真账业务账务处理案例解析
业务1、缴纳印花税的账务处理
本业务比较简单,考察应交税费科目的。具体的分录也比较简单。借方记“应交税费-应交印花税”,贷方记“银行存款-某银行”。看一下用到的原始票据吧。
缴纳印花税的会计分录如下:
业务2、拨入工程款的账务处理
注意新收入准则下“合同负债”科目的核算方法。在此案例中有详细地说明。
业务3、领用工程材料的账务处理
领用工程材料,会计人员会在在建工程科目下核算,具体的借方是在建工程,贷方是原材料。详细的做账步骤如下:
业务4、租用员工宿舍的账务处理
本业务主要涉及到工程施工、应交税费、其他应收款等科目,需要大家注意的是增值税专用发票的抵扣问题。详细的账务处理如下:
业务5、报销费用的账务处理
报销费用用到的是库存现金,那么贷方就很明确了,记入库存现金。借方就记在工程施工科目下。
业务6、支付水电安装费的账务处理
该笔业务涉及的会计科目有在建工程、应交税费、银行存款。还是需要注意增值税专用发票的抵扣。应交税费-应交增值税-进项税额就登记在借方。
业务7、临时设施建设完毕的账务处理
该笔业务考察到的会计科目是临时设施和在建工程。临时设施一般表示在借方,在建工程登记在贷方。
……
业务35、该公司计提本月社会保险费及住房公积的账务处理
合同履约成本是新收入准则新增的科目,本业务就需要用到。详细内容见下图
业务36、该公司缴纳本月社会保险费及住房公积金的账务处理
……
建筑公司真账业务处理练习界面
这个是解析界面
……
版权声明:我们致力于保护作者版权,注重分享,被刊用文章【会计收入准则(建筑会计真的难)】因无法核实真实出处,未能及时与作者取得联系,或有版权异议的,请联系管理员,我们会立即处理! 部分文章是来自自研大数据AI进行生成,内容摘自(百度百科,百度知道,头条百科,中国民法典,刑法,牛津词典,新华词典,汉语词典,国家院校,科普平台)等数据,内容仅供学习参考,不准确地方联系删除处理!;
工作时间:8:00-18:00
客服电话
电子邮件
beimuxi@protonmail.com
扫码二维码
获取最新动态
