近期一些关键性行业已经开始复工,人们陆陆续续的回到了自己的工作岗位。但这对于疫情的防护工作来说是非常关键的时期。毕竟我们在家自行隔离了这么多天,病毒还瞅不到机会来侵扰我们。
人员流动起来之后,在疫情的防护和管理方面就需要更加严格。目前最大的难题就是如何识别人员的活动轨迹,放假期间如果处在安全区域内,可以最大程度的减少复工产生的传染。
一直以来三大运营商都被吐槽如何套路消费者,网上对三大运营商的批评之声也是不绝于耳,又是携号转网又是换卡,最终发现一家还比一家坑。这一次三大运营商倒是做了一件大快人心的事,及时上线了个人轨迹查询。
具体查询方法如下:
一、电信手机用户证明方法
编辑短信CXMYD#身份证号码后四位到10001,授权回复Y后,实现“漫游地查询",可查询手机号近15日内的途径地信息。
二、联通手机用户证明方法
手机发送:“CXMYD#身份证后四位”至10010,查询近30天的全国漫游地信息,便于返工辅助排查。
三、移动用户证明方法
填写CXMYD,发送到10086,再依据回复短信输入身份证后四位,可查询过去一个月内去过的省和直辖市(无地市)。
上图是我近期的活动轨迹,咱就是这么听话,哪儿都不去活动范围不足100米。
这个神奇的操作是如何实现的呢?闲来无事今天我们就来聊一聊,运营商是如何知道我们在的呢?
如果最近10年内你坐过火车,那么相信有一件事肯定记忆犹新。帅气的卖货小哥还没来及喊:瓜子,香烟,火腿肠,手机上就已收到短信欢迎来到XXX地。或者你到某个景区也会收到类似的短信。
运营商之所以知道我们在哪使用的是基站定位原理,来复习一下我们上小学学过的一个知识点,两条线相交产生点。实际上运营商使用两个基站,就可以确定我们具体的位置。
我们的手机并不是只连接在一个基站上,随时保持在搜索新基站的状态下。这也是目前大家都熟知的一种定位方式。据悉警察叔叔想要定位某个人的话,采用的也是这种方式。
不过,这种定位是实时反馈,这就意味着我们离开某个基站之后,这个信息就不会保存下来,因此本次实现定位并不是采用这种方式。
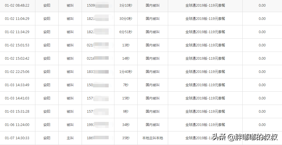
在手机上有一个功能叫做详单查询,大家可以通过这个详单查询到本月的通话短信和上网记录。全称叫做呼叫详细记录,简称CDR。
我们以移动为例来了解一下这个详单究竟有多详细:
在通话这一列,我们可以看到每一个通话记录以及通话时间,通话地点。
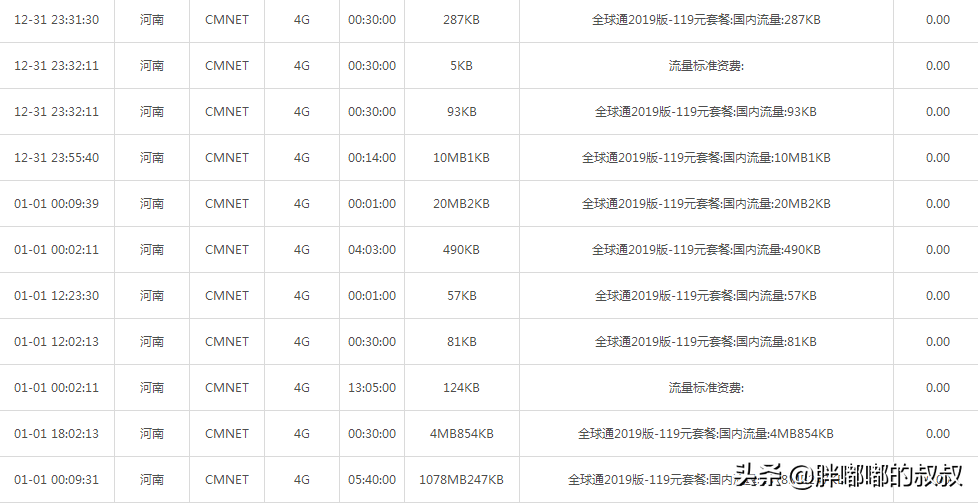
也许很多人说我现在已经不打电话了,那你总要上网吧?
移动公司详细记录了你每一兆流量使用的详情,尽管在我们这里只能看到通讯地点是河南,但在移动后台是可以查询到具体的基站信息。再回顾一下刚才我们说的知识点,一个基站就可以定位出你大概的位置,两个基站就可以知道你的具体位置。
运营商如果把这份数据详细的整理出来,那就意味着我们无所遁形。包括最近各大运营商在手机端推出的肺炎患者行动轨迹应该也是基于这个原理,通过这个数据我们就知道该患者去了哪里。
目前这还只是这些数据被开发的初级阶段,相信经过一段时间之后会有更实用的应用,比如说人口分布的密集程度以及流动趋势等等,能够帮助我们更好的来防护疫情。
当然这一切都应该在法律的允许范围之内,如果要是被别有用心的人利用造成的灾难也将是无可附加!
科技的魅力还真是迷人,原来我们不仅可以通过网络来点外卖来购物,而这些数据背后还能为我们保驾护航。
科技的发展,是我在这次疫情中看到的一束光!
版权声明:我们致力于保护作者版权,注重分享,被刊用文章【电信轨迹证明(三大运营商终于良心一回)】因无法核实真实出处,未能及时与作者取得联系,或有版权异议的,请联系管理员,我们会立即处理! 部分文章是来自自研大数据AI进行生成,内容摘自(百度百科,百度知道,头条百科,中国民法典,刑法,牛津词典,新华词典,汉语词典,国家院校,科普平台)等数据,内容仅供学习参考,不准确地方联系删除处理!;
工作时间:8:00-18:00
客服电话
电子邮件
beimuxi@protonmail.com
扫码二维码
获取最新动态
