2022年2月23日 农历正月二十三 星期三
郑州:多云间晴天,气温-3℃-10℃
今日机动车限行尾数3和8
头条
2月21日,河南省个体工商户智能审批上线启动仪式在郑州市金水区政务服务中心办事大厅举行。自此,我省个体工商户登记进入了全程“零见面、零跑腿、零干预、零收费”的新阶段。
个体工商户智能审批采用“网上自主申报、系统智能审批、实时自动发照、全流程无人工干预”的登记审批新模式,申请人无需到窗口提交纸质材料、无需使用载体,只需在手机上操作就能随时随地、轻轻松松办结,整个过程不到10分钟,实现了全程“零见面、零跑腿、零干预、零收费”。个体工商户智能审批全面实行标准化、规范化,名称、经营范围由申请人自主勾选,住所信息与自然资源部门系统自动校验,电子营业执照实时自动发放,打造了新型、现代、便捷的登记模式。
(素材来源:郑州市场监管)
河南
1、据河南省市场监管局统计,截至2022年1月底,全省实有个体工商户587.4万户,占全部市场主体的68.8%,连续五年位居全国第四位,同比增长7.2%,市场活跃度稳定在70%左右,累计吸纳就业超过1600万人。
3、日前,郑州高新区对2021年第一批3008家优秀企业共计兑现各项政策奖补资金2.8亿元。 其中,对千味央厨等193家优秀金融机构、企业、金融机构高管予以政策兑现4821.59万元。
4、洛阳综合保税区有望6月封关运营,消费者在家门口就能购买乌克兰牛肉、日韩化妆品、进口红酒等商品。
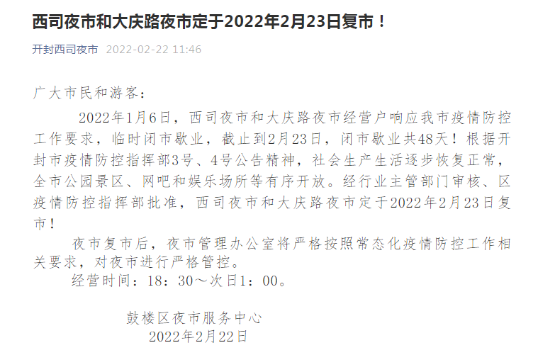
5、据悉,因响应疫情防控工作要求临时闭市歇业的开封市西司夜市和大庆路夜市定于2月23日(今日)复市,经营时间:18:30~次日1:00。、
6、鲁班张餐饮推出腊肉炒油菜苔、香椿炒土鸡蛋、油焖春笋等春季菜品。
7、阿五黄河大鲤鱼推出山楂烧牛肉、酱酒卤甲鱼、固始旱鹅块等新菜品。
8、银梅推出一款满足许昌老百姓需求的橙子味儿汽水“银梅轻甜”,并于2月22日上市。
国内
1、财政部等8部门发布公告,自3月1日起,优化调整跨境电子商务零售进口商品清单,增加番茄汁等29项商品。
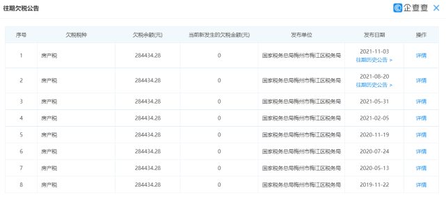
2、据企查查APP显示,味千拉面饮食服务(深圳)有限公司新增一则欠税公告。公告显示,味千拉面欠税金额已超28万元。
3、央行发布关于加强支付受理终端及相关业务管理通知,明确2022年3月1日开始执行银行卡收单和条码支付终端的管理要求,其中包括“个人收款条码不得用于经营性收款”。
4、近日,江苏省消保委发布《预制菜消费调查报告》。调查报告显示,超六成消费者表示菜品口味不佳,预制菜标示信息不明确,物流配送以及提货问题也较多。
5、近日,北京沃尔玛百货有限公司因销售超过保质期的“支纯牌水果胡萝卜”,被北京市石景山区市场监督管理局罚款1万元。
6、墨茉点心局日前被爆出在春节前进行了一轮组织架构调整,裁撤了比例高达40%的品牌员工,官方回应:正常调整,还在大量招聘。
7、2月22日,@白家阿宽官方微博 发布“消费者从红油面皮中疑似吃出老鼠肉”一事处理结果。声明称,经鉴定确认面饼内没有异物,更没有老鼠。因产品拆封太久且丢弃外面两层包装,无法查证面饼发霉变质原因。
8、近日,温州一家日料店涉嫌在食品中添加金箔被当地执法机关立案调查。
9、2022年2月22日星期二,上海。2与爱谐音,被网友们称为是最有爱的一天。市民在逛大润发时发现处处都是关于爱情的烟火文学 :爱情要有“葱”动,才会有“姜”来。青椒配土豆,彼此成就才是最美的爱情。你身边有哪些爱情烟火文学呢?
10、近日,微信号“厦门邮政”发布声明称,“邮局咖啡”(厦门国贸大厦店)系中国邮政集团有限公司厦门市分公司自营网点,目前在试运营阶段,不存在任何“加盟中心”。
11、2月21日,怡宝通过微信公众号发布2022全新广告片。
生鲜奥莱开业,商品数量近2000款,店内生鲜商品占比较高,以蔬菜水果、鲜奶冷藏肉为主,商品折扣从3折起到8折不等。
13、根据星巴克1月公布的财报,截至2022年1月,星巴克中国的门店总数约5557家,而同期瑞幸咖啡门店达到5671家,从数量上赶超星巴克。
14、2月21日晚上10点,成都天府新区一餐饮企业为一线防疫工作人员送去了150份汤煲。
15、近日,元气森林旗下品牌“外星人”上新大魔王牛磺酸能量饮料,牛磺酸添加量达110mg/罐。
16、中式茶品牌「一念草木中」已于近期完成Pre-A轮融资,本轮由IDG资本独家投资。此前一念草木中还获得了由泽盛资本独家投资的天使轮融资。据记者了解,两轮融资金额合计为数千万元人民币。
心语
未来餐饮模型一定是一个老板代表一个IP,代表一个品牌,打造自己的私域王国。都说物以希为贵,但其实更应该是物以知为贵,所有都是你要知道,而不是你很稀有才找到你。
——围炉三国锅盔联合创始人盛君
版权声明:我们致力于保护作者版权,注重分享,被刊用文章【怡宝水县级代理加盟(登记只需10分钟)】因无法核实真实出处,未能及时与作者取得联系,或有版权异议的,请联系管理员,我们会立即处理! 部分文章是来自自研大数据AI进行生成,内容摘自(百度百科,百度知道,头条百科,中国民法典,刑法,牛津词典,新华词典,汉语词典,国家院校,科普平台)等数据,内容仅供学习参考,不准确地方联系删除处理!;
工作时间:8:00-18:00
客服电话
电子邮件
beimuxi@protonmail.com
扫码二维码
获取最新动态
