6月18日,南京多所高职院校的9名大学生突然被河南警方跨省带走,刑事拘留。记者调查发现,2019年5月至8月的短短3个月时间内,涉事学生在有人组织下,前往南京江北新区行政审批局注册数百家公司,随后营业执照、公章等公司要件被组织者收走。这些注册的公司被人从事诈骗等违法犯罪行为,涉及金额巨大。(学生均为化名)
2020年6月18号上午,南京交通技师学院16级学生小强家里突然来了几名民警,要求小强立即前往南京江北新区山畔派出所录口供。到19号傍晚,小强仍没有回家。

涉事学生当天收到的短信
“18号下午小孩跟我说当天回不来了,警方要连夜录口供,录完就回来。”小强的家长张女士说,“第二天晚上家里没人,我们就报了警,辖区民警就告诉我们,孩子被河南警方带走了。”
6月21号,河南省新乡市原阳县警方(以下简称河南警方)向小强父母送达了刑事拘留通知书。
除了小强,当天,南京交通技师学院还有多名在校生被河南警方带走。“我们学校有4个孩子,其他情况警方都没跟我们说。我们就通知家长处理这件事情。”小强所在班级班主任告诉记者。
6月30号,记者联系河南警方了解情况。对方表示,案件正在侦办,不能透露相关信息。

河南警方送达家长的拘留通知书
实际上,今年4月底,南京交通技师学院学生金某已被河南警方带走调查。4月30号,学校老师告知部分学生家长,2019年暑期,金某找到多名学生,以1000元至1500元的“报酬”,带人注册公司,注册后就收走公司的营业执照和公章。对此,南京交通技师学院学工处一王姓教师向记者强调,此事与校方无关:“小孩的违法违纪行为是他的个人行为,跟我们学校没关系。您宣传报道时,我们学校的名字是不允许提的。”

南京交通技师学院
记者走访多位学生家长了解到,被刑事拘留的9名学生分别来自南京交通技师学院、南京技师学院、江苏航运职业技术学院、江苏省南京工程高等职业学校等高职院校。他们大多曾和金某一起,去年暑期前往南京江北新区行政审批局办理工商登记注册公司。

江北新区政务服务中心
学生小刚此次没有接到警方传唤,留在南京。他告诉记者,有社会势力渗透进校园,在学校发展“下线”,而金某就是校园内的“领头人”之一。
“金某是介绍人,介绍我们这群人去的。每人要开6个公司,然后有的人给1000元,有的人给1500元,通过微信转账。然后金某又介绍他身边的人办公司,然后他身边认识的人又介绍其他人。”

交通技师学院学生小刚
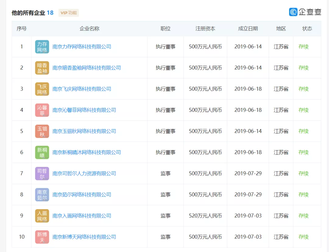
记者查询工商登记手续时发现,短短3个月内,同一批学生注册公司数量近300家,登记时间集中在2019年6到8月,部分学生之间互为股东、法人,企业注册地址也高度一致,公司类型集中在网络科技、物流、人力资源等领域。

“领头人”金某和学生开设公司关系盘根错节 高度复杂
有学生家长听说,这些注册的公司可能存在洗钱或诈骗等违法行为。
南京江北新区行政审批局相关人员告诉记者,去年9月,他们已对情况有所察觉,初步排查出疑似虚假注册企业近300家。其中一名学生就注册了32家企业。但依照相关行政法规,在手续齐全的前提下,他们又必须给这些学生办理企业注册登记。为此,审批局向新区部分单位发函警示。

警示函部分内容
“实际上我看几个小孩子我都面熟,都到我们大厅跟我吵过架的。办的时候我就问他们,究竟是不是本人的意愿?你们知不知道你们办公司是需要承担责任的?”
行政审批局经济事务审批办工作人员祁爱民表示。“我们觉得应该警惕这个问题,所以写了情况汇报。这个前提是办了这么多虚假登记啊,这是不正常的行为。”

除自己开办公司外 学生们还互为股东、高管
在金某被警方带走后,今年5月14号,江北新区行政审批局召集包括小强在内的部分学生及家长、辖区街道、税务、人民银行等部门共同开会协调,试图通过强行注销企业注册登记来解决这一问题。
但在股东无法全部到场、缺少公章、营业执照且涉及公司债权债务不明晰的前提下,强行注销对于多部门都有较大行政风险。直到6月18日小强等学生被刑拘,这些公司企业登记仍未注销。
“如果涉及公司有债务,注销的风险会更大。”江北新区中国人民银行工作人员表示,一旦这些公司存在抵押、借贷等行为,而对公账户又被强行注销,金融管理行政部门将被追责。
对此,江苏三法律师事务所倪杰律师表示,目前涉事学生和家长能够努力的首先是注销相关企业的登记,避免企业存续期间继续从事违法犯罪行为,然后积极配合办案警方查清事实,找出真正实施犯罪的责任人。
“让公安机关把事实查清楚,虽然公司实施犯罪了,但是实际上来说,他们这些所谓的法定代表人只是代持股的股东,或者只是名义上的股东,这样将背后操控公司的实际控制人找出来。”

家长告诉记者 部分学生羁押在新乡市看守所
倪杰表示,身份信息至关重要,必须妥善保管,尤其是出借身份注册公司更需谨慎。此次事件涉及的在校学生,对自己的法人身份需要承担的责任没有清醒的认识,用极小的利益换来了巨大的代价。
“一旦身份信息借用出去,那么必然你将承担借用身份信息的不利后果,因为这是你自己处分的。作为企业股东也好,法定代表人也好,要清醒的认识到:公司的违法犯罪涉及到刑事处罚,尤其是涉及到人的刑事处罚时,必然会落到法定代表人身上。”
我苏特稿 记者 俞声扬
版权声明:我们致力于保护作者版权,注重分享,被刊用文章【江苏省南京工程高等职业学校(三个月内疯狂注册公司数百家)】因无法核实真实出处,未能及时与作者取得联系,或有版权异议的,请联系管理员,我们会立即处理! 部分文章是来自自研大数据AI进行生成,内容摘自(百度百科,百度知道,头条百科,中国民法典,刑法,牛津词典,新华词典,汉语词典,国家院校,科普平台)等数据,内容仅供学习参考,不准确地方联系删除处理!;
工作时间:8:00-18:00
客服电话
电子邮件
beimuxi@protonmail.com
扫码二维码
获取最新动态
