承台是桩基础的重要传力构件,其作用是将柱上的荷载传递到群桩上。在已有二、三、四、五桩承台研究的基础上[1-5],本课题继续对六桩厚承台进行试验研究和理论分析,探讨六桩厚承台的破坏形态和传力机理。根据试验观察到的试件破坏形态,提出六桩厚承台合理的传力模型,并用有限元方法对六桩厚承台试验模型进行分析,与试验结果进行对比。
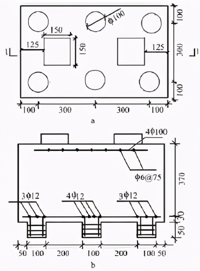
在武汉理工大学结构试验室进行模型率为1:5的六桩厚承台的加载模拟试验。试件详图如图1所示。试件基体混凝土设计强度等级为C30,采用42.5P.0水泥、中砂、10~20mm的碎石拌制浇筑,试件底部钢筋为φ12热轧螺纹钢筋。测定混凝土应变,预埋φ10和φ6的热轧光面圆钢筋,试件成型后室外自然养护。承台上部柱采用截面为150mm×150mm的钢垫块模拟,模型桩高取50mm,与承台同期浇筑。承台底部纵向钢筋布置分为双向钢筋网和桩顶范围内带状布筋两种形式。试件制作时,预留150mm×150mm×150mm混凝土立方体试块,与承台试件同期自然养护,以测定试件混凝土的立方体抗压强度标准值。本次试验共制作相同尺寸试件3个,详细参数见表1。
图1 六桩厚承台试件 Fig.1 Dimension of thick six-pile cap specimens
试验系统由加载装置、应变测量装置和数据采集装置组成。在承台底部纵筋及桩与柱连线范围内预埋钢筋上贴有电阻应变片,应变片布置见图2,以测定加载过程中钢筋和混凝土的应变值大小,其数据由应变仪接计算机采集输出。试验采用逐级加载方式,每级荷载增量为预估破坏荷载的10%~15%,临近破坏时减半,每级加载后持荷4~5min,后进行观测、读数。试验实测参数与部分试验结果见表1。
图2 CT6 -1 -1 应变片布置 Fig.2 Strain gauge scheme of CT6 -1-1
a-CT6-1-1平面底部配筋(集中分布);b-CT6-1-1斜压杆应变片布置;c-1-1剖面
当加载至开裂荷载,首先在承台短边侧面中部出现一条腹剪斜裂缝,这是由于厚承台的剪跨比一般较小,在弯、剪共同作用下,承台侧面中部的主拉应力先超过混凝土的抗拉强度所致,表现出典型的斜压破坏特征,而未首先出现通常薄承台的弯曲竖向裂缝。随着荷载的增加,承台挠度不断增大,在荷载—挠度(P-Δ)关系曲线上出现第一个转折点,斜裂缝宽度也不断加大,并向上、向下延伸,随后出现分支;达到极限荷载Pu的70%时,裂缝扩展至承台顶部,形成明显的八字形斜裂缝。当加载接近极限荷载Pu时,在承台顶部柱的根部以及承台底部桩的根部附近延伸出多条横向和纵向裂缝,并逐渐在柱间和桩间贯通,这些裂缝是由于受荷后期柱及各桩对承台的冲切作用造成的。当达到极限荷载时,承台被这些主要裂缝分成相互联系的几个块体,由钢筋拉结,破坏后的承台裂缝分布形态如图3所示。
图3 六桩厚承台试件破坏后裂缝分布示意 Fig.3 Schematic crack patterns of specimens at the test end
通过试验得到的P—Δ关系曲线(见图4),对照钢筋混凝土构件各种破坏类型的典型P—Δ关系曲线[2,3](如图5所示,其中,A点表示开裂荷载,B点表示临界荷载,C点表示破坏荷载)可以看出,六桩厚承台的破坏形态介于冲切与弯剪破坏之间,属脆性破坏,延性较差,后期变形能力不足。
从表1和图4还可以发现,在配筋率相同的条件下,承台底部桩径范围内的带状布筋可提高承台的极限承载力,提高幅度在10%左右。另外,对于同是均布配筋的CT6—1—2和CT6—1—3,在柱与桩连线间设置了钢筋斜压杆的CT6—1—2,其开裂荷载较未设钢筋斜压杆的CT6—1—3提高了50%极限荷载也有一定的提高。由于本试验设置钢筋斜压杆的目的是为了便于粘贴应变片以测量柱与桩连线间混凝土的应变值,并未在所有柱与桩的连线上设置钢筋斜压杆形成完整的空间桁架受力体系,因此极限承载力的提高幅度并不大。但该试验现象说明,柱与桩的连线上的钢筋斜压杆分担了一部分从上部柱传下来的压力,并有效延缓了裂缝的出现。
1 -CT6 -1 -1 ;2-CT6 -1 -2 ;3-CT6 -1-3 图4 试件荷载—挠度曲线 Fig.4 Load-deflection curves of specimens
图5 各种破坏类型的荷载 -挠度曲线 Fig.5 Typical load-deflection curves of various failure types
为证实厚承台的空间传力模式,本试验在试件桩与柱连线上,桩径宽度范围内预埋一组构造钢筋(如图2所示),用来测量桩、柱连线周围混凝土的应变值大小,从而分析厚承台内部混凝土的应力分布特点和力的传递情况,考察在厚承台内部桩与柱连线周围混凝土是否形成一受压杆。
应变片测点21~测点24和测点26~测点29的应变值在加荷至1500kN以前均为负值,即由上述应变片所测得的桩与柱的连线范围内混凝土横断面上的应力在接近极限荷载前均为压应力。从图7可以看出,沿钢筋纵向布置的应变片的应变值也均为负值,表明沿预埋钢筋纵向的混凝土应力也为压应力。另外,由后面有限元分析得到的主应力分布云图(见图14a)可看出,桩与柱连线范围内的混凝土应力值是此范围外混凝土应力值的3倍左右,说明在桩与柱连线范围外的混凝土所承担的压力相对较小,几乎可以忽略。上述结果表明,由上部柱传递下来的压力主要由桩与柱连线范围内的混凝土承担,即厚承台内部桩与柱连线范围内的混凝土可以看作传力模型中的压杆。
1 -21 ;2-22 ;3-23 ;4-24 ;5-26 ;6-27;7-28 ;8-29 图 6 CT6 -1 -1 桩 、柱连线上混凝土横向测点荷载 -应变曲线
1-11 ;2-14 ;3-17 ;4-12 ;5-15;6-18 图 7 CT6 -1 -1 桩 、柱连线上混凝土纵向测点荷载 -应变曲线
从图8所示承台底部钢筋部分测点的荷载-应变曲线可以看出(测点布置见图2),开裂前,承台底部钢筋在垂直钢筋顺长方向的应变值基本一致(测点44和测点46,测点43和测点45),说明在承台受力初始阶段,底部两桩之间的钢筋带沿宽度方向受拉均匀;开裂后,钢筋跨中测点的应变仍基本一致(测点44和测点46),但靠近桩支座处测点在接近极限荷载时的应变出现一定差异(测点43和测点45),而且荷载越大,差异也越大,这与接近极限荷载时角桩朝着柱方向的内侧最易发生冲切破坏有关,冲切裂缝的出现造成此处内侧钢筋测点(测点45)的应变值迅速增长。对同一根钢筋,靠近桩外侧的钢筋以两邻桩中间位置处的应变为最大且向两侧递减(测点43和测点44,测点39和测点40),但靠近桩轴处的钢筋沿其顺长方向测点的荷载-应变曲线形状相似(测点45和测点46,测点41和测点42),同一级荷载下的应变值大小接近,应变值递增的速率在加载全过程中也几乎保持一致,表现出非常明显的类似桁架的拉杆作用。上述试验结果表明,可将承台底部桩径范围内布置的双向带状钢筋在厚承台整个受力过程中近似看作拉杆。
1 -44 ;2-46 ;3-43 ;4-45;5-39 ;6-40 ;7-41;8-42 图 8 试件 CT6 -1-1 底部钢筋部分测点的荷载 -应变曲线
本文运用ANSYS有限元分析软件建立六桩厚承台的有限元计算模型,混凝土选用ANSYS单元库中的八节点六面体单元Solid65,钢筋选用Link8杆单元。混凝土材料采用多线性随动硬化准则(MKIN),混凝土的破坏准则采用Solid65提供的W-W五参数强度模型[6]。本次计算,以带状布筋的六桩厚承台试件CT6-1-1作为算例,对厚承台内部混凝土和钢筋的应力进行分析,结合试验结果,建立合理的传力模型,其有限元部分计算结果如图9~图16所示。
从图9可以看出,有限元计算与试验得到的实际荷载—位移曲线基本吻合,说明有限元计算结果是可靠的。CT6—1—1与CT6—1—2的曲线在开裂前均吻合很好;开裂后,由于有限元建模时未考虑钢筋与混凝土间的粘结滑移作用,有限元模型的刚度退化速度明显快于试件的实际刚度退化速度,尤其是均布配筋的CT6—1—2,其试验曲线与计算曲线在开裂后出现较大差异。
图10、图11为有限元计算得到的裂缝分布图,与试验所得的裂缝分布形态基本一致。裂缝首先出现在承台短边侧面中部,向上扩展至柱的下部,向下扩展至桩顶,呈八字形。此裂缝主要是承台受弯剪共同作用引起的。随着荷载的增加,在承台底部桩的内侧长边方向出现裂缝,裂缝呈八字形向上扩展,此裂缝主要是由于承台承受弯曲和桩冲切作用引起。两批裂缝最后把承台分成几个相互联系的块体,块体之间通过承台底部纵向钢筋连接。
图9 CT6-1-1和CT6-1-2的荷载-位移曲线 试验与计算结果对比
1-CT6-1-1试验结果;2-CT6-1-1有限元计算结果;
3-CT6-1-2试验结果;4-CT6-1-2有限元计算结果
图 10 试件CT6-1-1第一批裂缝 Fig . 10First_stage crack patterns of CT6-1-1
图 11 试件 CT6 -1-1 第二批裂缝
由应力云图12、图13可以发现,在承台柱的下部和桩的上部分别形成了一定范围的压应力集中区域。桩顶部的压应力区集中在桩径范围内,由此可以推断传递压力的拱杆作用范围约为1倍桩径范围内,这为建立承载力计算模型提供了依据;桩下的压应力集中区域表明,承台顶部可能发生沿柱周边的局部受压破坏。
图 12试件CT6-1-1边桩竖向剖面最小主应力图 MPa
图 13 试件CT6-1-1柱下25mm处混凝土最小主应力 MPa
图14a为承台连接角桩与边桩的对角纵剖面上混凝土的最小主应力(压应力)分布云图。由图14a可以看出,六桩厚承台内部的主压应力流集中在两柱与相邻四桩的连线范围内,这与前述试验测点测得的压应变分析结果也基本一致,说明在柱与桩连线范围内的混凝土形成了承台内部的受压拱杆,而且承台厚度越大,混凝土拱的作用也越明显。由图15所示的底部钢筋应力分布图可以看出,承台破坏时钢筋应力较小,远未达到钢筋的屈服强度,不再符合受弯构件的受力特征,因此,结合试验结果,可近似将承台底部的纵向钢筋简化成应力分布均匀的受拉杆,同柱与桩连线范围内的混凝土受压拱杆共同形成一空间双拉杆拱传力体系,其简化力学模型如图16所示。
a-最小主应力;b-最大主应力 图 14试件CT6-1-角桩-边桩对角纵剖面主应力分布云图MPa
图 15 试件CT6-1-1底部钢筋的应力分布 MPa
图 16 双柱六桩厚承台空间双拉杆拱传力模型
根据该简化力学模型,厚承台的破坏有两种可能:1)拱体的混凝土压碎或劈裂;2)拉杆的受拉破坏。图14b为承台连接角桩与边桩的对角纵剖面上混凝土的最大主应力(拉应力)分布。由图14b可以发现,承台内部拱杆范围内出现了较大的拉应力,并超过了混凝土的极限抗拉强度,可以推测,六桩厚承台的破坏是由于混凝土受压拱杆的劈裂破坏引起的。图15中,承台底部钢筋应力最大值为119MPa,远未达到钢筋的屈服应力210MPa,说明不会发生拉杆的受拉破坏。另外,从图15还可以看出,承台CT6-1-1的长向钢筋应力远小于短向钢筋应力。
由此可以预见,六桩厚承台底部钢筋应力分布的不均匀性受承台设计尺寸和剪跨比不同的影响,纵、横桩距的尺寸差距越大,越可能发生部分底部钢筋先受拉屈服的现象。因此,在进行六桩厚承台设计时,应充分考虑这一点,进行合理的承台尺寸设计和钢筋配置。
1)六桩厚承台在开裂前受弯、剪共同作用,开裂后则主要受桩的冲切作用,其破坏形态主要表现为斜压破坏和冲切破坏特征。
2)试验结果和有限元计算结果均表明,双柱与各桩连线范围内的混凝土形成空间受压拱体,主要传递压力,而承台底部的纵向钢筋带则形成连接拱底的拉杆,主要传递拉力。双柱下两个混凝土受压拱体与底部钢筋拉杆共同构成双柱六桩厚承台的空间双拉杆拱传力模型。
3)厚承台的破坏通常是以承台内部混凝土传力拱的突然破坏为标志的,传力拱的破坏是由于桩的冲切作用造成拱体混凝土的劈裂破坏。
4)厚承台底部配筋方式的不同对承台的极限承载力有较大影响。在配筋率相同的条件下,按空间拉杆拱传力模型进行带状布筋,较承台设计中常用的均布配筋可平均提高六桩厚承台极限承载力10%左右。在柱、桩连线上设置钢筋斜压杆,可提高厚承台的开裂荷载和极限荷载,有效延缓裂缝的出现。
5)在进行六桩厚承台设计时,应充分考虑承台尺寸和剪跨比对底部钢筋应力分布不均匀性的影响,进行合理的承台尺寸设计和钢筋配置。
参考文献
1李继样,许成样,谷倩.钢纤维混凝土四桩厚承台受冲切承载力研究.筑结构学报,1999,20(1):59-64
2谷倩,彭波,彭少民,等.钢纤维混凝土桩基厚承台空间拉杆拱传力模型的建立.建筑结构,2003,33(5):19-24
3孙成访.钢纤维混凝土二桩、五桩厚承台试验研究:[博士学位论文].武汉:汉理工大学,2002
4童敏,彭少民.桩厚承台传力机埋试验分析.武汉理工大学学报,2004,26(11):42-45
5谷倩,杨双双,朱向阳,张元元.配筋形式对四桩厚承台受力性能影响的研究.华中科技大学学报,2006,23(4):44-47
6陆新征,江见鲸ANSYSSolid65单元分析混凝土组合构件复杂应力.筑结构,2003,33(6)22-24
本文作者:谷倩、朱向阳、杨双双、彭少民
版权声明:我们致力于保护作者版权,注重分享,被刊用文章【武汉理工大学学报(六桩厚承台传力模式试验和有限元分析)】因无法核实真实出处,未能及时与作者取得联系,或有版权异议的,请联系管理员,我们会立即处理! 部分文章是来自自研大数据AI进行生成,内容摘自(百度百科,百度知道,头条百科,中国民法典,刑法,牛津词典,新华词典,汉语词典,国家院校,科普平台)等数据,内容仅供学习参考,不准确地方联系删除处理!;
工作时间:8:00-18:00
客服电话
电子邮件
beimuxi@protonmail.com
扫码二维码
获取最新动态
