高考录取到985、211大学,是无数高考学子奋斗的目标。
那么陕西的高三考生需要考到多少分才能录取到心仪的大学呢?
小编为大家奉上陕西省2021年高考985、211大学(文科)的录取分数及位次,供大家参考,预祝同学们早日成功拿到录取通知书!
专业术语说明:
985:1998年5月,中央领导在北京大学百年校庆大会上提出“为了实现现代化,我国要有若干所具有世界先进水平的一流大学”。为此,教育部自1999年起分别与部分省、市地方政府签订合作协议,分批将39所国内知名高校列入国家跨世纪重点建设的高水平大学名单,由国家、地方以及相关部委共同出资建设。
211: “211工程”可以简单地表述为中国政府面向21世纪,重点建设100所左右的高等学校和重点学科的建设工程。“211工程”建设取得了令人瞩目的成就,产生了一批标志性的成果。“211工程”高校也成为了中国一流高校的代名词,是广大考生求学的理想之选。截至2015年底,进入“211工程”名单的高校共115所。
最低分:当年陕西省本一(或本二)批被某大学录取的所有考生中的最低分;
最低分位次:最低分对应的省排位。
我们先来看一看
注:数据来源于陕西省教育考试院官方公布
根据数据可知,2021年陕西省文科本一批招生的大学中,985大学录取分最低的是西北农林科技大学,录取最低分564分,省内排位3325位。
211大学中,录取分最低的是西藏大学,录取最低分485分,省内排位18021位。(注意,西藏大学是唯一一所在本二批招生的211大学)
值得注意的是,2021年多所优质211大学分数陡降。
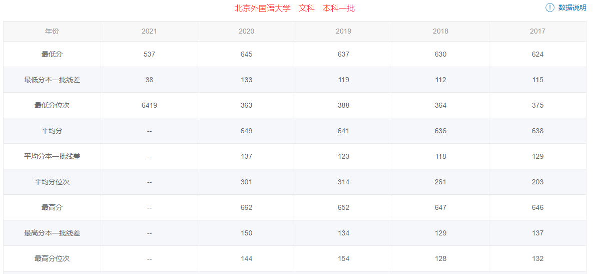
比如,北京外国语大学2021年最低分为537分,跟2020年相比下降了108分(2020年最低分为645分)
南京农业大学2021年最低分为516分,跟2020相比下降了68分(2020年最低分为584分);
华北电力大学(北京)2021年最低分为544分,跟2020年相比下降了68分(2020年最低分为612分)
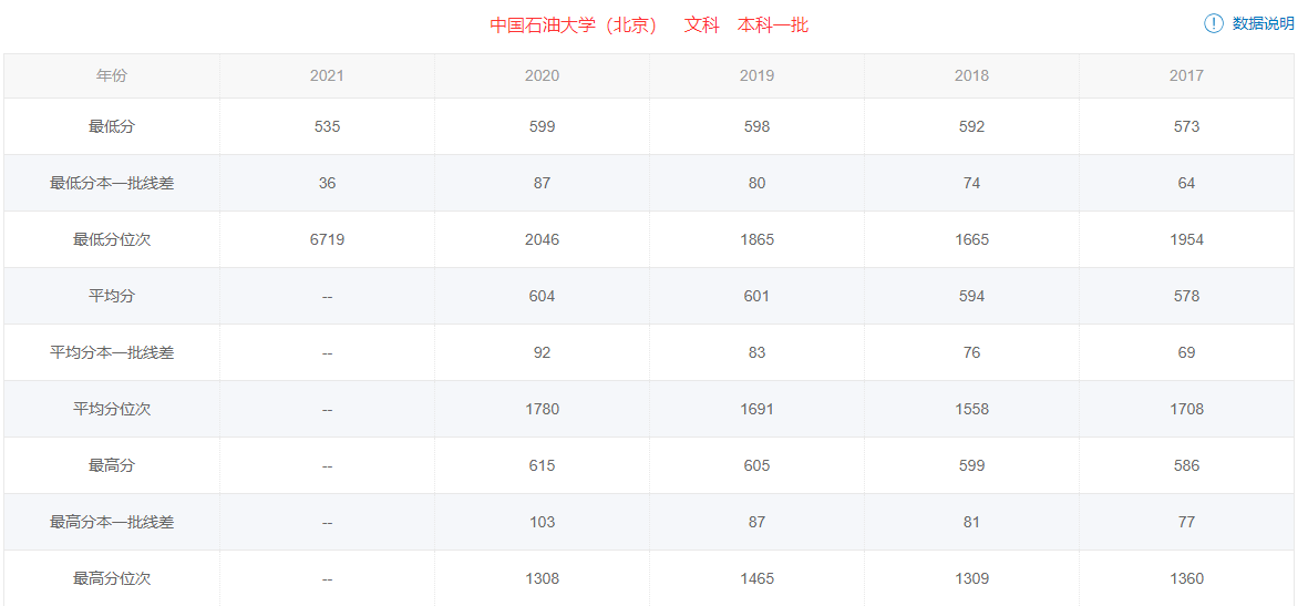
中国石油大学(北京)2021年最低分为535分,跟2020年相比下降了64分(2020年最低分为599分)
所以,招生计划数很少的大学,录取收分变数相对较大。在今年高考志愿的填报中,大家可关注类似情况,争取更多捡漏机会!
最后提醒:填报高考志愿不能只看一年的录取数据,至少需要查看近三年的录取数据,并且还要参考各专业的实际录取分及位次。
更多录取数据可在金榜路系统中使用“录取数据”功能查看
点击“录取数据”——点“筛选”——选择实力标签985、211——点击“西安交通大学”查看专业实录分
版权声明:我们致力于保护作者版权,注重分享,被刊用文章【陕西高考文综2017(陕西高考多少分能上985)】因无法核实真实出处,未能及时与作者取得联系,或有版权异议的,请联系管理员,我们会立即处理! 部分文章是来自自研大数据AI进行生成,内容摘自(百度百科,百度知道,头条百科,中国民法典,刑法,牛津词典,新华词典,汉语词典,国家院校,科普平台)等数据,内容仅供学习参考,不准确地方联系删除处理!;
工作时间:8:00-18:00
客服电话
电子邮件
beimuxi@protonmail.com
扫码二维码
获取最新动态
