今天给大家免费分享一个超级实用的企业真账实训练习系统,包含有商业、工业、建筑地产、服务业等近40个行业的全盘账实操,紧扣各行业会计实务工作,全面系统地训练各行业会计实务的各个层面,注重会计处理和实务操作,针对性强。
系统以各行业企业真实的业务内容为基础,你可以亲自建账-做凭证-登账簿(总账、明细账、科目余额表、科目汇总表)-编报表(利润表、资产负债表)-报税,让你对各行业企业的真实业务流程、业务实例一览无遗。做账报税一起学会并熟练操作!
填凭证:
凭证管理:
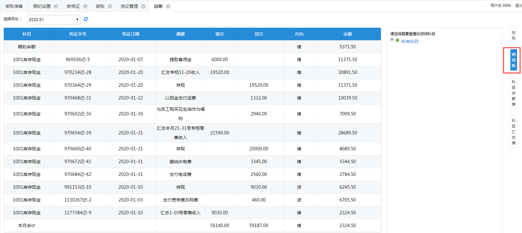
总账:
明细账:
科目余额表:
科目汇总表:
利润表:
资产负债表:
想要领取各行业企业真账实训练习系统免费操作权限及PPT教程
下方评论区留言:想要领取操作。并转发收藏
然后点击小编头像,私我回复:资料。即可免费领取!
版权声明:我们致力于保护作者版权,注重分享,被刊用文章【会计信息系统实验(34个行业真账实训练习系统)】因无法核实真实出处,未能及时与作者取得联系,或有版权异议的,请联系管理员,我们会立即处理! 部分文章是来自自研大数据AI进行生成,内容摘自(百度百科,百度知道,头条百科,中国民法典,刑法,牛津词典,新华词典,汉语词典,国家院校,科普平台)等数据,内容仅供学习参考,不准确地方联系删除处理!;
工作时间:8:00-18:00
客服电话
电子邮件
beimuxi@protonmail.com
扫码二维码
获取最新动态
