今天是香港回归20周年的日子。一国两制,港人治港,高度自治的制度创新,完美的解决了重大的历史课题。在全国人民欢庆之时,山宗合龙,为大家梳理一下那些“香港”商标,那些含有“香港”二字的商标。
根据商标法和商标审查标准,含有县以上城市的字样的图样,注册商标有很多限制性规定。那今天要提的这些“香港”商标,有如何呢?
香港宽频、香港周六福、香港理工大学,这类商标,有多年的使用历史,有固定的稳定的商标图样,有广泛的受众认可度,或与申请主体字号相同,也在香港本地注册了商标。他们在2017年2-3月提起了商标注册申请,相信他们虽然含有"x香港”字样,但注册成功的可能性非常大。
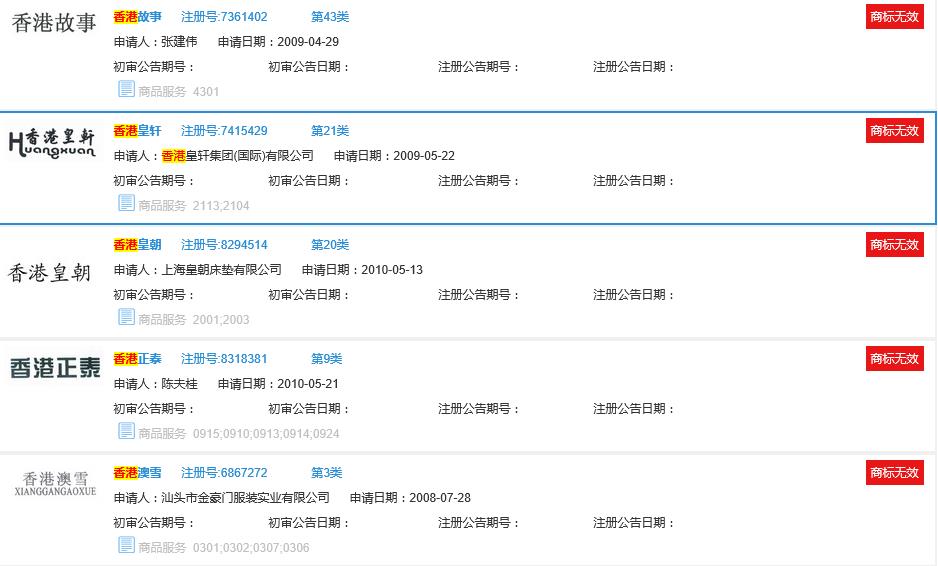
山宗合龙查询商标系统,还发现了香港海马、香港汉堡王、香港护元堂、香港御膳厨、香港卫视影视艺术学院等商标,他们的申请主体,是个人或者非香港组织,按照惯例和审查标准判断,这类商标的注册可能性非常低,这容易误导公众错误地认知产品和服务提供者。
那么多“香港”商标,明明知道要被驳回,为何还要注册?一些商标代理服务商没有履行商标检索义务,也没有提出专业的意见供客户参考,而是“拿钱办事。
山宗合龙原创及编录
版权声明:我们致力于保护作者版权,注重分享,被刊用文章【香港商标(香港回归20年之际)】因无法核实真实出处,未能及时与作者取得联系,或有版权异议的,请联系管理员,我们会立即处理! 部分文章是来自自研大数据AI进行生成,内容摘自(百度百科,百度知道,头条百科,中国民法典,刑法,牛津词典,新华词典,汉语词典,国家院校,科普平台)等数据,内容仅供学习参考,不准确地方联系删除处理!;
工作时间:8:00-18:00
客服电话
电子邮件
beimuxi@protonmail.com
扫码二维码
获取最新动态
