最近在后台经常听见这样的疑问,初级会计证书为什么还不发?高顿君想说,考完试之后,各地区的审核时间不同,而且初级会计考试人数众多,各项后续工作也是较多的,所以大家安心等待吧~
19年的证书领取时间预测
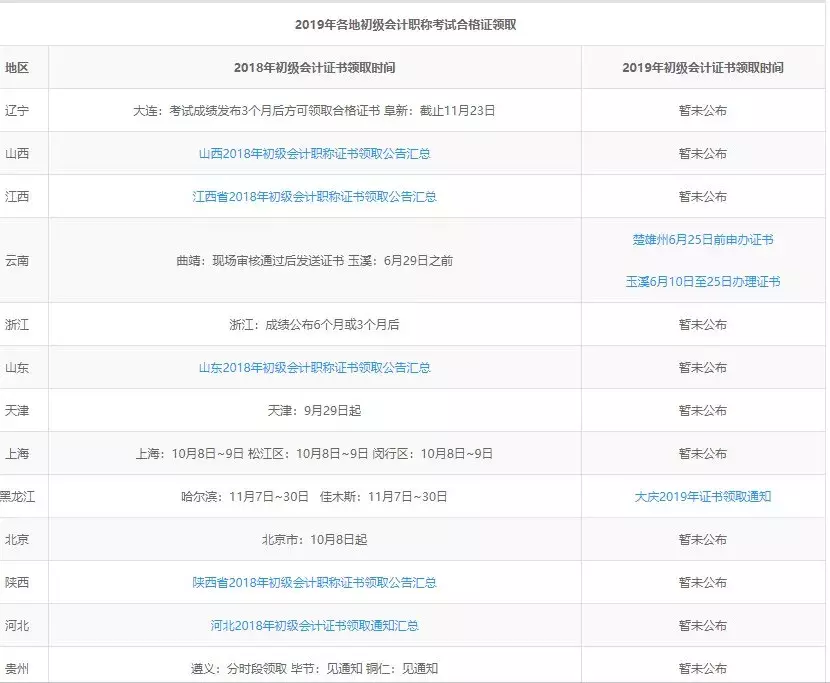
图片来源参考2018年领证时间:


江苏淮安:预计2019年12月
福建省:预计2019年9月
天津市:预计2019年9月
湖南省:预计2019年10月
浙江省:预计四个月后
天津:

预计11月底前可以审核发证初级资格证书,携带报名信息表、身份证、学历证书办理资格审核及领证手续。今年资格审核与发证同步进行。
内蒙古:
6月5号,人社部发出通知,内蒙古地区从今年起全面推行职称“电子证书”,进一步提高职称信息化管理水平。在去年对高级职称推行“电子证书”的基础上,今年内蒙古将职称“电子证书”发放范围扩展到高、中、初级职称,评审通过人员可登录内蒙古人才信息库查询、打印个人职称“电子证书”。

广东:
2019年1月10日,广东省人社厅印发《关于启用广东省职称电子证书的通知》。提出:自2019年1月起,启用广东省职称电子证书。

文件重点:
1、已经取得职称人员,登录职称系统,在“网上业务”→“个人信息”→“照片维护”上传本人电子照片。电子照片可多次上传。
2、生成职称电子证书时,系统读取即时照片库信息作为证书照片,生成证书后,证书照片无法更改。
广东省专业技术人才职称管理系统:
http://www.gdhrss.gov.cn/gdweb/zyjsrc
江西:
2019年1月18日,江西省人力资源和社会保障厅印发《关于启用专业技术资格电子证书和电子评审表的通知》。

文件重点:
1、从2019年起通过全省统一考试取得专业技术资格的人员,发放电子证书。
2、可登录“江西省职称申报评审系统”自行免费下载打印本人专业技术资格电子证书。
3、原持有的纸质江西省专业技术资格证书继续有效,无需更换。
4、从2019年7月1日起遗失的往年发放的纸质证书,补发电子证书,不再补办纸质证书。
5、电子证书的任何形式的电子再转换版本,不具备同等法律效力。
山东:
2018年12月,山东省人力资源社会保障厅印发《山东省职称证书管理办法》,提出:高级职称实行电子证书,不再统一发放纸质证书。

文件重点:
1、加盖核准公布部门电子印章的职称电子证书,与职称纸质证书具有同等效力。
2、高、中级职称证书实行全省统一规则编号,一证一号。
3、专业技术人员根据需要,使用“山东省专业技术人员管理服务平台”自行打印。
2019年初级会计证书领取所需材料
因各地的初级会计考试管理要求不同,领证时间和需提供的材料也不尽相同,以下为往年初级会计证书领取所需材料,仅供大家参考。
所需资料:
(一)合格成绩单:考试成绩单,可能一些地方不需要成绩单,各位考生可以准备上一份,有备无患。
(二)毕业证:考生本人具备报名资格的学历(或学位)证书原件。部分部门还要求提供复印件,可以提前准备好,以备不时之需。
(三)身份证:考生本人有效身份证件原件(委托代领需同时提供代领人有效身份证件原件和复印件一份)
(四)照片:近期正面免冠同底彩色照片,一寸和二寸照片(张数各省市也有差异,具体以当地管理部门为准)。
(五)考试合格登记表:用钢笔或签字笔填写《资格考试合格人员登记表》一式二份(具体表样下载及张数会在当地证书通知上会注明)。
(六)工本费用:有些地方会收取办理证书的工本费用,可以随身带些零钱。
上述材料领取证书的时候可能不需要全部携带,具要以当地财政局的信息为准。
注意!这几种人无法领取初级正式
1、学历材料不合格,无法取得证书。
财政部下发征求意见稿,意见稿中已经明确初级职称必须“具备国家教育部门认可的高中毕业(含高中、中专、职高、技校)及以上学历。”
除了学历,还需要初级考后,审核基本资料。
基本资料:身份证或军官证(香港、澳门居民应提供本人身份证明,台湾居民应提交《台湾居民来往大陆通行证》);
报考人员报名时所使用照片必须是本人正面免冠证件照,如使用不符合规定照片引发的不良后果概由报考人员自行负责。
2、信息采集与证书领取挂钩
近日,海南省财政厅官宣了一则会计人员信息采集系统个人信息采集、修改等功能的通知中,明确了会计信息采集与会计人员证书领取,会计继续教育息息相关!
此外,江苏宿迁地区明确规定:2019年参加继续教育前需要进行会计人员信息采集。
3、无职业道德,不能获得初级职称
遵守《中华人民共和国会计法》等法律法规和国家统一的会计制度,具备良好的职业道德。
文件表明:把职业道德放在评价的首位。对违法乱纪、弄虚作假、剽窃他人成果等行为,在职称评价过程中实行“一票否决制”,通过弄虚作假取得的职称一律撤销。
今后对会计人的要求更加严格,引导会计人员遵纪守法、勤勉尽责、参与管理、强化服务,要求会计人员坚持客观公正、诚实守信、廉洁自律、不做假账,不断提高会计人员专业胜任能力和职业操守。
通知说的十分明确,会计人必须坚守诚信,绝对不允许做假账、虚开发票、帮助企业逃税漏税,将会计职业道德作为会计人员继续教育的必修内容,大力弘扬会计诚信理念,不断提升会计人员诚信素养。
版权声明:我们致力于保护作者版权,注重分享,被刊用文章【山东初级会计(初级会计证书为何迟迟不发)】因无法核实真实出处,未能及时与作者取得联系,或有版权异议的,请联系管理员,我们会立即处理! 部分文章是来自自研大数据AI进行生成,内容摘自(百度百科,百度知道,头条百科,中国民法典,刑法,牛津词典,新华词典,汉语词典,国家院校,科普平台)等数据,内容仅供学习参考,不准确地方联系删除处理!;
工作时间:8:00-18:00
客服电话
电子邮件
beimuxi@protonmail.com
扫码二维码
获取最新动态
